|
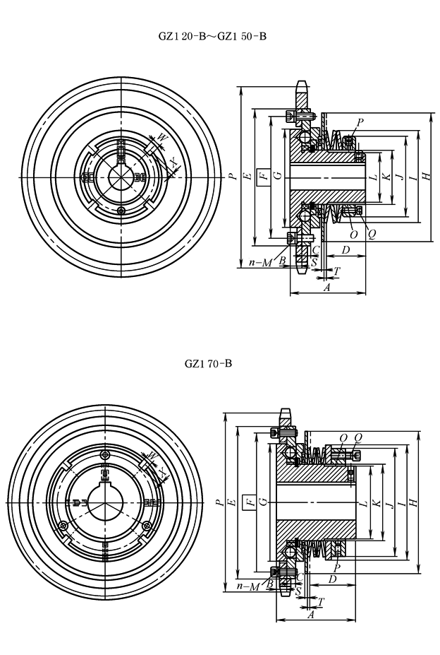
GZ1-B型转矩限制器 |
||||||||||||||||||||||||||
|
|
||||||||||||||||||||||||||
|
型号 |
转矩范围 /N·m |
孔径 /mm |
最高转速 /r·min-1 |
质量/kg |
||||||||||||||||||||||
|
GZ1 20-HB |
9.8~44 |
8~20 |
700 |
1.6 |
||||||||||||||||||||||
|
GZ1 30-LB |
20~54 |
12~30 |
500 |
3.2 |
||||||||||||||||||||||
|
GZ1 30-HB |
54~167 |
|||||||||||||||||||||||||
|
GZ1 50-LB |
69~147 |
22~50 |
300 |
7.9 |
||||||||||||||||||||||
|
GZ1 50-MB |
137~412 |
|||||||||||||||||||||||||
|
GZ1 50-HB |
196~539 |
|||||||||||||||||||||||||
|
GZ1 70-HB |
294~1080 |
32~70 |
160 |
25.0 |
||||||||||||||||||||||
|
型号 |
链轮节矩 P/mm |
链轮齿数 z |
A |
B |
C |
D |
E (h7) |
F P.C.D |
G |
H |
I |
J |
K |
|||||||||||||
|
mm |
||||||||||||||||||||||||||
|
GZ1 20-HB |
12.7 |
26 |
47 |
7.5 |
5.7 |
25 |
90 |
78 |
62 |
82 |
54 |
48 |
32 |
|||||||||||||
|
GZ1 30-LB |
15.875 |
26 |
60 |
9.5 |
7 |
33 |
113 |
100 |
82 |
106 |
75 |
65 |
45 |
|||||||||||||
|
GZ1 30-HB |
||||||||||||||||||||||||||
|
GZ1 50-LB |
19.05 |
30 |
81 |
14.5 |
8.5 |
44.8 |
160 |
142 |
122 |
150 |
166.7 |
98 |
75 |
|||||||||||||
|
GZ1 50-MB |
||||||||||||||||||||||||||
|
GZ1 50-HB |
||||||||||||||||||||||||||
|
GZ1 70-HB |
25.40 |
32 |
110 |
14.5 |
12 |
68.5 |
220 |
200 |
170 |
205 |
166 |
157 |
110 |
|||||||||||||
|
型号 |
L |
M |
n |
O |
P |
Q |
S |
T |
W |
X |
||||||||||||||||
|
mm |
||||||||||||||||||||||||||
|
GZ1 20-HB |
30 |
M5 |
4 |
M32×1.5 |
M5×6 |
M4×8 |
2 |
1.8 |
5 |
2 |
||||||||||||||||
|
GZ1 30-LB |
42.5 |
M6 |
6 |
M45×1.5 |
M5×6 |
M4×10 |
2 |
2 |
6 |
2.5 |
||||||||||||||||
|
GZ1 30-HB |
||||||||||||||||||||||||||
|
GZ1 50-LB |
70 |
M8 |
6 |
M75×2 |
M5×10 |
M4×14 |
3 |
2.7 |
8 |
3.5 |
||||||||||||||||
|
GZ1 50-MB |
||||||||||||||||||||||||||
|
GZ1 50-HB |
||||||||||||||||||||||||||
|
GZ1 70-HB |
106 |
M10 |
6 |
M110×2 |
M5×10 |
M10×28 |
3 |
3.3 |
— |
— |
||||||||||||||||
|
注:1.本产品由北京古德高机电技术有限公司生产。 2.内孔中的键槽按用户要求加工。 |
||||||||||||||||||||||||||

