|
GZ1型转矩限制器 |
||||||||||||||||||||
|
|
||||||||||||||||||||
|
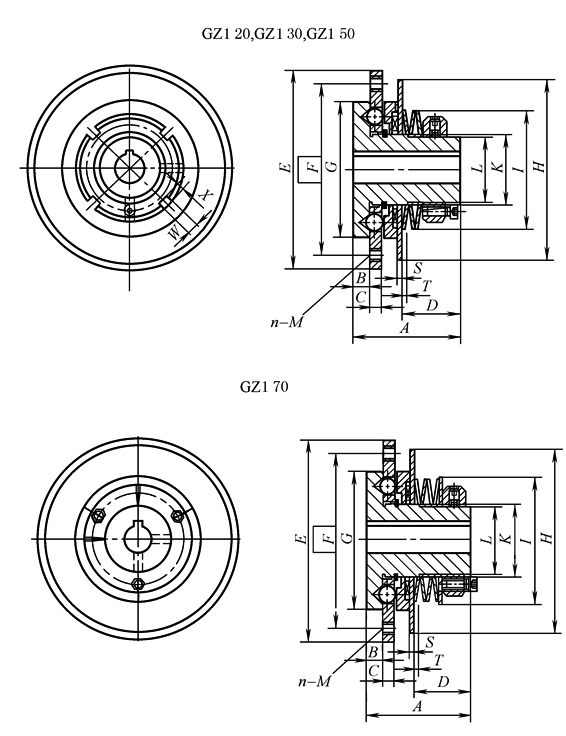
型号 |
转矩范围 /N·m |
孔径 /mm |
最高转速 /r·min-1 |
飞轮矩GD2 /N·m2 |
质量 /kg |
|||||||||||||||
|
GZ1 20-H |
9.8~44 |
8~20 |
700 |
2.3 |
0.9 |
|||||||||||||||
|
GZ1 30-L |
20~54 |
12~30 |
500 |
7.9 |
2.0 |
|||||||||||||||
|
GZ1 30-H |
54~167 |
|||||||||||||||||||
|
GZ1 50-L |
69~147 |
22~50 |
300 |
48.4 |
5.9 |
|||||||||||||||
|
GZ1 50-M |
137~412 |
|||||||||||||||||||
|
GZ1 50-H |
196~539 |
|||||||||||||||||||
|
GZ1 70-H |
294~1080 |
32~70 |
160 |
252 |
17.0 |
|||||||||||||||
|
型号 |
A |
B |
C |
D |
E (h7) |
F |
G |
H |
I |
K |
L |
S |
T |
W |
X |
n-M |
||||
|
mm |
||||||||||||||||||||
|
GZ1 20-H |
47 |
7.5 |
5.7 |
25 |
90 |
78 |
62 |
82 |
54 |
32 |
30 |
2 |
1.8 |
5 |
2 |
4-M5 |
||||
|
GZ1 30-L |
60 |
9.5 |
7 |
33 |
113 |
100 |
82 |
106 |
75 |
45 |
42.5 |
2 |
2 |
6 |
2.5 |
6-M6 |
||||
|
GZ1 30-H |
||||||||||||||||||||
|
GZ1 50-L |
81 |
14.5 |
8.5 |
44.8 |
160 |
142 |
122 |
150 |
116 |
75 |
70 |
2.7 |
2.7 |
8 |
3.5 |
6-M8 |
||||
|
GZ1 50-M |
||||||||||||||||||||
|
GZ1 50-H |
||||||||||||||||||||
|
GZ1 70-H |
110 |
14.5 |
12 |
68.5 |
220 |
200 |
170 |
205 |
166 |
110 |
106 |
3.3 |
3.3 |
— |
— |
6-M10 |
||||
|
注:1.本产品由北京古德高机电技术有限公司生产。 2.内孔中的键槽按用户要求加工。 |
||||||||||||||||||||

