|
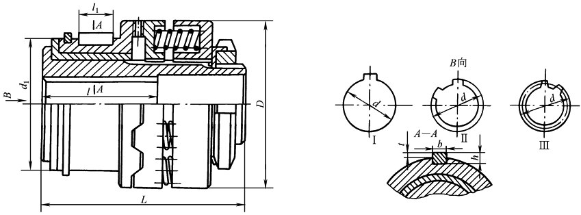
牙嵌安全离合器结构尺寸 mm |
||||||||||||||||
|
|
||||||||||||||||
|
公称转矩 /N·m |
d |
d1 |
D |
L |
l |
l1 |
b |
h |
t |
最大转速 /r·min-1 |
质量 /kg |
|||||
|
Ⅰ型 |
Ⅱ型 |
Ⅲ型 |
Ⅰ型 |
Ⅱ型和Ⅲ型 |
||||||||||||
|
第1系列 |
第2系列 |
|||||||||||||||
|
3.9 |
8 |
— |
— |
— |
32 |
36 |
63 |
20 |
— |
12 |
3 |
3 |
1.8 |
1600 |
0.32 |
|
|
9 |
— |
— |
— |
|||||||||||||
|
10 |
— |
— |
— |
23 |
— |
|||||||||||
|
6.2 |
9 |
— |
— |
— |
38 |
48 |
20 |
— |
14 |
4 |
4 |
2.5 |
1250 |
0.50 |
||
|
10 |
— |
— |
— |
|||||||||||||
|
23 |
— |
|||||||||||||||
|
11 |
— |
— |
— |
|||||||||||||
|
9.8 |
12 |
— |
— |
12 |
48 |
56 |
75 |
30 |
25 |
16 |
5 |
5 |
3.0 |
0.86 |
||
|
14 |
— |
14 |
13 |
|||||||||||||
|
15.7 |
12 |
— |
— |
12 |
80 |
18 |
1000 |
0.90 |
||||||||
|
14 |
— |
14 |
13 |
|||||||||||||
|
16 |
— |
16 |
15 |
40 |
28 |
|||||||||||
|
24.5 |
14 |
— |
14 |
13 |
56 |
71 |
85 |
30 |
25 |
21 |
6 |
6 |
3.5 |
800 |
1.60 |
|
|
16 |
— |
16 |
15 |
40 |
28 |
|||||||||||
|
18 |
— |
— |
17 |
|||||||||||||
|
— |
19 |
— |
— |
|||||||||||||
|
39.2 |
18 |
— |
— |
17 |
56 |
71 |
105 |
40 |
28 |
24 |
6 |
6 |
3.5 |
800 |
1.80 |
|
|
— |
19 |
— |
— |
|||||||||||||
|
20 |
— |
20 |
20 |
50 |
36 |
|||||||||||
|
22 |
— |
22 |
22 |
|||||||||||||
|
61.8 |
20 |
— |
20 |
20 |
65 |
85 |
110 |
50 |
36 |
28 |
8 |
7 |
4.0 |
630 |
2.50 |
|
|
22 |
— |
22 |
22 |
|||||||||||||
|
— |
24 |
— |
— |
|||||||||||||
|
25 |
— |
25 |
25 |
60 |
42 |
|||||||||||
|
981 |
— |
24 |
— |
— |
80 |
100 |
140 |
50 |
36 |
32 |
10 |
8 |
5.0 |
500 |
5.00 |
|
|
25 |
— |
25 |
25 |
60 |
42 |
|||||||||||
|
28 |
— |
28 |
28 |
|||||||||||||
|
— |
30 |
— |
30 |
80 |
58 |
|||||||||||
|
157 |
28 |
— |
28 |
28 |
125 |
160 |
60 |
42 |
36 |
7.50 |
||||||
|
— |
30 |
— |
30 |
80 |
58 |
|||||||||||
|
32 |
— |
32 |
32 |
|||||||||||||
|
245 |
36 |
— |
— |
35 |
90 |
140 |
180 |
42 |
12 |
400 |
10.00 |
|||||
|
— |
38 |
38 |
38 |
|||||||||||||
|
40 |
— |
— |
40 |
110 |
82 |
|||||||||||
|
392 |
— |
38 |
38 |
38 |
105 |
180 |
190 |
80 |
58 |
48 |
14 |
9 |
5.5 |
315 |
16.00 |
|
|
40 |
— |
— |
40 |
110 |
82 |
|||||||||||
|
— |
42 |
42 |
42 |
|||||||||||||
|
45 |
— |
— |
45 |
|||||||||||||
|
— |
48 |
48 |
— |
|||||||||||||

