|
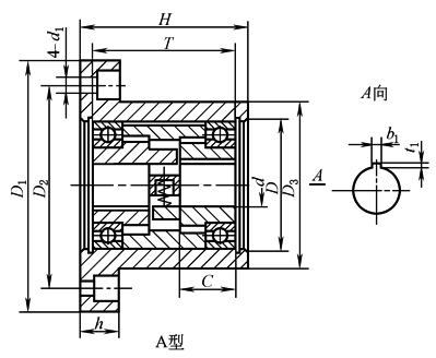
CKS型双向楔块超越离合器(A型) mm |
|||||||||||||
|
CKS型双向楔块超越离合器的一端轴孔接主动轴,另一端轴孔接从动轴。当外环不动,主动轴顺时针或逆时针转动时,从动轴也同步转动,而当从动轴受外转矩的作用时,顺时针和逆时针都不能转动。常与滚珠丝杠副或其他部件配套,作为防止逆转机构,也可以单独使用作为精确定位,传递转矩或切断转矩的传递。用于轻工和起重运输机械等。
|
|||||||||||||
|
型号 |
安装尺寸 |
公称转矩 Tn/N·m |
|||||||||||
|
离合器 |
壳体 |
||||||||||||
|
d |
D |
T |
C |
b1 |
t1 |
D1 |
D2 |
D3 |
H |
h |
d1 |
||
|
CKS70(42)×58-10 |
10 |
32 |
51 |
20 |
3 |
1.4 |
70 |
55 |
42 |
58 |
11 |
6.5 |
20 |
|
CKS75(45)×58-10 |
10 |
35 |
52 |
20 |
3 |
1.4 |
75 |
60 |
45 |
58 |
11 |
6.5 |
20 |
|
CKS75(45)×58-12 |
12 |
35 |
51 |
20 |
4 |
1.8 |
75 |
60 |
45 |
58 |
11 |
6.5 |
20 |
|
CKS75(45)×58-15 |
15 |
35 |
51 |
20 |
3 |
1.4 |
75 |
60 |
45 |
58 |
11 |
6.5 |
20 |
|
CKS95(57)×78-17 |
17 |
47 |
70 |
27 |
5 |
2.3 |
95 |
75 |
57 |
78 |
13 |
8.5 |
50 |
|
CKS105(62)×78-20 |
20 |
52 |
70 |
27 |
6 |
2.8 |
105 |
84 |
62 |
78 |
16 |
10.5 |
100 |
|
CKS115(74)×78-20 |
20 |
62 |
70 |
27 |
6 |
2.8 |
115 |
95 |
74 |
78 |
16 |
10.5 |
100 |
|
CKS115(74)×88-25 |
25 |
62 |
80 |
32 |
8 |
3.3 |
115 |
95 |
74 |
88 |
16 |
10.5 |
120 |
|
CKS132(88)×100-30 |
30 |
75 |
90 |
35 |
8 |
3.3 |
132 |
110 |
88 |
100 |
16 |
10.5 |
150 |
|
CKS145(94)×110-35 |
35 |
80 |
100 |
40 |
10 |
3.3 |
145 |
120 |
94 |
110 |
20 |
13 |
200 |
|
CKS155(102)×110-40 |
40 |
90 |
100 |
40 |
12 |
3.3 |
155 |
128 |
102 |
110 |
20 |
13 |
250 |
|
CKS160(110)×120-45 |
45 |
90 |
110 |
45 |
14 |
3.8 |
160 |
134 |
110 |
120 |
20 |
13 |
300 |
|
注:1.壳体也可根据用户要求确定其形状和尺寸。 2.生产厂家为北京新兴超越离合器有限公司。 |
|||||||||||||

