|
QPL型气动盘式离合器(JB/T 7005—1993) |
||||||||||||||||||||
|
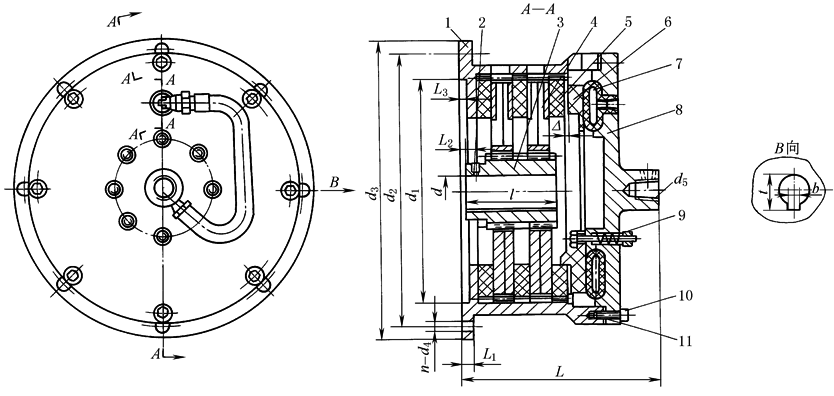
1—壳体;2—紧定螺钉;3—轴套;4—内盘;5—摩擦盘; 6—压板;7—气囊;8—端盖;9—复位弹簧;10—螺钉;11—半圆垫片 标记示例: 额定转矩为4160N·m的离合器,标记为: QPL5离合器 JB/T 7005—1993 |
||||||||||||||||||||
|
表1 mm |
||||||||||||||||||||
|
型号 |
转矩 T /N·m |
许用 转速 np /r·min-1 |
d (H7) |
l |
d1 (H8) |
d2 |
d3 |
d4 |
d5 |
L |
L1 |
L2 |
L3 |
轴套内孔 键槽尺寸 |
n |
转动惯量 /kg·m2 |
质量 /kg |
|||
|
额定 |
动态 |
b |
t |
离合器 |
轴套 和内盘 |
|||||||||||||||
|
QPL1 |
312 |
520 |
1800 |
45 |
82 |
190 |
203 |
220 |
9 |
Rc1/2 |
178 |
6 |
1.5 |
2 |
14 |
48.8 |
4 |
0.138 |
0.0141 |
20 |
|
QPL2 |
660 |
1100 |
1750 |
55 |
82 |
220 |
280 |
310 |
13.5 |
Rc3/4 |
192 |
13 |
6 |
8 |
16 |
59.3 |
6 |
0.357 |
0.0409 |
32 |
|
QPL3 |
1540 |
2560 |
1400 |
63 |
110 |
295 |
375 |
400 |
17.5 |
Rc3/4 |
235 |
16 |
10 |
6 |
18 |
67.4 |
6 |
1.42 |
0.175 |
75 |
|
QPL4 |
2680 |
4420 |
1200 |
80 |
114 |
370 |
445 |
470 |
17.5 |
Rc3/4 |
248 |
16 |
10 |
10 |
22 |
85.4 |
8 |
2.85 |
0.446 |
105 |
|
QPL5 |
4160 |
6900 |
1100 |
100 |
120 |
410 |
510 |
540 |
17.5 |
Rc1 |
260 |
16 |
10 |
10 |
28 |
106.4 |
12 |
5.25 |
0.761 |
148 |
|
QPL6 |
6320 |
10400 |
1000 |
120 |
120 |
470 |
560 |
590 |
17.5 |
Rc1 |
280 |
16 |
10 |
11 |
32 |
127.4 |
12 |
7.60 |
1.216 |
171 |
|
QPL7 |
8600 |
14300 |
900 |
130 |
130 |
540 |
648 |
685 |
17.5 |
Rc1 |
305 |
19 |
8 |
19 |
32 |
137.4 |
12 |
14.60 |
2.385 |
264 |
|
QPL8 |
15100 |
25000 |
700 |
150 |
130 |
620 |
730 |
760 |
17.5 |
Rc11/4 |
315 |
19 |
6 |
19 |
36 |
158.4 |
12 |
26.80 |
3.961 |
365 |
|
QPL9 |
16800 |
28000 |
650 |
160 |
175 |
700 |
800 |
830 |
17.5 |
Rc11/4 |
350 |
19 |
6 |
19 |
40 |
169.4 |
16 |
35.00 |
6.950 |
426 |
|
QPL10 |
32000 |
53000 |
600 |
180 |
180 |
775 |
900 |
940 |
22 |
Rc11/2 |
366 |
19 |
6 |
19 |
45 |
190.4 |
18 |
62.50 |
10.261 |
640 |
|
QPL11 |
49600 |
82000 |
500 |
220 |
230 |
925 |
1065 |
1105 |
22 |
Rc11/2 |
404 |
22 |
5 |
16 |
50 |
231.4 |
18 |
133 |
26.471 |
905 |
|
注:1.动态转矩为离合器的全部传动能力,选用时按照额定转矩直接选用。 2.平键只能传递部分转矩,对于平键不能传递的转矩应由过盈配合传递。 3.表中转矩 T 指气囊进口处压力为0.5MPa时的转矩。 |
||||||||||||||||||||
|
整机装配前应清除各处异物,并用GB 1922中的NY-190溶剂油清洗快速排气阀。各摩擦盘与内盘的接触面积不得小于85%,摩擦盘的磨损性能应符合表2的规定并满足强度、硬度、冲击韧性的要求。 |
||||||||||||||||||||
|
表2 磨 损 性 能 |
||||||||||||||||||||
|
项 目 |
指 标 |
|||||||||||||||||||
|
静摩擦因数 μj |
|
|||||||||||||||||||
|
磨损率10-7cm3/J |
100℃ 150℃ |
≤0.17 |
||||||||||||||||||
|
200℃ |
≤0.25 |
|||||||||||||||||||
|
将转动惯量和内盘转速调到一定值,以每分钟25次离合频率,在气压为0.5MPa时连续离合,直到平衡温度为止,测量下列项目。 ① 平衡温度; ② 从常温开始,每隔20℃时的静摩擦因数。 静摩擦因数μj的计算如下
式中 T——实测离合器传递转矩,N·m; Fa——轴向压紧力,N; n——摩擦副数量; Rf——有效摩擦半径,m。
式中 R——摩擦副外半径,m; r——摩擦副内半径,m。 气囊由橡胶制成,其性能应符合以下要求。 扯断强度:内胶层不小于19N/m2,外胶层不小于15N/m2。 扯断伸长率:内、外胶层为400%~430%。 热空气老化试验:在100℃温度时,24h,性能降低不得大于30%。 扯断永久变形:内、外胶层均不大于25%。 邵尔A硬度:外胶层为60±5,内胶层为45±5。 |
||||||||||||||||||||

