|
DLY9系列牙嵌式有滑环电磁离合器 |
|||||||||||||||||||
|
|
|||||||||||||||||||
|
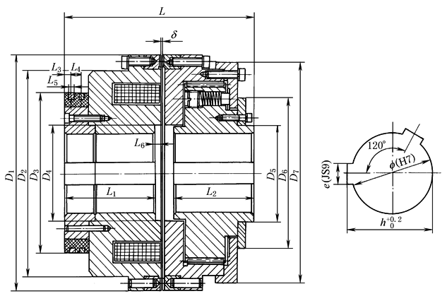
规 格 |
额定转矩 /N·m |
额定电压 (DC)/V |
线圈消耗功率 (20℃)/W |
允许最高结合转速 /r·min-1 |
允许最高转速 /r·min-1 |
||||||||||||||
|
500A |
5000 |
110 |
117 |
相对静止 |
1300 |
||||||||||||||
|
1000A |
10000 |
110 |
143 |
相对静止 |
1000 |
||||||||||||||
|
规 格 |
D1 |
D2 |
D3 |
D4 |
D5 |
D6 |
D7 |
f |
h |
e |
L |
L1 |
L2 |
L3 |
L4 |
L5 |
L6 |
δ |
电刷型号 |
|
mm |
|||||||||||||||||||
|
500A |
320 |
270 |
215 |
130 |
130 |
200 |
285 |
110 |
116.4 |
28 |
245 |
105 |
105 |
10 |
14.5 |
8 |
19 |
1 |
DS-010 |
|
1000A |
420 |
350 |
255 |
140 |
160 |
230 |
370 |
110 |
116.4 |
28 |
310 |
135 |
135 |
12 |
20 |
10 |
23 |
1.5 |
DS-010 |
|
注:产品生产厂家为北京古德高机电技术有限公司,该公司还生产DLD6型带轴承的电磁离合器,见厂家样本。 |
|||||||||||||||||||

