|
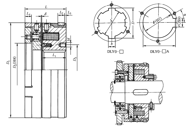
DLY0系列牙嵌式有滑环电磁离合器 |
|||||||||||||||||||||||
|
安装示例 |
|||||||||||||||||||||||
|
规格 |
额定转矩 /N·m |
额定电压(DC) /V |
线圈消耗功率(20℃) /W |
允许最高结合转速 /r·min-1 |
允许最高转速 /r·min-1 |
质量 /kg |
|||||||||||||||||
|
1.2 |
12 |
24 |
8 |
80 |
5500 |
0.57 |
|||||||||||||||||
|
2.5 |
25 |
24 |
8 |
65 |
5000 |
0.83 |
|||||||||||||||||
|
5 |
50 |
24 |
16 |
50 |
4500 |
1.42 |
|||||||||||||||||
|
10 |
100 |
24 |
21 |
35 |
4000 |
1.6 |
|||||||||||||||||
|
16 |
160 |
24 |
24 |
25 |
3500 |
2.1 |
|||||||||||||||||
|
25 |
250 |
24 |
32 |
20 |
3300 |
3.2 |
|||||||||||||||||
|
40 |
400 |
24 |
35 |
15 |
3000 |
5.3 |
|||||||||||||||||
|
规格 |
D1 |
D2 |
D3 |
D |
d |
b |
f |
h |
e |
M |
L |
L1 |
L2 |
L3 |
L4 |
α |
δ |
电刷 型号 |
|||||
|
/mm |
|||||||||||||||||||||||
|
1.2 |
61 |
30 |
27.5 |
|
|
|
18 |
|
5 |
3-M4深8 |
36 |
19.2 |
7 |
3 |
6 |
30° |
0.2 |
DS-002 |
|||||
|
2.5 |
73 |
35 |
34 |
|
|
|
25 |
|
8 |
3-M4深8 |
36 |
19.2 |
8 |
3 |
6 |
30° |
0.3 |
||||||
|
5 |
87 |
45 |
41 |
|
|
|
28 |
|
8 |
3-M4深8 |
44 |
24.2 |
8 |
5 |
8 |
30° |
0.3 |
||||||
|
10 |
94 |
45 |
50 |
|
|
|
40 |
|
12 |
3-M4深10 |
45 |
25.2 |
8 |
5 |
8 |
30° |
0.5 |
||||||
|
16 |
104 |
60 |
55 |
|
|
|
45 |
|
12 |
3-M5深10 |
50 |
29.2 |
8 |
5 |
8 |
30° |
0.5 |
||||||
|
25 |
125 |
75 |
70 |
|
|
|
50 |
|
14 |
3-M5深10 |
52.5 |
31 |
9 |
4 |
9 |
30° |
0.5 |
DS-001 |
|||||
|
40 |
140 |
80 |
75 |
|
|
|
60 |
|
18 |
3-M6深10 |
62 |
35 |
10 |
3 |
10 |
60° |
0.8 |
||||||
|
注:1.牙嵌式电磁离合器可在有润滑或无润滑情况下工作。 2.离合器工作时必须在摩擦片间加润滑油,供油方式为外浇油或油溶式,但其浸入油深为离合器外径的1/5~1/4。高速或频繁动作时应采用轴心供油,其量见本表。 3.安装示例为同轴安装齿轮输出,也可分轴安装,但主、从动轴都应轴向固定,不得窜动,且同轴度不低于9级。输出及安装方式由用户决定并实现。 4.生产厂家为天津机床电器有限公司。 |
|||||||||||||||||||||||

