|
电磁离合器的型式、特点与应用 |
|||
|
型式 |
简图 |
特点 |
应用 |
|
牙嵌式 |
|
与嵌合式离合器特点基本相同 一般需在静态接合,有转速差时会发生冲击。属于刚性接合,无缓冲作用 |
允许停车接合或负载转矩小,从动侧转动惯量小,相对转速在100r/min以下时接合,要求无滑差、接合不频繁的场合应用,可干、湿两用 |
|
干式单片 |
|
反应灵敏、接合迅速。结构紧凑、尺寸小。空载转矩极小。接合过程中有摩擦发热,温升太高时有摩擦性能衰退现象,摩擦片有磨损需调整间隙 |
适用于要求接合快速,频率高,外形尺寸没有限制的场合 |
|
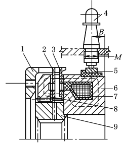
湿式 多盘式 |
1—连接爪;2—外摩擦片;3—内摩擦片; 4—电刷;5—滑环;6—磁轭; 7—线圈;8—衔铁;9—齿轮 |
摩擦片几乎无磨损。接合与脱开动作迟缓,有空载转矩,接合频率不宜太高。要求有供油系统 |
适于要求在较高转速下接合的场合 操作频度低于干式 有滑环式较无滑环式转动惯量大 |
|
转差式 |
|
启动平稳,主动轴恒速下,从动轴可无级调速,无摩擦,有缓冲吸振和安全保护作用。承载能力低,体积大,传递转矩小,动作缓慢,低速和转速差大时效率低 |
用于短时需要较大滑差、需要有恒力矩的场合,可在动力机恒速下调节工作机的转速 |
|
磁粉式 |
|
可在同步和滑差下工作,精度较高,响应快,接合与制动时无冲击,从动部分惯性小,接合面有气隙无磨损。磁粉寿命短,价格贵 |
需要有连续滑动的工作场合,以及传递转矩不大的系统 |





