|
摩擦离合器的型式、特点和应用 |
|||||
|
型 式 |
特点、应用 |
型 式 |
特点、应用 |
||
|
锥
盘 |
1—主动件;2—摩擦衬面; 3—被动盘;4—操纵套筒 |
结构简单、可平稳地接合,在相同直径及传递相同转矩条件下比盘式离合器要求的轴向接合力小。易散热,但启动惯性大,锥盘轴向移动困难 用于进给装置。在牵引设备中几乎完全被盘式离合器代替 |
多
盘 |
|
可增加摩擦盘来增加容量,不用加大直径。湿式多盘离合器摩擦片浸在封闭箱体内的油液内,干式通常由循环的空气带走产生的热量,各种多盘离合器的差别主要在于主动和被动片的夹紧方式不同。广泛用于机床、中心距受空间限制的一些齿轮箱传动装置,以及在推土机等工程机械的变速箱中 |
|
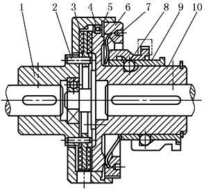
单
片 |
干式单片摩擦离合器 1—轴套;2,4—导销; 3—摩擦片;5,10—压紧盘;6—调节盖; 7—碟形膜片弹簧;8—钢球;9—压紧环 |
主动部分与从动部分通过由碟形弹簧压紧摩擦片进行接合,离合器的接合与脱开由操纵杠杆拨动压紧环实现。这种干式单片离合器可用于传递转矩范围为15~3000N·m |
涨
圈 |
1—销轴;2—涨圈 |
涨圈为筒形摩擦片。销轴转动、迫使涨圈外径扩大,压紧环形槽内表面,离合器接合。涨圈转动时的离心力能增加接合功率。销轴复位,涨圈自身弹性收缩,离合器脱开。用于低速和转矩不大的场合,如挖掘机等 |
|
涨开式扭簧 |
1—左旋扭簧;2—主动件; 3—被动件 |
用扭转弹簧与主、被动件的内表面相连接,工作时主动件使弹簧径向尺寸增大,压紧在被动件的表面上,借助摩擦力带动被动件。可看作是超越型,即主动件只能一个方向驱动被动件。如果被动件的转速超过主动件的转速,则扭簧将放松,两轴脱开。扭簧主要受剪切力。用于洗衣机中 |
|||
|
注:摩擦离合器有干式、湿式两种。干式比湿式具有结构简单、价格便宜、维修量小、空转力矩小(为额定力矩的0.05%)、换向时颤振小、惯量小、启动时间短的特点。通常用于要求瞬时脱开、过载保护的场合。湿式(一般浸在油中)能降低磨损,缓冲冲击载荷。需要注意接合件在油中摩擦因数减小,以及散热不足,需加强冷却。常用于小直径多盘离合器。 |
|||||





