|
转键离合器 |
|
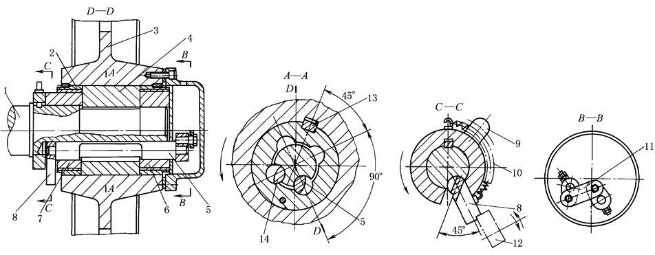
(1)工作原理 图为双转键离合器,主动件大齿轮3与中套4通过键13连成一体转动,并以滑动轴承工作支承在端套6.7上,按图示方向转动。工作转键5的尾端带有拨爪8并借助弹簧10拉紧,使工作转键常处于嵌入中套的状态,即离合器处于接合状态。当离合器需要脱开时,操纵操纵块12,使拨爪8带动工作转键顺时针转45°,完全转入轴槽之内,则离合器脱开。四连杆机构11分别与工作转键和止逆转键14相连,使工作转键与止逆转键反向同步转动,止逆键的作用是防止反向转动造成冲击。
图(1) 1—曲轴;2—滑动轴承;3—输入齿轮;4—中套;5—工作转键;6—右端套;7—左端套;8—拨爪; 9—撞块;10—弹簧;11—四连杆机构;12—操纵块;13—键;14—止逆转键 |
|
(2) 转键离合器的计算
|
|||
|
计算项目 |
计 算 公 式 |
单位 |
说 明 |
|
计算转矩 |
Te=KT(见表“离合器的选用计算”中表1) |
N·mm |
|
|
作用在转键上的圆周力 |
|
N |
|
|
作用在转键上的正压力 |
Fn=Ftcosα |
N |
|
|
转键挤压应力 |
|
N/mm2 |
r——转键工作半径,mm |
|
单位长度压力 |
|
N/mm |
φ——转键工作面的中心角,一般小于60°,通常φ=45° |
|
挤压面积 |
|
mm2 |
σpp——许用挤压应力,N/mm2,一般取 |
|
转键计算半径 |
|
mm |
|
|
压力角 |
|
(°) |
|
|
曲轴直径 |
d1=(1.12~1.2)d0=2R |
mm |
|
|
转键有效长度 |
l=(1.4~1.65)d1 |
mm |
|
|
转键直径 |
d=(0.44~0.5)d1 |
mm |
|


