|
YOTC型 |
|||||||||||||||||||||||||||||||
|
|
|||||||||||||||||||||||||||||||
|
表1 YOTC360B~YOTC1450B 型偶合器外形尺寸及技术性能 |
|||||||||||||||||||||||||||||||
|
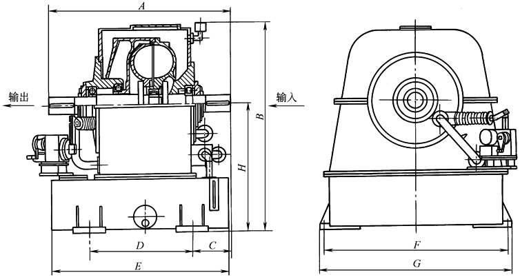
YOTC360B~YOTC1450B 型偶合器外形尺寸图 |
|||||||||||||||||||||||||||||||
|
型 号 |
输入转速 /r·min-1 |
传递功率 /kW |
额定转差率/% |
外 形 尺 寸 /mm |
|||||||||||||||||||||||||||
|
A |
B |
C |
D |
E |
F |
G |
H |
||||||||||||||||||||||||
|
YOTC360B |
1500 3000 |
15~37 90~300 |
≤3 |
820 |
910 |
235 |
430 |
694 |
740 |
800 |
550 |
||||||||||||||||||||
|
YOTC400B |
1500 3000 |
37~55 250~450 |
≤3 |
1020 |
1100 |
280 |
420 |
940 |
900 |
1000 |
660 |
||||||||||||||||||||
|
YOTC450B |
1500 3000 |
55~110 425~900 |
|||||||||||||||||||||||||||||
|
YOTC500B |
1500 3000 |
110~200 850~1600 |
≤3 |
1040 |
1120 |
235 |
520 |
980 |
980 |
1050 |
700 |
||||||||||||||||||||
|
YOTC560B |
1000 1500 |
55~110 200~355 |
|||||||||||||||||||||||||||||
|
YOTC650B |
1000 1500 |
110~220 355~750 |
≤3 |
1120 |
1290 |
250 |
560 |
1080 |
1040 |
1140 |
750 |
||||||||||||||||||||
|
YOTC710B |
750 1000 1500 |
75~140 220~360 750~1250 |
≤3 |
1455 |
1490 |
348 |
680 |
1370 |
1300 |
1380 |
915 |
||||||||||||||||||||
|
YOTC800B |
750 1000 1500 |
160~250 400~720 1250~1600 |
|||||||||||||||||||||||||||||
|
YOTC875B |
750 1000 |
250~460 670~1000 |
≤3 |
1700 |
1770 |
398 |
840 |
1600 |
1550 |
1640 |
1110 |
||||||||||||||||||||
|
YOTC1000B |
600 750 1000 |
280~400 400~800 1000~1800 |
|||||||||||||||||||||||||||||
|
YOTC1050B |
600 750 1000 |
355~500 750~1000 1400~2240 |
|||||||||||||||||||||||||||||
|
YOTC1150B |
600 750 |
450~800 950~1600 |
≤3 |
1800 |
2100 |
400 |
900 |
1760 |
1800 |
1880 |
1240 |
||||||||||||||||||||
|
YOTC1250B |
600 750 |
750~1250 1600~2240 |
|||||||||||||||||||||||||||||
|
YOTC1320B |
500 600 750 |
600~850 1000~1600 2000~3150 |
≤3 |
2400 |
2350 |
550 |
1200 |
2350 |
2100 |
2200 |
1450 |
||||||||||||||||||||
|
YOTC1450B |
400 500 600 |
375~540 710~1250 1400~2240 |
|||||||||||||||||||||||||||||
|
注:生产厂家为上海交通大学附属工厂。 |
|||||||||||||||||||||||||||||||
|
表2 YOTC560H~YOTC650H 型偶合器外形尺寸及技术性能 |
|||||||||||||||||||||||||||||||
|
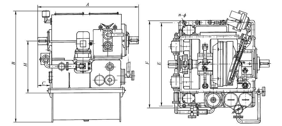
YOTC560H~YOTC650H 型偶合器外形尺寸图 |
|||||||||||||||||||||||||||||||
|
型 号 |
输入转速 /r·min-1 |
传递功率 /kW |
额定转差率/% |
外 形 尺 寸 /mm |
|||||||||||||||||||||||||||
|
A |
B |
C |
E |
F |
H |
n-f |
|||||||||||||||||||||||||
|
YOTC560H |
3000 |
1500~2800 |
≤3 |
1610 |
1710 |
267 |
1280 |
1340 |
800 |
12-f35 |
|||||||||||||||||||||
|
YOTC600H |
3000 |
2200~3200 |
|||||||||||||||||||||||||||||
|
YOTC650H |
3000 |
3200~4800 |
|||||||||||||||||||||||||||||
|
注:生产厂家为上海交通大学附属工厂。 |
|||||||||||||||||||||||||||||||
|
表3 YOTC875H、YOTC1000H 型偶合器外形尺寸及技术性能 |
|||||||||||||||||||||||||||||||
|
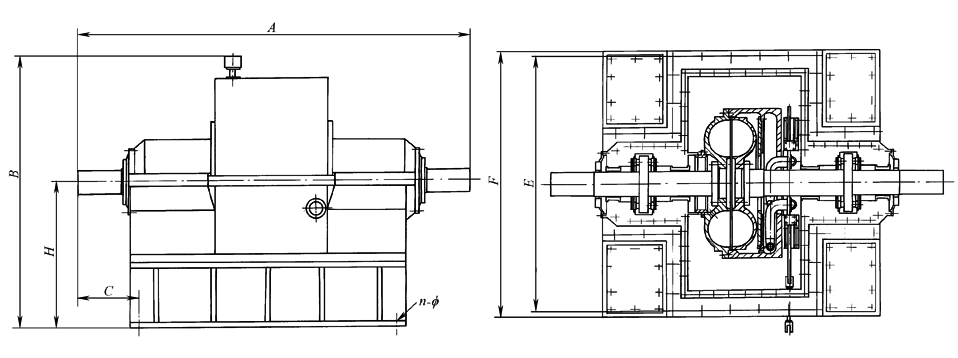
YOTC875H、YOTC1000H 型偶合器外形尺寸图 |
|||||||||||||||||||||||||||||||
|
型 号 |
输入转速 /r·min-1 |
传递功率 /kW |
额定转差率 /% |
外 形 尺 寸 /mm |
|||||||||||||||||||||||||||
|
A |
B |
C |
E |
F |
H |
n-f |
|||||||||||||||||||||||||
|
YOTC875H YOTC1000H |
1500 1500 |
1600~2800 2800~3600 |
≤3 |
2728 |
2250 |
450 |
1720 |
1800 |
1280 |
12-f35 |
|||||||||||||||||||||
|
注:生产厂家为上海交通大学附属工厂。 |
|||||||||||||||||||||||||||||||
|
|
|||||||||||||||||||||||||||||||



