|
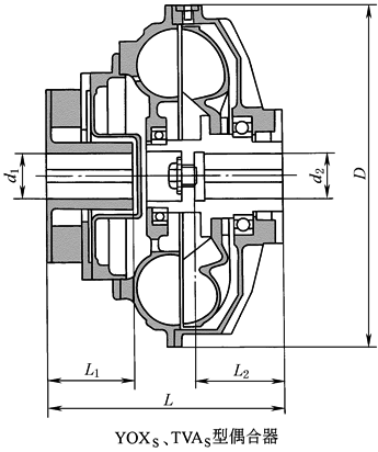
YOXs、TVAs型系列 |
|||||||||
|
|
|||||||||
|
技术性能 |
|||||||||
|
型 号 |
最高转速 /r·min-1 |
过载系数 Tg |
外形尺寸 D×L /mm |
连 接 尺 寸 /mm |
充水量 /L |
质量 (不包括水) /kg |
|||
|
输 入 |
输 出 |
||||||||
|
d1 |
L1 |
d2 |
L2 |
||||||
|
YOXs400 |
1500 |
2~2.5 |
f 480×356 |
60 |
140 |
60 |
150 |
9.6~4.8 |
65 |
|
YOXs450 |
1500 |
2~2.5 |
f 530×397 |
75 |
140 |
70 |
140 |
13.6~6.8 |
70 |
|
YOXs500 |
1500 |
2~2.5 |
f 590×411 |
85 |
170 |
85 |
145 |
19.0~9.5 |
105 |
|
YOXs510 |
1500 |
2~2.5 |
f 590×426 |
85 |
170 |
85 |
160 |
19.2~9.6 |
119 |
|
YOXs560 |
1500 |
2~2.5 |
f 650×459 |
90 |
170 |
100 |
180 |
27~13.5 |
140 |
|
YOXs562 |
1500 |
2~2.5 |
f 634×471 |
100 |
170 |
110 |
170 |
30~15 |
131 |
|
TVAs562 |
1500 |
2~2.5 |
f 634×467 |
100 |
170 |
110 |
170 |
30~15 |
131 |
|
YOXs600 |
1500 |
2~2.5 |
f 695×474 |
90 |
170 |
100 |
180 |
36~18 |
160 |
|
TVAs650 |
1500 |
2~2.5 |
f 740×536 |
125 |
225 |
130 |
200 |
46~23 |
219 |
|
TVAs750 |
1500 |
2~2.5 |
f 842×630 |
140 |
245 |
150 |
240 |
68~34 |
332 |
|
注:1.生产厂家为大连液力机械总厂 。 2.此类偶合器用水做工作介质,除具有YOX、TVA型的特点外,还具有防燃防爆、防油污染环境的特性。 |
|||||||||

