|
JSP型一带制动盘型联轴器(JB/T 8869—2000) |
||||||||||||
|
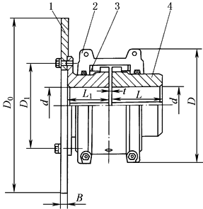
1—制动盘;2—罩壳;3—蛇形弹簧;4—半联轴器 |
||||||||||||
|
工作温度:-30~150℃。 标记方法:
联轴器主、从动端连接型式与尺寸相同时,只标记一端,另一端省略。 制动盘安装在从动端。 |
||||||||||||
|
基本参数和主要尺寸 |
||||||||||||
|
型 号 |
制动转矩 Tm |
许用转速 np |
制 动 盘 |
轴 孔 直 径 d |
轴孔长度 |
D |
D1 |
间隙 t |
质 量 |
润滑油 |
||
|
直径D0 |
宽度B |
L |
L1 |
|||||||||
|
N·m |
r·min-1 |
mm |
kg |
|||||||||
|
JSP1 |
200 |
3800 |
315 |
30 |
20,22,24,25,28,30,32,35,38,40,42,45,48,50 |
63 |
88 |
150 |
125 |
3 |
9.579 |
0.086 |
|
JSP2 |
315 |
3200 |
315 |
25,28,30,32,35,38,40,42,45,48,50,55,56,60,63 |
76 |
88 |
162 |
133 |
3 |
12.349 |
0.1135 |
|
|
JSP3 |
630 |
2800 |
315 |
30,32,35,38,40,42,45,48,50,55,56,60,63,65,70,71,75 |
88 |
88 |
193 |
152 |
3 |
19.794 |
0.1725 |
|
|
JSP4 |
1000 |
2700 |
400 |
35,38,40,42,45,48,50,55,56,60,63,65,70,71,75,80,85 |
98 |
88 |
212 |
179 |
3 |
28.42 |
0.254 |
|
|
JSP5 |
1800 |
2400 |
400 |
40,42,45,48,50,55,56,60,63,65,70,71,75,80,85,90,95,100 |
120 |
119 |
250 |
216 |
6 |
47.76 |
0.427 |
|
|
JSP6 |
2800 |
2200 |
450 |
50,55,56,60,63,65,70,71,75,80,85,90,95,100,110 |
127 |
146 |
270 |
241 |
6 |
64.922 |
0.5085 |
|
|
JSP7 |
4500 |
2000 |
500 |
60,63,65,70,71,75,80,85,90,95,100,110,120,125 |
150 |
149 |
308 |
276 |
6 |
91.35 |
0.729 |
|
|
JSP8 |
6300 |
1800 |
560 |
70,71,75,80,85,90,95,100,110,120,125,130,140,150 |
162 |
152 |
346 |
295 |
6 |
131.66 |
0.908 |
|
|
JSP9 |
9000 |
1600 |
630 |
80,85,90,95,100,110,120,125,130,140,150,160,170,180 |
184 |
158 |
384 |
330 |
6 |
184.798 |
1.135 |
|
|
JSP10 |
12500 |
1500 |
800 |
90,95,100,110,120,125,130,140,150,160,170,180,190,200 |
182 |
183 |
453 |
368 |
6 |
253.332 |
1.9068 |
|
|
JSP11 |
16000 |
1300 |
900 |
100,110,120,125,130,140,150,160,170,180,190,200,220 |
198 |
198 |
500 |
400 |
6 |
336.414 |
2.8148 |
|
|
注:1.质量按无孔计算。 2.若选择表“圆柱形轴孔和键槽型式及尺寸”中表1和表“圆锥形轴孔和键槽型式及尺寸”中表1的轴孔型式,应与制造厂协商。 3.联轴器安装后应注入润滑油(脂),工作时不泄漏,使用5000h后更换密封圈。在正常使用条件下,联轴器的可靠性在10000h内不应失效。 4.联轴器选用计算见“机械式联轴器选用计算”节。 5.生产厂家为沈阳三环机械厂。
|
||||||||||||

