|
联轴器的分类、特点及应用 |
||||||||||||||||||||||||||||||||||||||
|
联轴器是连接两轴或连接轴和回转件的一个部件,在传递运动和动力过程中和轴一同回转不脱开。联轴器除具有连接功能之外,也可使之具有安全防护等功能 |
||||||||||||||||||||||||||||||||||||||
|
类 别 |
名称、简图、特点、应用 |
|||||||||||||||||||||||||||||||||||||
|
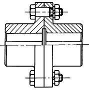
固 定 式 刚 性 联 轴 器 |
名称及简图 |
凸缘联轴器(GB/T 5843—2003)
GY型—基本型 GYS型—对中榫型 GYH型—对中环型 |
||||||||||||||||||||||||||||||||||||
|
技术性能 |
公称转矩Tn |
N·m |
25~100000 |
|||||||||||||||||||||||||||||||||||
|
许用转速np |
r·min-1 |
12000~16000 |
||||||||||||||||||||||||||||||||||||
|
轴径范围 |
mm |
12~250 |
||||||||||||||||||||||||||||||||||||
|
特点及应用 |
结构简单,成本低,无补偿性能,不能缓冲减振,对两轴安装精度要求较高 用于振动很小的工况条件,联接中、高速和刚性不大的且要求对中性较高的两轴 |
|||||||||||||||||||||||||||||||||||||
|
名称及简图 特点及应用 |
胀套式 联轴器 |
|
结构简单,靠摩擦力传递转矩,无键连接,要求两轴对中性好,用于小转矩传递 |
|||||||||||||||||||||||||||||||||||
|
可 移 式 刚 性 联 轴 器 |
名称及简图 |
鼓形齿式联轴器 |
||||||||||||||||||||||||||||||||||||
|
|
|
|||||||||||||||||||||||||||||||||||||
|
(JB/T 8854.1—2001) |
(JB/T 8854.2—2001) |
|||||||||||||||||||||||||||||||||||||
|
技术性能 |
公称转矩Tn |
N·m |
1120~50000 |
400~4500000 |
||||||||||||||||||||||||||||||||||
|
许用转速np |
r·min-1 |
4000~2100 |
4000~460 |
|||||||||||||||||||||||||||||||||||
|
轴径范围 |
mm |
22~200 |
16~1000 |
|||||||||||||||||||||||||||||||||||
|
许用补尝量 |
Δx |
— |
|
|||||||||||||||||||||||||||||||||||
|
Δy |
1.1~2.3 |
1.0~8.5 |
0.0262A(A—详见表GⅡCLZ型鼓形齿式联轴器) |
|||||||||||||||||||||||||||||||||||
|
Δα |
( ° ) |
3 |
||||||||||||||||||||||||||||||||||||
|
特点及应用 |
工作可靠,承载能力大,具备少量补偿性能。与其他类型联轴器相比,尺寸相同时传递转矩最大。但构造复杂,制造困难,成本高,有噪声,不能缓冲减振。工作环境温度-20~+80℃ TGL尼龙内齿圈鼓形齿式联轴器(JB/T 5514)具有缓冲减振的能力,多用于中小转矩的传动 |
|||||||||||||||||||||||||||||||||||||
|
可 移 式 刚 性 联 轴 器 |
名称及简图 |
滚子链联轴器(GB/T 6069—2002)
|
技术性能 |
公称转矩Tn |
N·m |
40~25000 |
||||||||||||||||||||||||||||||||
|
许用转速np |
r·min-1 |
4500~900 |
||||||||||||||||||||||||||||||||||||
|
轴径范围 |
mm |
16~190 |
||||||||||||||||||||||||||||||||||||
|
许用补偿量 |
Δx |
1.4~9.5 |
||||||||||||||||||||||||||||||||||||
|
Δy |
0.19~1.27 |
|||||||||||||||||||||||||||||||||||||
|
Δα |
( ° ) |
1 |
||||||||||||||||||||||||||||||||||||
|
特点应用 |
结构简单,重量轻,工作可靠,寿命长,装拆方便,且有少量补偿两轴相对偏移性能,用于潮湿、多尘、高温场合,不宜用于启动频繁、经常正反转以及较剧烈冲击载荷和扭振的场合 |
|||||||||||||||||||||||||||||||||||||
|
可 移 式 刚 性 联 轴 器 |
名称及简图 |
SWC整体叉头十字轴式万向联轴器(JB/T 5513—1991)
|
||||||||||||||||||||||||||||||||||||
|
技术性能 |
代号 |
BH、WH |
BF、WF、WD |
CH |
DH |
|||||||||||||||||||||||||||||||||
|
回转直径D |
mm |
100~550 |
180~620 |
180~550 |
180~390 |
|||||||||||||||||||||||||||||||||
|
公称转矩Tn |
kN·m |
1.25~710 |
12.5~1000 |
12.5~710 |
12.5~250 |
|||||||||||||||||||||||||||||||||
|
疲劳转矩Tf |
0.63~355 |
6.3~500 |
6.3~355 |
6.3~125 |
||||||||||||||||||||||||||||||||||
|
轴线折角β |
( ° ) |
≤25(D=100~180) |
≤25(D=180) |
≤25(D=180) |
≤25(D=180) |
|||||||||||||||||||||||||||||||||
|
≤15(D=225~550) |
≤15(D=225~620) |
≤15(D=225~550) |
≤15(D=225~390) |
|||||||||||||||||||||||||||||||||||
|
名称及简图 |
SWP型剖分轴承座十字轴式万向联轴器
|
|||||||||||||||||||||||||||||||||||||
|
技术性能 |
代号 |
A、B、C、D、E、F型 |
G型 |
ZG、FG型 |
||||||||||||||||||||||||||||||||||
|
回转直径D |
mm |
160~650 |
225~350 |
D/D0 200/285~600/810 |
||||||||||||||||||||||||||||||||||
|
公称转矩Tn |
kN·m |
20~1600 |
56~224 |
40~1120 |
||||||||||||||||||||||||||||||||||
|
脉动疲劳转矩Tp |
14~1120 |
40~157 |
22~730 |
|||||||||||||||||||||||||||||||||||
|
交变疲劳转矩Tf |
|
10~800 |
28~112 |
16~520 |
||||||||||||||||||||||||||||||||||
|
轴线折角β |
( ° ) |
≤15(D≤350)、≤10(D≥390) |
≤5 |
≤10 |
||||||||||||||||||||||||||||||||||
|
特点及应用 |
万向联轴器有较大的角向补偿能力,能可靠地传递转矩和运动。适用于轧钢机械、起重运输机械、工程、矿山、石油以及其他重型机械 SWC 型不用螺栓固定轴承,提高了可靠度,且便于维护 SWP 型做成剖分式,用螺栓连接,便于更换轴承,但可靠度降低,可在β=5°~15°下工作 |
|||||||||||||||||||||||||||||||||||||
|
金 属 弹 性 元 件 联 轴 器 |
名称及简图 |
膜片联轴器(JB/T 9147—1999)
|
||||||||||||||||||||||||||||||||||||
|
技术性能 |
代 号 |
JMⅠ型 |
JMⅠJ型 |
JMⅡ型 |
JMⅡJ型 |
|||||||||||||||||||||||||||||||||
|
公称转矩Tn |
N·m |
25~160000 |
25~6300 |
40~180000 |
63~1×107 |
|||||||||||||||||||||||||||||||||
|
许用转速np |
r·min-1 |
6000~710 |
6000~1600 |
10700~1050 |
9300~350 |
|||||||||||||||||||||||||||||||||
|
轴径范围 |
mm |
14~320 |
14~125 |
14~340 |
20~950 |
|||||||||||||||||||||||||||||||||
|
许用补偿量 |
Δx |
1~2 |
2~4 |
1~6 |
2~12 |
|||||||||||||||||||||||||||||||||
|
Δα |
( ° ) |
1°~30' |
2°~1° |
1° |
2° |
|||||||||||||||||||||||||||||||||
|
特点及应用 |
结构紧凑,强度高,使用寿命长,具有耐酸、耐碱、防腐蚀的特点,且不需润滑 可用于高温、高速、有腐蚀介质的工况条件,广泛用于各种机械传动中。工作环境温度-20~+250℃ |
|||||||||||||||||||||||||||||||||||||
|
名称及简图 |
蛇形弹簧联轴器(JB/T 8869—2000)
|
|||||||||||||||||||||||||||||||||||||
|
技术性能 |
代 号 |
JS型 |
JSB型 |
JSS型 |
JSD型 |
JSJ型 |
JSG型 |
|||||||||||||||||||||||||||||||
|
公称转矩Tn |
N·m |
45~8×105 |
45~63000 |
45~16×104 |
140~16×104 |
140~25000 |
||||||||||||||||||||||||||||||||
|
许用转速np |
r·min-1 |
4500~540 |
6000~1600 |
3600~900 |
— |
1×104~3300 |
||||||||||||||||||||||||||||||||
|
轴径范围 |
mm |
18~500 |
18~260 |
18~380 |
22~360 |
12~200 |
||||||||||||||||||||||||||||||||
|
许用补 偿量 |
Δx |
±0.3~±1.3 |
±0.5~±1 |
±0.3~±0.6 |
||||||||||||||||||||||||||||||||||
|
Δy |
0.31~1.02 |
0.31~0.76 |
— |
0.15~0.3 |
||||||||||||||||||||||||||||||||||
|
|
JSZ型 |
JSP型 |
JSA型 |
|||||||||||||||||||||||||||||||||||
|
制动转矩Tm |
N·m |
125~9000 |
200~16×103 |
公称转矩调节范围(4~35.5)~(14000~1×105) |
||||||||||||||||||||||||||||||||||
|
许用转速np |
r·min-1 |
3820~820 |
3800~1300 |
3600~670 |
||||||||||||||||||||||||||||||||||
|
轴径范围 |
mm |
12~200 |
20~220 |
20~320 |
||||||||||||||||||||||||||||||||||
|
特点及应用 |
适用于连接传递中、大功率,具有一定补偿两轴相对偏移、减振和缓冲性能。且互换性好,型式齐全,技术先进,适用范围广泛。其工作环境温度为-30~+150℃ |
|||||||||||||||||||||||||||||||||||||
|
非 金 属 弹 性 元 件 联 轴 器 |
名称及简图 |
梅花形弹性联轴器(GB/T 5272—2002) |
|
|||||||||||||||
|
|
|
|
||||||||||||||||
|
技 术 性 能 |
公称转矩Tn |
N·m |
45~25000 |
400~25000 |
|
|||||||||||||
|
许用转速np |
r·min-1 |
LM 型15300~1900 LMD、LMS 型8500~1500 |
4750~950 |
|
||||||||||||||
|
轴径范围 |
mm |
12~160 |
25~160 |
|
||||||||||||||
|
许用补偿量 |
Δx |
|
1.2~5.0 |
|
|
|||||||||||||
|
Δy |
0.5~1.8 |
|
|
|||||||||||||||
|
Δα |
( ° ) |
2°~1° |
|
|
||||||||||||||
|
特点及应用 |
结构简单,径向尺寸小,不需润滑,维护方便,具有减振缓冲性能 用于启动频繁,经常正反转的中低速、中小功率以及工作可靠性要求高的场合,不宜用于重载及轴向尺寸限制的场合。工作温度为-35~80℃ |
|
||||||||||||||||
|
名称及简图 |
弹性套柱销联轴器(GB/T 4323—2002) |
|
||||||||||||||||
|
|
|
|
||||||||||||||||
|
技术性能 |
公称转矩Tn |
N·m |
6.3~16000 |
125~16000 |
|
|||||||||||||
|
许用转速np |
r·min-1 |
8800~1150 |
3800~1000 |
|
||||||||||||||
|
轴径范围 |
mm |
9~170 |
25~170 |
|
||||||||||||||
|
许用补偿量 |
Δy |
0.2~0.6 |
0.3~0.6 |
|
||||||||||||||
|
Δα |
( ° ) |
1°30'~0°30' |
1°30'~0°30' |
|
||||||||||||||
|
特点及应用 |
结构简单,制造容易,不需润滑,具有一定的减振缓冲性能 用于对中精度较高,冲击载荷不大,减振要求不高的中小功率场合 工作环境温度为-20~+70℃ |
|
||||||||||||||||
|
非 金 属 弹 性 元 件 联 轴 器 |
名称及简图 |
弹性柱销齿式联轴器(GB/T 5015—2003)
|
|
|||||||||||||||
|
技术性能 |
代 号 |
LZ型 |
LZB型 |
LZJ型 |
LZZ型 |
|
||||||||||||
|
公称转矩Tn |
N·m |
112~28×105 |
112~100000 |
112~28×105 |
250~31500 |
|
||||||||||||
|
许用转速np |
r·min-1 |
5000~460 |
5000~1500 |
4500~430 |
4500~950 |
|
||||||||||||
|
轴径范围 |
mm |
12~850 |
16~220 |
12~850 |
16~180 |
|
||||||||||||
|
许用补 偿量 |
Δx |
±1.5~±5.0 |
±1.5~±2.5 |
+1.0~+20 |
+1~+10 |
|
||||||||||||
|
Δy |
0.3~1.5 |
0.3~0.6 |
0.15~0.75 |
0.15~0.3 |
|
|||||||||||||
|
Δα |
( ° ) |
0°30' |
2°30'~0°30' |
0°30' |
|
|||||||||||||
|
特点及应用 |
结构简单,维修方便,寿命长,传动转矩大。具有一定补偿两轴相对偏移和一般减振性能,可部分代替齿式联轴器,但噪声大。工作温度为-20~70℃ 对于减振、噪声要求很高的场合不宜使用 |
|
||||||||||||||||
|
名称及简图 |
轮胎式联轴器(GB/T 5844—2002)
|
技术性能 |
公称转矩Tn |
N·m |
10~25000 |
|
||||||||||||
|
许用转速np |
r·min-1 |
5000~800 |
|
|||||||||||||||
|
轴径范围 |
mm |
11~180 |
|
|||||||||||||||
|
许用补偿量 |
Δx |
1~8 |
|
|||||||||||||||
|
Δy |
1~5 |
|
||||||||||||||||
|
Δα |
( ° ) |
1°~1°30' |
|
|||||||||||||||
|
特点及应用 |
具有补偿两轴相对偏移和较好的减振、缓冲、电绝缘性能,寿命较长,不需润滑,装拆方便,径向尺寸大 用于有冲击、振动、启动频繁、经常正反转以及潮湿、多尘的场合工作温度-20~80℃ |
|
||||||||||||||||
|
名称及简图 |
弹性块联轴器(JB/T 9148—1999) |
|
||||||||||||||||
|
|
|
|
||||||||||||||||
|
技术性能 |
公称转矩Tn |
N·m |
10000~3150000 |
|
||||||||||||||
|
许用转速np |
r·min-1 |
1950~380 |
1275~130 |
|
||||||||||||||
|
轴径范围 |
mm |
85~850 |
|
|||||||||||||||
|
许用补 偿量 |
Δx |
±1.5~±3.0 |
||||||||||||||||
|
Δy |
0.5~1 |
|||||||||||||||||
|
Δα |
( ° ) |
0°30'~0°15' |
||||||||||||||||
|
特点及应用 |
节能,无噪声,不需润滑,安装维修简单,寿命长并具有补偿两轴相对偏移、减振、缓冲性能,可用于连接同轴线的大中功率、振动冲击较大的轴承传动。工作环境温度为-30~+120℃ |
|
||||||||||||||||
|
非 金 属 弹 性 元 件 联 轴 器 |
名称及简图 |
新型梅花联轴器
|
|
|||||||||||||||
|
特点及应用 |
具有缓冲减振、不需润滑、维护方便的特点,有一定的补偿两轴偏移的能力,适用载荷变化不大、工作平稳、启动频繁、正反转多变的中低速、中小功率的传动 |
|
||||||||||||||||
|
安 全 联 轴 器 |
名称及简图 特点及应用 |
链轮摩擦式 安全联轴器 |
|
是滚子链联轴器与摩擦离合器的组合。传递的转矩可通过调整碟形弹簧的压缩量进行调整。当转矩超过限定值时,联轴器会打滑、报警,具有过载保护作用 |
|
|||||||||||||
|
名称及简图 |
钢球安全 联轴器 |
|
|
|||||||||||||||
|
特点及应用 |
是滚子链联轴器与钢球转矩限制器的组合。通过调整压紧碟形弹簧可以调整传递的转矩。当转矩超过限定值,联轴器会打滑、报警,具有过载保护作用。多用于小转矩的传动 |
|
||||||||||||||||
|
名称及简图 |
|
|
||||||||||||||||
|
特点及应用 |
传动平稳,能隔离扭转振动,防护动力过载,可以方便地实现空载启动、离合和调速,能够均匀多台原动机之间的载荷分配。但传动中有功率损失,尺寸、重量较大,对于大功率的联轴器需要辅助设备 用于连接原动机与负载之间的传动,还可用于离合和调速 |
|
||||||||||||||||
|
注:许用补偿量符号的意义如下图所示:
|
|
|||||||||||||||||

























