|
压缩空气网络的主要组成部分 |
|
|
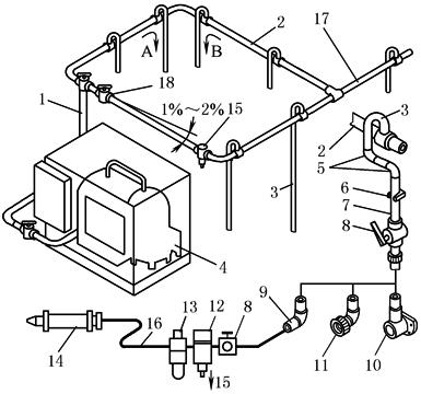
① 主管道 它将压缩空气从压缩机输送给有需要的车间(见图1) |
|
|
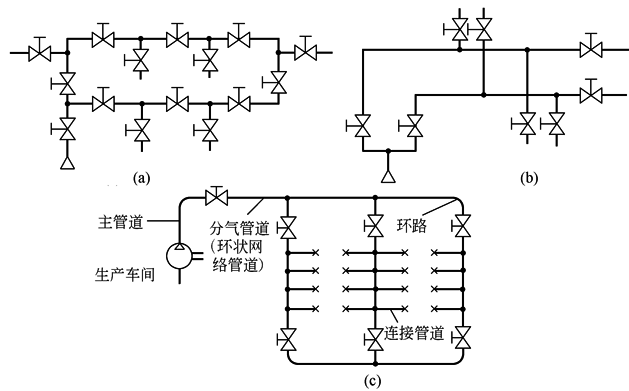
② 分气管道(单树枝状、双树枝状、环状网络管道) 通常是一个环路。它把车间里的压缩空气分配到各工作场所 ③ 连接管道 它是永久分配网中的最后一环,通常是一根软管 ④ 分支管道 这根管道从分气管道通到某一地方。它的终端是一个死结,这样做的好处是节约管道 ⑤ 环路 这种类型的管道呈封闭环状。它的好处是在管道中某些单独部分堵塞的情况下仍然可以向其他地方提供压缩空气,当邻近地方(如A处)消耗压缩空气的同时,其他位置(如B处)仍然有足够的压力;公称通径也很小 ⑥ 管接头和附件 如图1所示为配备了最重要元件的系统示意图,包括系统中用来控制压缩空气流动和元件装配的部分。需要强调的是,因为冷凝水的缘故,各条连接管路应该连接在分配管路的顶端,这就是所谓的“天鹅颈”。排除冷凝水的分支管道安装在气动网络中位置最低处的管道底部。如果冷凝水排水管和管道直接连接,则必须确保冷凝水不会因压缩空气的流动而被一起吹入管道 (1) 压缩空气管道的网络布局 压缩空气供气网络有三种供气系统: ① 单树枝状网络供气系统; ② 双树枝状网络供气系统; ③ 环状网络供气系统 |
图1 系统示意图 1—主管道;2—环状网络管道(分气管);3—连接管道; 4—空压机站;5—90°的肘接管道;6—墙箍;7—管道; 8—球阀;9—90°肘接接头;10—墙面安装件;11—管道件 (缩接);12—过滤器;13—油雾器;14—驱动器;15—排 水装置;16—软管;17—分气管道;18—截止阀(闸阀) |
|
图2所示的环状网络供气系统阻力损失最小,压力稳定,供气可靠
图2 环状网络供气系统 (2) 压缩空气应用原则 压缩空气的应用原则:应对系统消耗的总量进行准确的计算,选择合适的空压设备用量及压缩空气的质量等级。为了确保压缩空气的质量,应从大气进入空压机开始,直至输送到所需气动系统及设备之前,每一过程都需对压缩空气进行必要的预处理。对于空气质量等级要求的一个原则:如果系统中某一个系统和气动设备需要高等级的压缩空气,则必须向该系统提供与其所需等级相适应的压缩空气,如无需高等级压缩空气,则提供与它相应等级的压缩空气便可。即使同一个气动设备有不同空气质量等级需求,也应该遵守这一经济原则。追求压缩空气清洁的愿望是无止境的,但应注意如下事项 ① 选择系统所需的足够的压缩空气容量和压缩空气的质量等级标准 ② 如果系统中有不同压力等级的压缩空气要求,从经济角度出发,可考虑局部压力放大(增压器),避免整个系统应用高等级的压缩空气 ③ 如系统有不同质量等级的压缩空气的需求,从经济角度出发,压缩空气还是必须集中筹备,然后对所需高等级空气按照“用多少处理多少”的原则进行处理 ④ 空压机吸入口应干净、无灰尘、通风条件好、干燥。应充分注意:温暖潮湿的气候,空气在压缩过程中将生成更多的冷凝水 ⑤ 对于气动系统某些设备同时耗气量较大的状况,应在该气动支路安装一个小型储气罐,以避免压力波动 ⑥ 应该在气动网络管道最低点,安装收集冷凝水的排除装置 ⑦ 选择合理的空气网络管路、管接件和附件 ⑧ 应为将来系统扩容预留一定的压缩空气用量 |
|


