|
潜伏式浇口全自动塑料注射成型模具 |
|
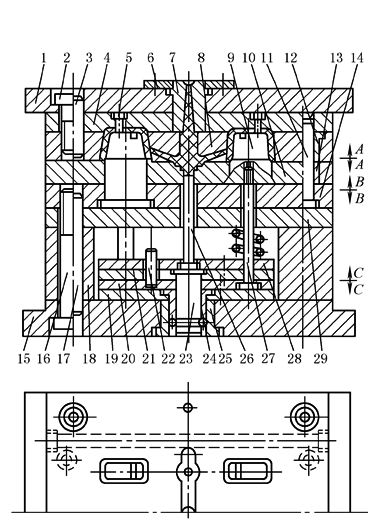
下图所示为盒潜伏式浇口全自动塑料注射成型模具。由于塑件材料采用聚碳酸酯,因此,模具分型面选择在塑件顶部,目的是为了增加塑件外观美,成型表面必须镀铬抛光。为提高塑件的透明度,克服塑件表面产生气束、云雾、熔接痕等缺陷,在流程的末段开设排气槽,并在相邻两型腔之间设储气室 塑料注射成型后,动模首先沿分型面A与定模分开,与此同时,靠凹模8的浇口剪切作用,使塑件和分流道分开。然后推杆23通过推杆27的作用使推板10向上运动,沿分型面B面完成第二次分型动作,使塑件从凸模9上脱出。此时由于钢球和限位钉22的共同作用,推杆27和推板10停止运行,推杆23继续推出,实现了全自动操作及自动切断浇口
盒潜伏式浇口全自动塑料注射成型模具 1—定模板;2,16—螺钉;3,17—销钉;4,8—凹模;5—型芯;6—定位圈;7—浇口套; 9—凸模;10,19,21—推板;11—导柱;12,13—导套;14—凸模固定板;15—动模板; 18—支块;20,28—推杆固定板;22—限位钉;23,26,27—推杆;24,25—套;29—垫板 |

