|
概述 |
|
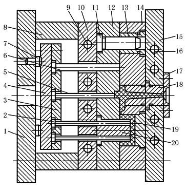
过去热固性塑料主要采用压缩成型和传递成型方法。这类成型方法成型周期长、生产效率低,工人劳动强度大。20世纪60年代初出现了热固性塑料注射成型,它与压缩模塑和传递模塑工艺相比较,具有生产率高、塑件质量好、自动化程度高、模具寿命长等优点,因此在热固性塑料模塑成型中的应用,占有相当重要的地位。大多数热固性塑料都可采用注射成型,这使热固性塑料成型技术获得了新的生命力 下图所示为热固性塑料注射模结构。热固性塑料注射模结构与热塑性塑料注射模结构相似,也包括型芯、型腔、浇注系统、导向零件和推出机构等部分,但模具要安装在专用的热固性塑料注射机上才能模塑成型。模塑成型的过程如下。将粉状或粒状原料加入注射机的料筒内,料筒外通热水加热,加热温度在料筒前段为90℃左右,后段为70℃左右。原料料粒同时还受螺杆旋转时的剪切摩擦作用,塑化成熔融状态,然后在螺杆的推动下,经注射机喷嘴和模具浇注系统进入温度比料筒温度高得多的模具型腔内,熔体通过喷嘴时由于强烈摩擦,温度可达110~130℃,模温通常保持在160~190℃。用于注射模塑的热固性塑料应具有较高的流动性,以使塑料在注射过程中顺利地通过浇注系统而填充型腔。塑料在型腔内发生交联反应,并固化成型,成型后的塑件由推出系统推出模外。注射成型过程与热塑性塑料注射成型十分相似,但工艺条件完全不同,这是由于两种塑料在热性能方面有本质的区别所致
热固性塑料注射模结构 1—动模座板;2—推杆;3—推杆固定板;4—推板;5—主流道推杆;6—复位杆; 7—支承杆;8—垫块;9,16—加热器安装孔;10—支承板;11—导杆; 12—动模板;13—导套;14—定模板;15—定模座板;17—定位圈; 18—浇口套;19—定模镶块;20—凸模 |

