|
安装说明 |
|
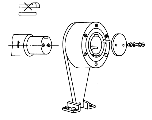
1) 安装之前检查轴的转向是否和逆止器内圈旋转方向一致(见图1黑色箭头所示) 2) 安装逆止器时只能对内圈施压(见图1白色箭头所示),若锤击压入时只能用软锤,以免损坏内圈,不要锤击外圈、密封支撑架或防尘盖,严禁对内圈加热 3) 力矩臂圆周限位,以防周向旋转(见图2、图3)。注意轴向不要限位,周向限位挡铁间隙推荐为A+(2~5)mm 4) 周向挡铁绝对不能倾斜,否则会发生故障 5) 逆止器安装后必须安装轴端挡圈 6) 力矩臂与底板间隙推荐为8~12mm 7) 与逆止器相配的轴伸长度应比内圈长度L短2~3mm,以便借助轴端挡圈牢固地固定逆止器 8) 固定逆止器的轴端挡圈及螺栓、防松垫圈等由轴配带,逆止器供货不带此件。此件规格尺寸应符合JB/ZQ 4349—1997标准要求 9) 限位挡铁及底板由选用者根据具体情况配置,若需制造厂配制时,请另行订货
图1 安装示意图
图2 NJ65~NJ200型逆止器力矩臂圆周限位示意图
图3 NJ220~NJ450型逆止器力矩臂圆周限位示意图 |



