|
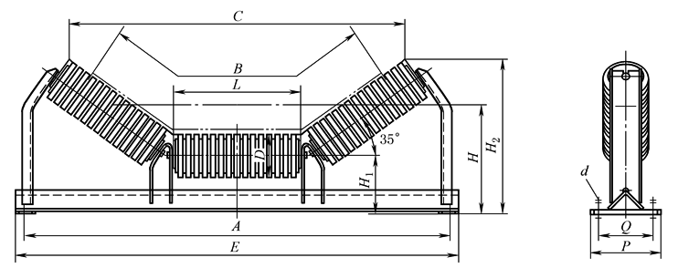
35°缓冲托辊 mm |
|||||||||||||||
|
主要用于受料处,以减少动载荷
|
|||||||||||||||
|
带宽 B |
辊 子 |
A |
E |
C |
H |
H1 |
H2 |
P |
Q |
d |
质量 /kg |
图号 |
|||
|
D |
L |
图号 |
轴承型号 |
||||||||||||
|
500 |
89 |
200 |
G302H |
6204/C4 |
740 |
800 |
559 |
220 |
135.5 |
298 |
170 |
130 |
M12 |
18.8 |
50C314H |
|
650 |
250 |
G303H |
890 |
950 |
691 |
235 |
327 |
22.1 |
65C314H |
||||||
|
108 |
G403H |
6305/C4 |
683 |
265 |
146 |
346 |
28.5 |
65C414H |
|||||||
|
800 |
89 |
315 |
G304H |
6204/C4 |
1090 |
1150 |
862 |
245 |
135.5 |
364 |
28.3 |
80C314H |
|||
|
108 |
G404H |
6305/C4 |
855 |
270 |
146 |
383 |
36.2 |
80C414H |
|||||||
|
133 |
G504H |
6306/C4 |
840 |
305 |
159.5 |
409 |
50.8 |
80C514H |
|||||||
|
1000 |
108 |
380 |
G405H |
6305/C4 |
1290 |
1350 |
1037 |
300 |
159 |
437 |
220 |
170 |
M16 |
49.9 |
100C414H |
|
133 |
G505H |
6306/C4 |
1022 |
325 |
173.5 |
461 |
61.6 |
100C514H |
|||||||
|
159 |
G605H |
6308/C4 |
1017 |
370 |
190.5 |
490 |
80.4 |
100C614H |
|||||||
|
1200 |
108 |
465 |
G406H |
6305/C4 |
1540 |
1600 |
1261 |
335 |
176 |
502 |
260 |
200 |
66.9 |
120C414H |
|
|
133 |
G506H |
6306/C4 |
1247 |
360 |
190.5 |
527 |
80.6 |
120C514H |
|||||||
|
159 |
G606H |
6308/C4 |
1242 |
390 |
207.5 |
556 |
101.3 |
120C614H |
|||||||
|
1400 |
108 |
530 |
G408H |
6305/C4 |
1740 |
1800 |
1433 |
350 |
184 |
548 |
280 |
220 |
75.5 |
140C414H |
|
|
133 |
G508H |
6306/C4 |
1418 |
380 |
198.5 |
573 |
89.0 |
140C514H |
|||||||
|
159 |
G608H |
6308/C4 |
1413 |
410 |
215.5 |
602 |
120.7 |
140C614H |
|||||||
|
保 留 品 种 |
|||||||||||||||
|
1200 |
159 |
465 |
GH4405 |
6306/C4 |
1540 |
1600 |
|
390 |
207.5 |
557 |
260 |
200 |
M16 |
88.5 |
05C0744 |
|
1400 |
530 |
GH4406 |
1740 |
1800 |
|
410 |
215.5 |
603 |
280 |
220 |
107.8 |
06C0744 |
|||
|
注:与中间架连接的紧固件包括在本部件内。 |
|||||||||||||||

