|
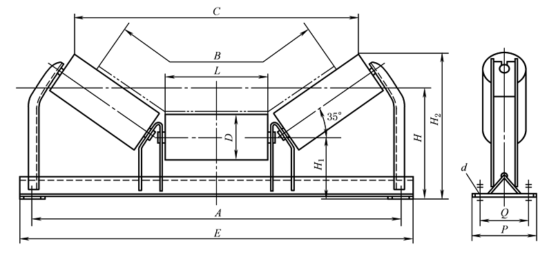
35°槽形托辊 /mm |
|||||||||||||||
|
一台输送机中使用最多的是35°槽形托辊和35°槽形前倾托辊。其选配有三种方式:a.全前倾;b.部分前倾(每5组上托辊中设一组前倾托辊);c.无前倾(采用调心托辊)。a、b两种方式使用较多
|
|||||||||||||||
|
带宽 B |
辊子 |
A |
E |
C |
H |
H1 |
H2 |
P |
Q |
d |
质量 /kg |
图号 |
|||
|
D |
L |
图号 |
轴承型号 |
||||||||||||
|
500 |
63.5 |
200 |
G102 |
6203/C4 |
740 |
800 |
569 |
200 |
119 |
272 |
170 |
130 |
M12 |
12.5 |
50C114 |
|
76 |
G202 |
6204/C4 |
565 |
210 |
122 |
284 |
14.9 |
50C214 |
|||||||
|
89 |
G302 |
559 |
220 |
135.5 |
298 |
15.8 |
50C314 |
||||||||
|
650 |
76 |
250 |
G203 |
890 |
950 |
698 |
225 |
122 |
315 |
16.6 |
65C214 |
||||
|
89 |
G303 |
691 |
235 |
135.5 |
327 |
17.1 |
65C314 |
||||||||
|
108 |
G403 |
6205/C4 |
683 |
265 |
146 |
346 |
21.3 |
65C414 |
|||||||
|
800 |
89 |
315 |
G304 |
6204/C4 |
1090 |
1150 |
862 |
245 |
135.5 |
364 |
22.1 |
80C314 |
|||
|
108 |
G404 |
6205/C4 |
855 |
270 |
146 |
383 |
26.7 |
80C414 |
|||||||
|
133 |
G504 |
6305/C4 |
840 |
305 |
159.5 |
407 |
33.2 |
80C514 |
|||||||
|
1000 |
108 |
380 |
G405 |
6205/C4 |
1290 |
1350 |
1037 |
300 |
159 |
437 |
220 |
170 |
M16 |
38.0 |
100C414 |
|
133 |
G505 |
6305/C4 |
1022 |
325 |
173.5 |
461 |
45.5 |
100C514 |
|||||||
|
159 |
G605 |
6306/C4 |
1017 |
370 |
190.5 |
490 |
57.1 |
100C614 |
|||||||
|
1200 |
108 |
465 |
G406 |
6205/C4 |
1540 |
1600 |
1261 |
335 |
176 |
502 |
260 |
200 |
50.5 |
120C414 |
|
|
133 |
G506 |
6305/C4 |
1247 |
360 |
190.5 |
527 |
59.2 |
120C514 |
|||||||
|
159 |
G606 |
6306/C4 |
1242 |
390 |
207.5 |
556 |
72.4 |
120C614 |
|||||||
|
1400 |
108 |
530 |
G408 |
6205/C4 |
1740 |
1800 |
1433 |
350 |
184 |
548 |
280 |
220 |
56.2 |
140C414 |
|
|
133 |
G508 |
6305/C4 |
1418 |
380 |
198.5 |
573 |
65.7 |
140C514 |
|||||||
|
159 |
G608 |
6306/C4 |
1413 |
410 |
215.5 |
602 |
87.8 |
140C614 |
|||||||
|
保 留 品 种 |
|||||||||||||||
|
800 |
108 |
315 |
GP2103 |
6204/C4 |
1090 |
1150 |
|
270 |
146 |
385 |
170 |
130 |
M12 |
24.3 |
03C0121 |
|
1000 |
380 |
GP2304 |
6305/C4 |
1290 |
1350 |
|
300 |
159 |
437 |
220 |
170 |
M16 |
38.7 |
04C0123 |
|
|
133 |
GP3204 |
6205/C4 |
|
325 |
173.5 |
462 |
43.5 |
04C0132 |
|||||||
|
1200 |
108 |
465 |
GP2305 |
6305/C4 |
1540 |
1600 |
|
335 |
176 |
503 |
260 |
200 |
51.2 |
05C0123 |
|
|
GP2405 |
6306/C4 |
|
55.1 |
05C0124 |
|||||||||||
|
133 |
GP3205 |
6205/C4 |
|
360 |
190.5 |
528 |
57.5 |
05C0132 |
|||||||
|
GP3405 |
6306/C4 |
|
63.5 |
05C0134 |
|||||||||||
|
159 |
GP4205 |
6205/C4 |
|
390 |
207.5 |
557 |
65.1 |
05C0142 |
|||||||
|
GP4305 |
6305/C4 |
|
66.4 |
05C0143 |
|||||||||||
|
1400 |
108 |
530 |
GP2306 |
1740 |
1800 |
|
350 |
184 |
548 |
280 |
220 |
56.6 |
06C0123 |
||
|
GP2406 |
6306/C4 |
|
68.8 |
06C0124 |
|||||||||||
|
133 |
|
GP3406 |
|
380 |
198.5 |
573 |
78.3 |
06C0134 |
|||||||
|
159 |
|
GP4306 |
6305/C4 |
|
410 |
215.5 |
603 |
74.8 |
06C0143 |
||||||
|
注:与中间架连接的紧固件包括在本部件内。 |
|||||||||||||||

