|
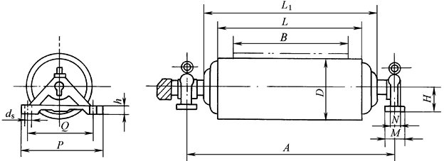
DTYⅡ型电动滚筒尺寸 |
|||||||||||
|
mm |
|||||||||||
|
D |
B |
A |
L |
H |
M |
N |
P |
Q |
h |
L1 |
ds |
|
500 |
500 |
850 |
620 |
100 |
70 |
— |
340 |
280 |
35 |
748 |
f 27 |
|
650 |
1000 |
750 |
120 |
90 |
— |
340 |
280 |
35 |
900 |
f 27 |
|
|
800 |
1300 |
950 |
120 |
90 |
— |
340 |
280 |
35 |
1100 |
f 27 |
|
|
630 |
650 |
1000 |
750 |
120 |
90 |
— |
340 |
280 |
35 |
868 |
f 27 |
|
800 |
1300 |
950 |
140 |
130 |
80 |
400 |
330 |
35 |
1068 |
f 27 |
|
|
1000 |
1500 |
1150 |
140 |
130 |
80 |
400 |
330 |
35 |
1268 |
f 27 |
|
|
1200 |
1750 |
1400 |
160 |
160 |
90 |
440 |
360 |
50 |
1514 |
f 34 |
|
|
1400 |
2000 |
1600 |
160 |
160 |
90 |
440 |
360 |
50 |
1720 |
f 34 |
|
|
800 |
800 |
1300 |
950 |
140 |
130 |
80 |
400 |
330 |
35 |
1068 |
f 27 |
|
1000 |
1500 |
1150 |
140 |
145 |
80 |
400 |
330 |
35 |
1268 |
f 27 |
|
|
1200 |
1750 |
1400 |
160 |
160 |
90 |
440 |
360 |
50 |
1514 |
f 34 |
|
|
1400 |
2000 |
1600 |
160 |
160 |
90 |
440 |
360 |
50 |
1720 |
f 34 |
|
|
1000 |
1000 |
1500 |
1150 |
140 |
145 |
80 |
400 |
330 |
35 |
1268 |
f 27 |
|
1200 |
1750 |
1400 |
160 |
160 |
90 |
440 |
360 |
50 |
1514 |
f 34 |
|
|
1400 |
2000 |
1600 |
160 |
160 |
90 |
440 |
360 |
50 |
1720 |
f 34 |
|

