|
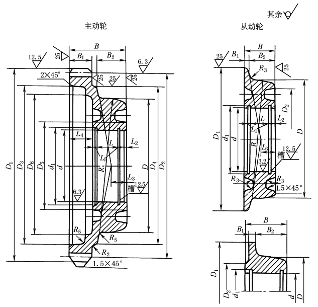
CD、MD电动葫芦用钢轮 |
||||||||||||||||||||||||||||
|
材料:45钢 调质硬度235~260HB 表1 齿的参数 |
||||||||||||||||||||||||||||
|
电动葫芦吨位系列 |
m |
z |
α |
ξ |
刀具移位量x |
|||||||||||||||||||||||
|
0.1~1 2~3 5~10 |
3 3 4 |
53 59 49 |
20° |
— -0.4 -0.4 |
— -1.2 -1.6 |
|||||||||||||||||||||||
|
表2 mm |
||||||||||||||||||||||||||||
|
主 动 轮 |
||||||||||||||||||||||||||||
|
电动葫芦 吨位系列 |
D |
D1 (h10) |
D2 |
D3 |
D4 |
D5 |
D6 |
d (K7) |
d1 |
B |
||||||||||||||||||
|
0.5~1 |
113.5 |
162.6 |
159 |
137 |
130 |
75 |
115 |
62 |
65 |
50 |
||||||||||||||||||
|
2~3 |
134 |
180.6 |
177 |
155 |
155 |
117 |
140 |
100 |
103.5 |
57 |
||||||||||||||||||
|
5~10 |
154 |
200.8 |
196 |
165 |
180 |
— |
— |
110 |
114 |
70 |
||||||||||||||||||
|
电动葫芦 吨位系列 |
B1 |
B2 |
L |
L1 |
L2 |
L3 |
L4 |
R |
质量 /kg |
|||||||||||||||||||
|
0.5~1 |
20 |
26 |
19+0.28 |
2.2+0.25 |
3.8 |
15 |
20 |
125 |
2.1 |
|||||||||||||||||||
|
2~3 |
22 |
30 |
27+0.28 |
3.2+0.25 |
3 |
18 |
17 |
144 |
2.95 |
|||||||||||||||||||
|
5~10 |
28 |
37 |
29+0.28 |
4.2+0.3 |
3.8 |
23 |
25 |
167 |
4.5 |
|||||||||||||||||||
|
从 动 轮 |
||||||||||||||||||||||||||||
|
电动葫芦 吨位系列 |
D |
D1 |
D2 |
d (K7) |
d1 |
B |
B1 |
|||||||||||||||||||||
|
0.1~0.25 |
83 |
100 |
76 |
62 |
37 |
25 |
4 |
|||||||||||||||||||||
|
0.5~1 |
113.5 |
130 |
— |
62 |
65 |
30 |
4 |
|||||||||||||||||||||
|
2~3 |
134 |
155 |
117 |
100 |
103.5 |
40 |
7 |
|||||||||||||||||||||
|
5~10 |
154 |
180 |
— |
110 |
114 |
45 |
8 |
|||||||||||||||||||||
|
电动葫芦 吨位系列 |
B2 |
L |
L1 |
L2 |
L3 |
R |
质量 /kg |
|||||||||||||||||||||
|
0.1~0.25 |
20 |
12+0.43 |
1.6+0.2 |
2 |
12.5 |
91.5 |
0.55 |
|||||||||||||||||||||
|
0.5~1 |
26 |
19+0.28 |
2.2+0.25 |
3.8 |
15 |
125 |
1.0 |
|||||||||||||||||||||
|
2~3 |
30 |
27+0.28 |
3.2+0.25 |
3 |
18 |
144 |
2.2 |
|||||||||||||||||||||
|
5~10 |
37 |
29+0.28 |
4.2+0.25 |
3.8 |
23 |
167 |
3.45 |
|||||||||||||||||||||

