|
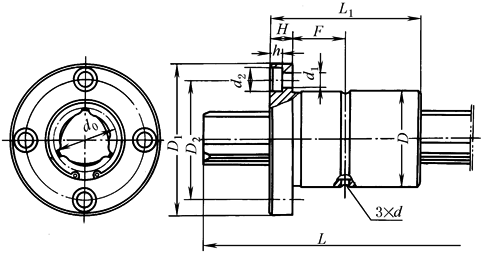
GJF型凸缘式滚动花键副结构尺寸 /mm |
||||||||||||||
|
|
||||||||||||||
|
型号 规格 |
公称 轴径 d0 |
外径 D |
套长度 L1 |
轴最大 长度 L |
法兰直径 D1 |
安装孔 中心径 D2 |
法兰 厚度 H |
沉孔 深度 h |
油 孔 d |
沉孔 直径 d2 |
过孔 直径 d1 |
油孔 位置 F |
基本额定转矩 |
|
|
动转矩 CT /N·m |
静转矩 C0T /N·m |
|||||||||||||
|
GJF15① |
15 |
|
|
300 |
|
32 |
7 |
4.4 |
2 |
8 |
4.5 |
13 |
27 |
45 |
|
GJF20 |
20 |
|
|
500 |
|
38 |
7 |
4.4 |
3 |
8 |
4.5 |
18 |
64 |
90 |
|
GJF25 |
25 |
|
|
700 |
|
47 |
9 |
5 |
3 |
10 |
5.8 |
21 |
134 |
184 |
|
GJF30 |
30 |
|
|
1000 |
|
54 |
10 |
6 |
3 |
11 |
6.6 |
25 |
238 |
317 |
|
GJF32 |
32 |
|
|
1000 |
|
57 |
10 |
6 |
3 |
12 |
7 |
25 |
238 |
317 |
|
GJF40 |
40 |
|
|
1200 |
|
70 |
14 |
7 |
4 |
15 |
9 |
31 |
523 |
670 |
|
GJF50 |
50 |
|
|
1200 |
|
86 |
16 |
9 |
4 |
18 |
11 |
34 |
956 |
1146 |
|
GJF60 |
60 |
|
|
1200 |
|
102 |
18 |
11 |
4 |
18 |
11 |
45.5 |
1631 |
2262 |
|
GJF70 |
70 |
|
|
1200 |
|
117 |
20 |
13 |
4 |
20 |
14 |
47.5 |
2617 |
3597 |
|
GJF85 |
85 |
|
|
1200 |
|
138 |
22 |
13 |
5 |
20 |
13 |
55.5 |
4139 |
5635 |
|
① 非标产品。 注:1.花键轴套,采用渗碳钢制造,滚道硬度为58~63HRC,法兰硬度≤30HRC,必要时可配钻铰定位销孔防止周向松动。 2.花键轴套有特殊要求可特殊订货。 3.生产厂为南京工艺装备厂。 |
||||||||||||||

