|
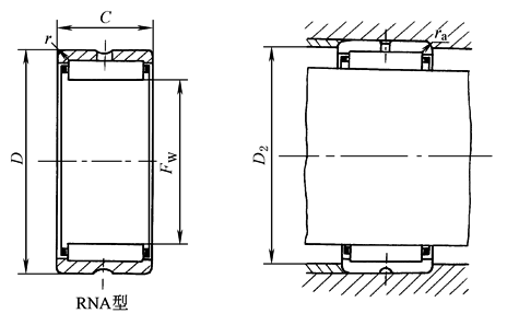
无内圈滚针有保持架轴承(摘自GB/T 5801—2020) |
|||||||||||
|
|
符号含义及应用 RNA—无内圈的实体滚针轴承 径向尺寸小,承受的径向载荷大,对轴颈的加工精度与热处理要求高,不能承受轴向载荷,不能限制轴向位移,一般用压配合装入座孔。 |
||||||||||
|
基本尺寸/mm |
基本额定载荷/kN |
极限转速/r·min-1 |
质量/g |
轴承代号 |
安装尺寸/mm |
||||||
|
FW |
D |
C |
r min |
Cr |
C0r |
脂 |
油 |
W ≈ |
RNA型 |
D2 max |
ra max |
|
7 |
13 |
10 |
0.15 |
— |
— |
— |
— |
— |
RNA 49/5 |
— |
— |
|
|
|
|
|
|
|
|
|
|
|
|
|
|
8 |
15 |
10 |
0.15 |
— |
— |
— |
— |
— |
RNA 49/6 |
— |
— |
|
|
|
|
|
|
|
|
|
|
|
|
|
|
9 |
17 |
10 |
0.15 |
— |
— |
— |
— |
— |
RNA 49/7 |
— |
— |
|
|
|
|
|
|
|
|
|
|
|
|
|
|
10 |
19 |
11 |
0.2 |
— |
— |
— |
— |
— |
RNA 49/8 |
— |
— |
|
|
|
|
|
|
|
|
|
|
|
|
|
|
12 |
20 |
11 |
0.3 |
— |
— |
— |
— |
— |
RNA 49/9 |
— |
— |
|
|
|
|
|
|
|
|
|
|
|
|
|
|
14 |
22 |
13 |
0.3 |
8.60 |
9.20 |
15000 |
22000 |
16.8 |
RNA 4900 |
20 |
0.3 |
|
|
22 |
22 |
0.3 |
— |
— |
— |
— |
— |
RNA 6900 |
— |
— |
|
|
|
|
|
|
|
|
|
|
|
|
|
|
16 |
24 |
13 |
0.3 |
9.60 |
10.8 |
13000 |
19000 |
18.8 |
RNA 4901 |
22 |
0.3 |
|
|
24 |
22 |
0.3 |
16.2 |
21.5 |
13000 |
19000 |
32.1 |
RNA 6901 |
22 |
0.3 |
|
|
|
|
|
|
|
|
|
|
|
|
|
|
20 |
28 |
13 |
0.3 |
10.2 |
10.8 |
10000 |
16000 |
22.2 |
RNA 4902 |
26 |
0.3 |
|
|
28 |
23 |
0.3 |
17.5 |
25.2 |
10000 |
16000 |
63.7 |
RNA 6902 |
26 |
0.3 |
|
|
|
|
|
|
|
|
|
|
|
|
|
|
22 |
30 |
13 |
0.3 |
11.2 |
14.5 |
9500 |
15000 |
24.1 |
RNA 4903 |
28 |
0.3 |
|
|
30 |
23 |
0.3 |
19.0 |
28.8 |
9500 |
15000 |
43.1 |
RNA 6903 |
28 |
0.3 |
|
|
|
|
|
|
|
|
|
|
|
|
|
|
25 |
37 |
17 |
0.3 |
21.2 |
25.2 |
9000 |
14000 |
56.7 |
RNA 4904 |
35 |
0.3 |
|
|
37 |
30 |
0.3 |
35.2 |
48.5 |
9000 |
14000 |
101 |
RNA 6904 |
35 |
0.3 |
|
|
|
|
|
|
|
|
|
|
|
|
|
|
28 |
39 |
17 |
0.3 |
23.2 |
29.2 |
9000 |
13000 |
54.4 |
RNA 49/22 |
37 |
0.3 |
|
|
39 |
30 |
0.3 |
38.5 |
56.2 |
9000 |
13000 |
96.5 |
RNA 69/22 |
37 |
0.3 |
|
|
|
|
|
|
|
|
|
|
|
|
|
|
30 |
42 |
17 |
0.3 |
24.0 |
31.2 |
8000 |
12000 |
66.2 |
RNA 4905 |
40 |
0.3 |
|
|
42 |
30 |
0.3 |
40.0 |
60.2 |
8000 |
12000 |
117 |
RNA 6905 |
40 |
0.3 |
|
|
|
|
|
|
|
|
|
|
|
|
|
|
32 |
45 |
17 |
0.3 |
24.8 |
33.2 |
7500 |
11000 |
79 |
RNA 49/28 |
43 |
0.3 |
|
|
45 |
30 |
0.3 |
41.5 |
64.2 |
7500 |
11000 |
140 |
RNA 69/28 |
43 |
0.3 |
|
|
|
|
|
|
|
|
|
|
|
|
|
|
35 |
47 |
17 |
0.3 |
25.5 |
35.5 |
7000 |
10000 |
74.7 |
RNA 4906 |
45 |
0.3 |
|
|
47 |
30 |
0.3 |
42.8 |
68.5 |
7000 |
10000 |
133 |
RNA 6906 |
45 |
0.3 |
|
|
|
|
|
|
|
|
|
|
|
|
|
|
40 |
52 |
20 |
0.6 |
31.5 |
48.5 |
6300 |
9000 |
98.7 |
RNA 49/32 |
48 |
0.6 |
|
|
52 |
36 |
0.6 |
48.0 |
83.2 |
6300 |
9000 |
— |
RNA 69/32 |
48 |
0.6 |
|
|
|
|
|
|
|
|
|
|
|
|
|
|
42 |
55 |
20 |
0.6 |
32.5 |
51.0 |
6000 |
8500 |
1163 |
RNA 4907 |
51 |
0.6 |
|
|
55 |
36 |
0.6 |
49.5 |
87.2 |
6000 |
8500 |
— |
RNA 6907 |
51 |
0.6 |
|
|
|
|
|
|
|
|
|
|
|
|
|
|
48 |
62 |
22 |
0.6 |
43.5 |
66.2 |
5000 |
7000 |
146 |
RNA 4908 |
58 |
0.6 |
|
|
62 |
40 |
0.6 |
62.8 |
108 |
5000 |
7000 |
— |
RNA 6908 |
58 |
0.6 |
|
|
|
|
|
|
|
|
|
|
|
|
|
|
52 |
68 |
22 |
0.6 |
46.0 |
73.0 |
4800 |
6700 |
194 |
RNA 4909 |
64 |
0.6 |
|
|
68 |
40 |
0.6 |
67.2 |
118 |
4800 |
6700 |
— |
RNA 6909 |
64 |
0.6 |
|
|
|
|
|
|
|
|
|
|
|
|
|
|
58 |
72 |
22 |
0.6 |
48.2 |
80.0 |
4500 |
6300 |
172 |
RNA 4910 |
68 |
0.6 |
|
|
72 |
40 |
0.6 |
70.2 |
128 |
4500 |
6300 |
— |
RNA 6910 |
68 |
0.6 |
|
|
|
|
|
|
|
|
|
|
|
|
|
|
63 |
80 |
25 |
1 |
58.5 |
99.0 |
4000 |
5600 |
274 |
RNA 4911 |
75 |
1 |
|
|
80 |
45 |
1 |
87.8 |
168 |
4000 |
5600 |
— |
RNA 6911 |
75 |
1 |
|
|
|
|
|
|
|
|
|
|
|
|
|
|
68 |
85 |
25 |
1 |
61.2 |
108 |
3800 |
5300 |
294 |
RNA 4912 |
80 |
1 |
|
|
85 |
45 |
1 |
90.8 |
182 |
3800 |
5300 |
|
RNA 6912 |
80 |
1 |
|
|
|
|
|
|
|
|
|
|
|
|
|
|
72 |
90 |
25 |
1 |
62.2 |
112 |
3600 |
5000 |
335 |
RNA 4913 |
85 |
1 |
|
|
90 |
45 |
1 |
93.2 |
188 |
3600 |
5000 |
— |
RNA 6913 |
85 |
1 |
|
|
|
|
|
|
|
|
|
|
|
|
|
|
80 |
100 |
30 |
1 |
84.0 |
152 |
3200 |
4500 |
491 |
RNA 4914 |
95 |
1 |
|
|
100 |
54 |
1 |
130 |
260 |
3200 |
4500 |
— |
RNA 6914 |
95 |
1 |
|
|
|
|
|
|
|
|
|
|
|
|
|
|
85 |
105 |
30 |
1 |
85.5 |
158 |
3000 |
4300 |
515 |
RNA 4915 |
100 |
1 |
|
|
105 |
54 |
1 |
130 |
270 |
3000 |
4300 |
— |
RNA 6915 |
100 |
1 |
|
|
|
|
|
|
|
|
|
|
|
|
|
|
90 |
110 |
30 |
1 |
89.0 |
170 |
2800 |
4000 |
544 |
RNA 4916 |
105 |
1 |
|
|
110 |
54 |
1 |
135 |
292 |
2800 |
4000 |
— |
RNA 6916 |
105 |
1 |
|
|
|
|
|
|
|
|
|
|
|
|
|
|
100 |
120 |
35 |
1.1 |
12 |
235 |
2400 |
3600 |
687 |
RNA 4917 |
113.5 |
1 |
|
|
120 |
63 |
1.1 |
155 |
365 |
2400 |
3600 |
— |
RNA 6917 |
113.5 |
1 |
|
|
|
|
|
|
|
|
|
|
|
|
|
|
105 |
125 |
35 |
1.1 |
115 |
250 |
2200 |
3400 |
721 |
RNA 4918 |
118.5 |
1 |
|
|
125 |
63 |
1.1 |
165 |
388 |
2200 |
3400 |
— |
RNA 6918 |
118.5 |
1 |
|
|
|
|
|
|
|
|
|
|
|
|
|
|
110 |
130 |
35 |
1.1 |
120 |
265 |
2000 |
3200 |
754 |
RNA 4919 |
123.5 |
1 |
|
|
130 |
63 |
1.1 |
172 |
412 |
2000 |
3200 |
— |
RNA 6919 |
123.5 |
1 |
|
|
|
|
|
|
|
|
|
|
|
|
|
|
115 |
140 |
40 |
1.1 |
130 |
270 |
2000 |
3200 |
1180 |
RNA 4920 |
133.5 |
1 |
|
|
140 |
71 |
1.1 |
202 |
480 |
2000 |
3200 |
— |
RNA 6920 |
133.5 |
1 |
|
|
|
|
|
|
|
|
|
|
|
|
|
|
120 |
140 |
30 |
1 |
93.0 |
210 |
2000 |
3200 |
718 |
RNA 4822 |
135 |
1 |
|
125 |
150 |
40 |
1.1 |
138 |
295 |
1900 |
3000 |
1275 |
RNA 4922 |
143.5 |
1 |
|
130 |
150 |
30 |
1 |
96.2 |
225 |
1900 |
3000 |
771 |
RNA 4824 |
145 |
1 |
|
135 |
165 |
45 |
1.1 |
180 |
382 |
1800 |
2800 |
1870 |
RNA 4924 |
158.5 |
1 |
|
145 |
165 |
35 |
1.1 |
118 |
302 |
1700 |
2600 |
990 |
RNA 4826 |
158.5 |
1 |
|
150 |
180 |
50 |
1.5 |
202 |
460 |
1600 |
2400 |
2280 |
RNA 4926 |
172 |
1.5 |
|
155 |
175 |
35 |
1.1 |
122 |
320 |
1600 |
2400 |
1050 |
RNA 4828 |
168.5 |
1 |
|
160 |
190 |
50 |
1.5 |
210 |
488 |
1500 |
2200 |
2410 |
RNA 4928 |
182 |
1.5 |
|
165 |
190 |
40 |
1.1 |
152 |
395 |
1500 |
2200 |
1670 |
RNA 4830 |
183.5 |
1 |
|
175 |
200 |
40 |
1.1 |
158 |
418 |
1500 |
2200 |
1760 |
RNA 4832 |
193.5 |
1 |
|
185 |
215 |
45 |
1.1 |
192 |
520 |
1300 |
2000 |
2640 |
RNA 4834 |
208.5 |
1 |
|
195 |
225 |
45 |
1.1 |
198 |
552 |
1200 |
1900 |
2770 |
RNA 4836 |
218.5 |
1 |
|
210 |
240 |
50 |
1.5 |
230 |
688 |
1200 |
1800 |
3290 |
RNA 4838 |
232 |
1.5 |
|
220 |
250 |
50 |
1.5 |
235 |
725 |
1100 |
1700 |
3440 |
RNA 4840 |
242 |
1.5 |
|
240 |
270 |
50 |
1.5 |
245 |
785 |
950 |
1500 |
3730 |
RNA 4844 |
262 |
1.5 |
|
265 |
300 |
60 |
2 |
352 |
1050 |
900 |
1400 |
552 |
RNA 4848 |
291 |
2 |
|
285 |
320 |
60 |
2 |
368 |
1130 |
800 |
1200 |
5910 |
RNA 4852 |
311 |
2 |
|
305 |
350 |
69 |
2 |
445 |
1310 |
750 |
1100 |
9700 |
RNA 4856 |
341 |
2 |
|
330 |
380 |
80 |
2.1 |
608 |
1700 |
750 |
1100 |
13100 |
RNA 4860 |
369 |
2.1 |
|
350 |
400 |
80 |
2.1 |
630 |
1820 |
700 |
1000 |
13900 |
RNA 4864 |
389 |
2.1 |
|
370 |
420 |
80 |
2.1 |
642 |
1900 |
670 |
950 |
14600 |
RNA 4868 |
409 |
2.1 |
|
390 170 180 190 205 215 225 245 265 290 310 340 360 380 400 430 450 470 490 |
440 210 220 230 250 260 280 300 320 360 380 420 440 460 480 520 540 560 600 |
80 60 60 60 69 69 80 80 80 100 100 118 118 118 118 140 140 140 160 |
2.1 2 2 2 2 2 2.1 2.1 2.1 2.1 2.1 3 3 3 3 4 4 4 4 |
662 |
2010 |
630 |
900 |
15300 |
RNA 4872 RNA 4930 RNA 4932 RNA 4934 RNA 4936 RNA 4938 RNA 4940 RNA 4944 RNA 4948 RNA 4952 RNA 4956 RNA 4960 RNA 4964 RNA 4968 RNA 4972 RNA 4976 RNA 4980 RNA 4984 RNA 4988 |
429 |
2.1 |
|
|
|||||||||||
|
|
|||||||||||
|
|
|||||||||||
|
|
|||||||||||
|
|
|||||||||||
|
|
|||||||||||
|
|
|||||||||||
|
|
|||||||||||
|
|
|||||||||||
|
|
|||||||||||
|
|
|||||||||||
|
|
|||||||||||
|
|
|||||||||||
|
|
|||||||||||
|
|
|||||||||||
|
|
|||||||||||
|
注:滚针轴承可带或不带保持架,可具有一列或两列滚针,外圈上可有或无润滑槽和润滑孔。 |
|||||||||||

