|
滚动轴承选择计算例题(例8) |
|
|
|
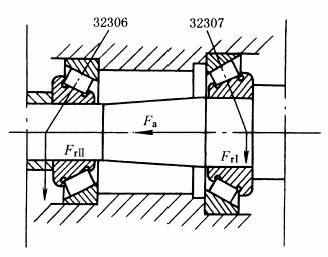
已知条件:某传动机构由两个单列圆锥滚子轴承支承,如上图所示,轴承Ⅰ选用32307型轴承,轴承Ⅱ选用32306型轴承,轴承转速n=1380r/min,两轴承受力FrⅠ=4000N、FrⅡ=4250N,外加轴向力Fa=350N,方向如图。计算两轴承寿命 解:查表单列圆锥滚子轴承得:CrⅠ=99000N eⅠ=0.31 YⅠ=1.9 Y0Ⅰ=1.1 CrⅡ=81500N eⅡ=0.31 YⅡ=1.9 Y0Ⅱ=1.1
查表速度因数fn值、表冲击载荷因数fd、表温度因数fT得: fn=0.327, fd=1.5, fm=fT=1
查表寿命因数fh值得:LhⅠ=100000h,LhⅡ=55800h 轴承Ⅰ寿命为100000h,轴承Ⅱ寿命为55800h |





