|
毛细管节流径向液体静压轴承 |
||||
|
已知:径向轴承直径D=6cm,要求径向轴承的油膜刚度G0=148N/μm,设计毛细管节流有周向回油四油腔对称等面积径向轴承 |
||||
|
项 目 |
单位 |
公 式 及 结 果 |
||
|
确 定 轴 承 结 构 尺 寸 |
|
|
根据轴承直径D=6cm,选择L/D=1,l1/D=0.1按表径向轴承的D、L/D、L、l1、l尺寸及表径向轴承的n、D、θ、θ1、θ2、Z1、Z2尺寸得: |
|
|
轴承宽度L |
cm |
6 |
||
|
油腔宽度l |
cm |
4.8 |
||
|
轴向封油面宽度l1 |
cm |
0.6 |
||
|
油腔夹角θ |
(°) |
60 |
||
|
周向封油面夹角θ1 |
(°) |
12 |
||
|
回油槽夹角θ2 |
(°) |
6 |
||
|
回油槽深度Z2 |
cm |
0.06 |
||
|
周向封油面宽度b1 |
cm |
b1=Dsin(θ1/2)=6×sin(12°/2)=0.63 |
||
|
回油槽宽度b2 |
cm |
b2=Dsin(θ2/2)=6×sin(6°/2)=0.31 |
||
|
油腔有效夹角θm |
(°) |
θm=θ/2+θ1/2=60°/2+12°/2=36° |
||
|
确 定 轴 承 其 他 参 数 |
轴承有效承载面积Ae |
cm2 |
根据表油垫流量系数、有效承载面积系数、周向流量系数和腔内孔流量系数公式
|
|
|
润滑油 |
|
根据表润滑油的选择的推荐,毛细管节流静压轴承选择AN32号全损耗系统用油。AN32号全损耗系统用油在50℃时的动力粘度η50和运动粘度γ50分别为 η50=193N·s/cm2,γ50=0.22cm2/s |
||
|
节流比β |
|
β=0.5时,轴承具有最佳刚度,故选择β=0.5 |
||
|
供油压力ps |
N/cm2 |
供油压力的选择原则是:满足轴承最大承载能力和足够刚度条件下,使供油装置功率消耗最小 一般选择ps≥98,现取ps=147 |
||
|
轴承半径间隙h0 |
cm |
根据表刚度系数
由表液体静压轴承计算的基本公式公式
|
||
|
确 定 轴 承 其 他 参 数 |
毛细管直径dc 毛细管长度lc |
cm |
根据表液体静压轴承计算的基本公式公式 根据表油垫流量系数、有效承载面积系数、周向流量系数和腔内孔流量系数公式
|
|
|
油腔深度Z1 |
cm |
Z1=(30~60)h0 =(30~60)×2×10-3=0.06~0.12 取 Z1=0.1 |
||
|
轴承流量4Q0 |
cm3/s |
查表油垫流量系数、有效承载面积系数、周向流量系数和腔内孔流量系数
|
||
|
油泵额定流量Q泵 |
cm3/s |
根据推荐,油泵额定流量应为计算流量的1.5~2倍,则 Q泵=(1.5~2)Q计总=(1.5~2)(Q径总+Q推总) |
||
|
验算毛细管层流条件 |
|
根据表液体静压轴承计算的基本公式公式: Re= 毛细管长径比lc/dc=12.18/0.056=217.5>20 毛细管层流起始段长度 ljc=0.065dcRe=0.065×0.056×74.67=0.27<12.18,满足层流条件 |
||
|
项 目 |
公 式 及 结 果 |
|||
|
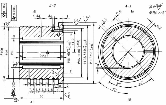
工 作 图 |
|
|||
|
技 术 要 求 |
||||
|
1.材料为(ZQSn-6-6-3)锡青铜或HT200铸铁,铸件不得有砂眼、缩孔和疏松缺陷,应时效处理; 2.f 60内孔和主轴配合半径间隙0.022±0.002; |
3.f100外圆和箱体孔配合过盈0.006±0.002; 4.四个油腔及四个回油槽对称分布; 5.锐边倒钝(包括油腔和回油槽) |
|||
|
轴 承 工 作 图 |
||||
|
|
技 术 要 求 1.注射针管和管接头焊接牢固,不得漏油; 2.同一轴承各节流器在相同温度下的流量允差10% |
|||









