|
圆锥过盈连接的计算举例 |
||||||
|
|
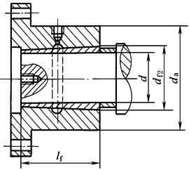
已知条件: 包容件材料为35CrMo,调质硬度为269~302HB 被包容件材料为35CrMo,调质硬度为269~302HB 中间套材料为45,调质硬度为241~286HB 包容件外径 da=460mm 被包容件内径 di=0 结合面最大圆锥直径df2=320mm 结合面长度lf=400mm 结合面锥度C=1∶50 外锥中间套圆柱面直径d=300mm |
包容件与被包容件材料的屈服点 σsa=σsi=540MPa 包容件与被包容件材料的弹性模量 Ea=Ei=210000MPa 中间套材料的弹性模量E=210000MPa 包容件与被包容件材料的泊松比 νa=νi=0.3 传递转矩T=370kN·m 承受轴向力Fx=470kN 圆锥结合面轮廓算术平均偏差 Raa=Rai=0.0016mm 圆柱结合面轮廓算术平均偏差 Raaa=Raai=0.0016mm |
||||
|
序号 |
计 算 内 容 |
计算公式和结果 |
||||
|
1 |
传递 载荷 所需 的最 小过 盈量 |
传递载荷所需的最小结合压强 |
根据连接特性,取K=1.5;查表纵向过盈连接的摩擦因数μ得μ=0.12 |
|||
|
2 |
直径比 |
包容件 |
|
|||
|
3 |
被包容件 |
|
||||
|
4 |
传递载荷所需的最小直径变化量 |
包容件 |
查表系数Ca和Ci得Ca=3.0877(内插法)
|
|||
|
5 |
被包容件 |
查表系数Ca和Ci得Ci=0.7
|
||||
|
6 |
传递载荷所需的最小有效过盈量 |
δemin=eamin+eimin=0.3494+0.0792=0.4286mm |
||||
|
7 |
考虑压平量后的所需最小过盈量 |
Sa=1.6(Raa+Raaa) Si=1.6(Rai+Raii) δmin=δemin+2(Sa+Si) =0.4286+2×[1.6×(0.0016+0.0016)+1.6×(0.0016+0.0016)] =0.4491mm |
||||
|
8 |
不产 生塑 性变 形所 允许 的最 大过 盈量 |
不产生塑性变形所允许的最大结合压强 |
包容件 |
或查图 pfmax=aσsa=0.2941×540=158.8MPa |
||
|
9 |
被包容件 |
pfmax=cσsi=0.5×540=270MPa |
||||
|
10 |
被连接件 |
取pfamin和pfimax中的较小者,pfmax=158.8MPa |
||||
|
11 |
被连接件不产生塑性变形所允许的传递力 |
Ft=pfmaxpdmlf μ=158.8×π×316×400×0.12=7567086N |
||||
|
12 |
不产生塑性变形所允许的最大直径变化量 |
包容件 |
|
|||
|
13 |
被包容件 |
|
||||
|
14 |
被连接件不产生塑性变形所允许的最大有效过盈量 |
δemax=eamax+eimax=0.7378+0.1673=0.9051mm |
||||
|
15 |
选 择 配 合 |
满足连接要求的最小和最大过盈量 |
[δmin]>0.4491mm [δmax]≤0.9051mm |
|||
|
16 |
选取内、外圆锥直径公差及配合 |
选取内锥H7、外锥x6 |
||||
|
17 |
所选配合实际最小和最大过盈量 |
根据配合H7/x6,在dm=316mm上的偏差分别为 [δmin]=0.590-0.057=0.533mm [δmax]=0.626-0=0.626mm 已考虑了安全系数,故使[δmin]接近δmin |
||||
|
18 |
油 压 装 拆 参 数 |
外锥中间套与相关件圆柱面配合间隙 |
最大间隙 Xmax=0.069-(-0.052)=0.121mm 最小间隙 Xmin=0.017-0=0.017mm |
|||
|
19 |
轴向位移的极限值(压入行程) |
|
||||
|
20 |
装配时中间套变形所需的压强 |
|
||||
|
21 |
实际最大结合压强 |
|
||||
|
22 |
需要的装拆油压 |
px=1.1[pfmax]=1.1×114=125.4MPa |
||||
|
23 |
需要的压入力 |
|
||||
|
24 |
需要的压出力 |
|
||||
|
25 |
校 核 计 算 |
实际最小结合压强 |
Sa=1.6×(0.0016+0.0016)=0.00512mm Si=1.6×(0.0016+0.0016)=0.00512mm
|
|||
|
26 |
传递最小载荷 |
传递转矩 |
|
|||
|
传递力 |
Ftmin=[pfmin]pdmlfμ=89.92×p×316×400×0.12=4284.84kN |
|||||
|
27 |
装拆时实际最大应力 |
包容件 |
|
|||
|
28 |
被包容件 |
|
||||
|
29 |
被连 接件 直径 变化 量 |
包容件外径增大量 |
|
|||
|
30 |
被包容件内径减小量 |
因为是实心轴,di=0,故△di=0 |
||||









