|
铆钉汇总表 mm |
|||||||||||||
|
铆
钉
种
类 |
名称 |
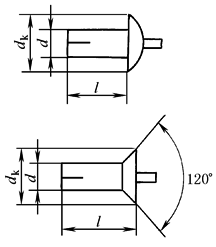
半圆头铆钉(粗制) |
小半圆头铆钉(粗制) |
半圆头铆钉 |
沉头铆钉(粗制) |
沉头铆钉 |
|||||||
|
图形 |
|
|
|||||||||||
|
标准 |
GB/T 863.1—1986① |
GB/T 863.2—1986① |
GB/T 867—1986① |
GB/T 865—1986① |
GB/T 869—1986① |
||||||||
|
规格 |
d=12~36 l=20~200 |
d=10~36 l=12~200 |
d=0.6~16 l=1~110 |
d=12~36 l=20~200 |
d=1~16 l=2~100 |
||||||||
|
名称 |
平锥头铆钉 |
平锥头铆钉(粗制) |
半沉头铆钉(粗制) |
半沉头铆钉 |
扁平头铆钉 |
||||||||
|
图形 |
|
|
|
||||||||||
|
标准 |
GB/T 868—1986① |
GB/T 864—1986 |
GB/T 866—1986 |
GB/T 870—1986 |
GB/T 872—1986① |
||||||||
|
规格 |
d=2~16 l=3~110 |
d=12~36 l=20~200 |
d=12~36 l=20~200 |
d=1~16 l=2~100 |
d=1.2~10 l=1.5~50 |
||||||||
|
名称 |
扁圆头铆钉 |
120°沉头铆钉 |
扁平头半空心铆钉 |
扁圆头半空心铆钉 |
120°沉头半空心铆钉 |
||||||||
|
图形 |
|
|
|
|
|
||||||||
|
标准 |
GB/T 871—1986 |
GB/T 954—1986 |
GB/T 875—1986① |
GB/T 873—1986① |
GB/T 874—1986 |
||||||||
|
规格 |
d=1.2~10 l=1.5~50 |
d=1.2~8 l=1.5~50 |
d=1.2~10 l=1.5~50 |
d=1.2~10 l=1.5~50 |
d=1.2~8 l=1.5~50 |
||||||||
|
名称 |
空心铆钉 |
管状铆钉 |
标牌用钉 |
大扁圆头铆钉 |
120°半沉头铆钉 |
||||||||
|
图形 |
|
|
|
|
|
||||||||
|
标准 |
GB/T 876—1986① |
GB/T 975—1986 |
GB/T 827—1986① |
GB/T 1011—1986 |
GB/T 1012—1986 |
||||||||
|
规格 |
d=1.4~6 l=1.5~15 |
d=0.7~20 l=1~40 |
d=1.6~5 l=3~20 |
d=2~8 l=3.5~50 |
d=3~6 l=5~40 |
||||||||
|
名称 |
平锥头半空心铆钉 |
大扁圆头半空心铆钉 |
沉头半空心铆钉 |
无头铆钉 |
平头铆钉 |
||||||||
|
图形 |
|
|
|
|
|
||||||||
|
标准 |
GB/T 1013—1986 |
GB/T 1014—1986 |
GB/T 1015—1986 |
GB/T 1016—1986 |
GB/T 109—1986 |
||||||||
|
规格 |
d=1.4~10 l=3~50 |
d=2~8 l=4~40 |
d=1.4~10 l=3~50 |
d=1.4~10 l=6~60 |
d=2~10 l=4~30 |
||||||||
|
名称 |
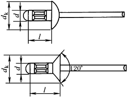
封闭型扁圆头抽芯铆钉 |
封闭型沉头抽芯铆钉 |
开口型沉头抽芯铆钉 |
开口型扁圆头抽芯铆钉 |
|||||||||
|
图形 |
|
|
|
|
|||||||||
|
标准 |
GB/T 12615—2004 |
GB/T 12616—2004 |
GB/T 12617.1~5—2006 |
GB/T 12618.1~6—2006 |
|||||||||
|
规格 |
d=3~6 l=6~18 |
d=3~6 l=6~18 |
d=3~6 l=7~40 |
d=3~6 l=7~40 |
|||||||||
|
名称 |
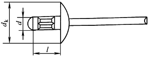
开口型大帽沿抽芯铆钉 |
封闭型大帽沿抽芯铆钉 |
环槽铆钉 |
||||||||||
|
图形 |
|
|
|
||||||||||
|
标准 |
GB/T 12618—1990 |
GB/T 12615—2004 |
上海安字实业有限公司 |
||||||||||
|
规格 |
d=3.2~5 l=8~24 |
d=3.2~5 l=6~20 |
d=5~10 l=4~26 |
||||||||||
|
名称 |
击芯铆钉 |
沟槽型抽芯铆钉 |
双鼓型抽芯铆钉 |
||||||||||
|
图形 |
|
|
|
||||||||||
|
标准 |
上海安字实业有限公司 |
||||||||||||
|
规格 |
d=4.8~6.4 l=7~45 |
d=3.2~4.8 l=10~26 |
d=3.2~4.8 l=8~26 |
||||||||||
|
名称 |
双鼓型大帽沿抽芯铆钉 |
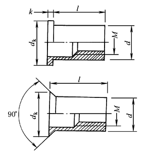
铆 螺 母 |
|||||||||||
|
图形 |
|
|
图形(略) |
||||||||||
|
标准 |
上海安字实业有限公司 |
GB/T 17880.1~5—1999 |
|||||||||||
|
规格 |
d=3.2~4.8 l=8~26 |
d=5~13 l=7.5~24 |
d=5~15 l=7.5~27 |
||||||||||
|
特 性 与 用 途 |
铆钉用于少数受严重冲击或振动载荷的金属结构、某些异性金属的连接以及铝合金等焊接性能不良的金属连接 |
||||||||||||
|
实心铆钉——多用于受剪力大的金属连接处 空心铆钉——用于受剪力不大处,常用于连接塑料、皮革、木料、帆布等 半空心铆钉——多用于金属薄板与其他非金属材料零件,可承受和实心铆钉一样的剪刀 半圆头铆钉——应用最普遍,多作强固接缝和强密接缝用 沉头铆钉——用在零件表面需平滑的地方 半沉头铆钉——用在零件表面需光滑、受载荷不大的地方 平头铆钉——作强固接缝用 扁图头半空心铆钉,扁平头铆钉——用于金属薄板或皮革、帆布、木料、塑料等 |
|||||||||||||
|
抽芯铆钉应用很广,适用于各种车辆、船舶、锅炉、印染、机械、电信器材及建筑等行业,使用方便、高效、牢固、抗震,能铆接复杂件及管件,并具有水密、气密性 铆螺母——工件被铆接后,能将相应规格的螺钉旋入铆螺母螺纹孔内,起到连接其他构件的作用 沟槽型抽芯铆钉——盲面铆接紧固件。铆钉表面带沟槽,在盲孔内膨胀后,沟槽嵌入被铆构件的孔壁内,起铆接作用,本产品适用于硬质纤维、胶合板、玻璃纤维、塑料、石棉板、木块等非金属构件铆接 双鼓型抽芯铆钉——铆接后呈两个鼓形。具有对各种薄如纸的构件进行铆接不松动、不变形的特点。适用各种铆接领域(被铆接件厚度增加,只出现一个鼓形) 击芯铆钉——广泛应用于各种客车、航空、船舶、机械制造、电信器材、铁木家具等 环槽铆钉——机械强度高,铆接牢固,最大特点是抗震性好 |
|||||||||||||
|
①商品品种,应优先选用。 |
|||||||||||||
































