|
间歇运动机构 |
|||||||||||
|
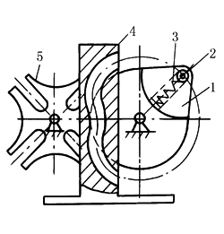
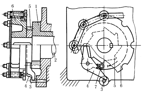
图1中,主动凸轮1绕O1匀速转动,带动从动销轮2绕O2作间歇运动。凸轮1旋转时由侧面e推动销a,继而又以沟槽侧面f 、g推动销b、d,使从动销轮2转动,直到b、d被推出凸轮沟槽,轮2被锁住,如图c。凸轮转1圈,销轮2转90°。设计凸轮工作面的廓线时,应使从动轮2转动时的加速度连续,不突变,这样运转平稳,冲击小。这种机构能用于高速,如电影放映机 |
|||||||||||
|
图1 平面凸轮间歇机构 |
|||||||||||
|
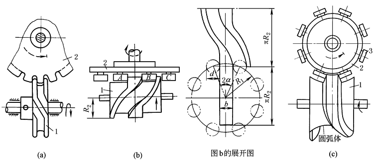
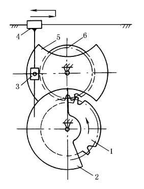
图2中,销轮5与蜗轮6固联,由蜗杆1带动,槽轮2与齿轮3固联,齿轮4由齿轮3带动。图示机构满足分度角为定值(齿轮4每次转90°)有较好的动力特性,槽轮槽数较多,动力性能较好,但会导致机构尺寸增大 图3中,主动拨盘1上的柱销2可在拨盘上的滑槽中径向移动,并由弹簧3支撑,构件4固定凸轮板,其上开有曲线槽(即凸轮廓线)。当主动拨盘1匀速转动时,柱销2带动槽轮5间歇转动,同时柱销2也在固定凸轮板4的曲线槽内运动,由曲线槽控制柱销2的驱动半径,从而改变从动槽轮的运动规律,以期得到较好的动力特性 凸轮板的曲线槽根据工艺要求选择相应的运动规律(如等速运动规律等)进行设计 图4,机构的工作过程和平面槽轮机构相似,但主、从动轴线垂直相交。槽轮2呈半球形,主动销轮1的轴线和拨销3的轴线均通过球心。槽轮的槽数不少于3。机构的动力性能比外槽轮机构好,槽数愈多,动力性能愈好。槽数大于7时,槽轮的角速度和角加速度变化很小。主动轴拨销数通常只有一个,所以,槽轮的停、动时间是相等的。如用两个拨销,槽轮就连续转动。这种机构结构简单,运动平稳,设计、制造也不困难。近年来在多工位鼓轮式组合机床上应用渐广 |
|||||||||||
|
图2 齿轮槽轮机构 |
图3 凸轮槽轮机构 |
图4 球面槽轮机构 |
|||||||||
|
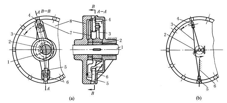
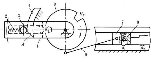
图5a,主动轮1上有槽,槽的两端有斜形开口,当主动轮1转动时,槽的斜面推动从动轮2转动。由于相对滑动较大,适用于低速轻载,多用于自动进给机构 图5b,主动轮1为一两端有头的凸起轮廓(类似螺旋状)的圆柱凸轮,从动轮2端面上有若干柱销,轮1转动时,B销开始进入凸轮轮廓的曲线段,凸轮转动驱使从动轮2转位。凸轮转过180°,转位终了。B销接触的凸轮轮廓将由曲线段过渡到直线段,同时,与B销相邻的C销开始和凸轮的直线段轮廓在另一侧接触,此时,凸轮继续转动,从动轮不动。在间歇阶段,B销和C销同时贴在凸轮直线轮廓的两侧实现定位。凸轮轮廓直线段的宽度为(见凸轮轮廓展开图): b=2R1sinα-d 图5c,主动凸轮1上的凸轮曲面(突脊的工作面)是变升角螺旋,当升角为零的那一段曲面与从动轮2上的滚子3接触时,从动轮停歇。从动轮上滚子沿径向呈辐射状配置,故主动凸轮在轴向截面内突脊的截面应是梯形,且突脊是包绕在圆弧体表面上。这样可以通过调节中心距来消除滚子与突脊间的间隙。当从动轮停歇时,主动凸轮的突脊廓线和凸轮轴线成垂直且处于凸轮中部,当从动轮转位时,主动凸轮突脊廓线的选择,通常要保证从动轮转动时,其加速度按正弦规律变化。这样,机构具有良好的动力性能。运转平稳,噪声和振动较小。可用于较大载荷和高速,停歇频率每分钟最高可达1200次,柱销数一般大于6。在高速冲床、多色印刷机、包装机和折叠机中均有应用 |
|||||||||||
|
图5 蜗旋凸轮间歇机构 |
|||||||||||
|
图6,滑块4、5铰接于杆3上,可分别在杆7与固定盘6的滑槽中滑动。当主动轴1回转时,通过偏心轮2使杆3绕滑块5上的铰销作往复摆动,此时,杆3带动滑块4、5交替插入输出盘8的周边孔中,当4脱出周边孔而5插入时,盘8固定不动。反之,5脱出而4插入周边孔,则盘8被带动,作单向间歇运动。盘8工作平稳,可用于较高转速。图b为其机构简图
图6 偏心轮分度定位机构 |
|||||||||||
|
图7,摇块4和带齿条的连杆5组成移动副,4与3组成转动副,3以导槽和齿轮6的转轴(在固定支座D内)组成移动副。主动凸轮1通过从动摆杆2使3向下运动时,3下部的齿条和6脱啮,而齿条5与6啮合,因而6被5带动。3向上运动时,6与5脱离,而与3的下部齿条啮合,故被锁住。这样,6被1控制着作周期间歇运动 图8,主动蜗杆1通过离合器带动从动轴5转动,同时蜗杆又带动蜗轮2转动,当蜗轮上的凸块与摆杆3上的挡块接触时,推动摆杆3逆时针方向摆,使离合器脱开,轴5停止转动。当凸块与挡块脱离时,在弹簧6的作用下离合器啮合,从动轴开始转动,更换凸块(改变其弧长)可调整从动轴的停、动时间 |
|||||||||||
|
图7 凸轮控制的定时脱啮间歇机构 |
图8 凸轮和离合器控制的间歇机构 |
||||||||||
|
图9,从动轮2上有七个柱销5,它们不均匀地分布在同一圆周上。当固结于主动轮1上的臂A使挂钩4抬起时,轮1依靠摩擦力(通过摩擦环3)带动轮2转动。当挂钩落下并钩住柱销5时,摩擦面间打滑,轮2不转。轮2每次停歇时间的长短取决于柱销间的距离 图10,与棘轮2大小、齿数相同而附有犬齿K的浮动棘轮3空套在轴上,一般情况下主动摆杆1通过棘爪同时推动棘轮2、3作间歇运动,当犬齿进入啮合时,棘爪不与棘轮2接触,棘轮3转动而2静止,轮3每转一周,轮2有一次较长时间的停歇。改变犬齿齿数,可以调整停歇时间的长短 |
|||||||||||
|
图9 停歇时间不等的间歇运动机构 |
图10 不等停歇时间的浮动棘轮机构 |
||||||||||
|
图11,杆2的导槽由如图所示的a、b、c三段圆弧槽组成。当主动曲柄1在120°范围内运动时,滚子位于b段圆弧槽内,导杆停歇,所以从动杆具有单侧停歇的间歇运动特性。可用于食品加工机械中作为物料的推送机构,结构紧凑、制造简单、运动性能较好。如果导槽曲线由两段相对的圆弧构成,则可获得双侧停歇的间歇运动 图12,链轮6和棘轮5固联于轴2上,而主动套筒1空套在轴2上,1上铰接有推爪4。1顺时针方向转动时,4、5、6一起转动,当4的端部与固定于机架上的杆3接触时,4与5脱离,链轮6停歇,1继续转动到推爪4脱离3时,在扭簧7作用下再与棘轮啮合并带动链轮6。此机构用于印染烘干机上 |
|||||||||||
|
图11 单侧停歇的曲线槽导杆机构 |
图12 短暂停歇机构 |
||||||||||
|
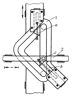
图13,主动杆1拉摇臂2绕O向下转动时,作用在摩擦片4上的摩擦力使杆3向上摆,摩擦片5、4在轮6的轮缘内、外两面滑块而轮6静止。杆1推摇臂2向上转动时,摩擦片4上的摩擦力使杆3向下摆,使摩擦片4紧贴轮6的外缘,此时杆2继续被推向上转动时,带着摩擦片5紧贴轮6的内缘,这样,摩擦片5、4夹紧轮6的轮缘使轮6转动。其优点是摩擦面大,可用于大载荷。角α过大将减弱夹紧力,角α过小在回程时摩擦片不易分离,设计时一般取角α≤7° 图14,与机架铰接的主动气缸1的活塞带着棘爪2推动分度销3,使分度盘4转动,滚子5起止动定位作用 |
|||||||||||
|
图13 摩擦式间歇机构 |
图14 棘爪销轮分度机构 |
||||||||||
|
图15,当主动曲柄1作连续转动时,摇杆3作往复摆动,摇杆3一端的滚子A将在aa' 范围内摆动,当滚子与从动杆4的沟槽脱离时,从动杆停歇不动,由锁止弧α保证停歇位置不变 图16,主动曲柄1转动时使扇形板3摆动,3上有可滑移的齿圈4,在图示位置,3顺时针方向转动时,挡块a推动齿圈4使齿轮5逆时针方向转动。当3逆时针方向转动时,挡块b经过空程l后才推动齿圈4使齿轮5顺时针方向转动,调节挡块a、b的位置以改变空程l,便可改变齿轮5的停歇时间。这种往复运动机构在停、动开始点有冲击 |
|||||||||||
|
图15 单侧停歇摆动机构 |
图16 双侧停歇摆动机构 |
||||||||||
|
图17,不完全齿轮1主动,通过齿轮6及与锁止弧5铰接的滑块3推动移动导杆4作两侧停歇的往复运动。轮6齿数为20,轮1保留9只齿(末齿高修低),可使轮1每转两周,导杆4完成一次往复运动,并在行程的两端各有一停歇时间。2和5是锁止弧,分别与齿轮1、6固联,1、6不啮合时,齿轮6被2、5锁住 图18,曲柄1与齿轮2固联,齿轮2、3、4及5的齿数相同,所以当曲柄1转一圈时,从动齿轮5也转一圈。但从动齿轮5的角速度是非匀速的,其中有一段片刻停歇时间。与齿轮5啮合的送纸辊6送进的纸张7也有片刻的停歇,以便配合切纸刀的切纸动作。此机构在香烟包装机的送纸机构与软糖包装机的送糖机构中均有采用 |
|||||||||||
|
图17 不完全齿轮移动导杆机构 |
图18 齿轮-连杆组合停歇机构 |
||||||||||
|
图19,主动转臂1转动,通过凸耳b将从动件2升起。1与b脱离接触时,2的下凸耳a被摆动挡块3钩住(构件3能靠自重保持图示位置),滑块停在双点划线位置。1继续转动时,先拨动挡块3脱钩,2下落搁在固定挡块4上,然后转臂1又推动凸耳b上升,继续下一运动循环。机构具有两端停歇、快速下落的特性 图20,主动杆1的滑槽中置有一个可移动的插销3,其顶部安装一滚子。当插销3插入圆盘5的K1槽中时,圆盘5随同主动杆1一起转动,经连杆6推动滑块7移动。当主动杆1转经固定挡块4时,其斜面A顶起滚子使插销3脱开K1槽,圆盘5停歇不动,相应滑块7也停歇不动,并在弹簧定位销8的作用下可靠的定位在a1处。杆1转至圆盘上缺口K2处时,在弹簧2的作用下,插销3插入缺口K2中,圆盘5又随着杆1转动,直至杆1再转经至4处,插销3被拨出K2槽,出现第二次停歇。这样,主动杆1每转两周,圆盘5转一周,滑块7在a1、a2处各停歇一次。弹簧定位销8使停歇更为可靠 |
|||||||||||
|
图19 有急回作用的间歇移动机构 |
图20 斜面拨销间歇移动机构 |
||||||||||
|
图21,主动凸轮1为由半径R的三段圆弧组成,三角形凸轮的顶点做成半径为r的圆角。当凸轮绕O点转动时,使框架2在行程的两端停歇,框架的行程为R-r 图22,主动凸轮1沿固定导轨向上移动时,凸轮右下方的活动挡块b被从动杆2上的滚子c推开,c到达垂直槽底部后,b在弹簧作用下复位。凸轮1下移时,滚子c只能在凸轮的斜槽内运动,使从动杆2先向左、后向右移动,然后滚子c推开凸轮上方活动挡块a进入直槽。凸轮上移时,从动杆2停歇。所以凸轮往复移动时,从动杆2作一端停歇的往复移动 |
|||||||||||
|
图21 等宽凸轮间歇移动机构 |
图22 有三角形槽的移动凸轮间隙运动机构 |
||||||||||
|
图23,主动转臂1带着行星齿轮2沿固定内齿轮3作行星运动时,2上m点的轨迹为短幅内摆线,若连杆4的长度近似等于摆线ab的曲率半径,则m点在ab段上运动时,滑块5近似停歇 图24,主动曲柄AB回转时,连杆上m点的轨迹有一段为直线m1m1,利用此直线段实现间歇运动,有如下两种情况 ① 在m点铰接一移动导杆abdm,使ab垂直m1m1,当m点运动到直线段m1m1时,移动导杆停歇 ② 在m点铰接一转动导杆Om,使其回转中心O在直线m1m1的延长线上,当m点运动到直线段m1m1时,转动导杆停歇 |
|||||||||||
|
图23 利用摆线轨迹的间歇移动机构 |
图24 利用连杆轨迹的直线段实现间歇运动机构 |
||||||||||
|
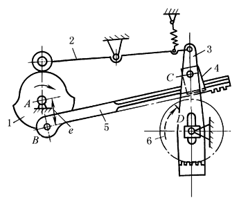
图25a,利用摇块机构中导杆2上一点D的轨迹实现工作台的单向间歇转位运动。当主动曲柄1以图示ω方向由Ⅰ到Ⅱ转过φ角时,导杆2上抱叉端点D的轨迹为曲线m,于是抱叉便夹持着工作台上的滚子5使工作台顺时针方向绕C点转过θ角。当曲柄1顺ω方向由位置Ⅱ回到位置Ⅰ转过360°-φ角时,导杆2上抱叉端点D的轨迹为曲线n,这时,抱叉与滚子5脱开(如图中双点划线所示的位置),于是工作台便停歇不动。此机构用于立车转位机构 图25b,从动杆5在极限位置时有一短时的停歇。ABCD为曲柄摇杆机构,连杆2上E点的轨迹为一腰形曲线,曲线的αα段和ββ段为两相同的近似圆弧,它们的圆心分别在F和F '。如在E、F、G处铰接构件4、5,并使构件4的长度EF和圆弧段的曲率半径相等。当E点在圆弧αα上运动,从动杆5在位置FG近于停歇,当E点在圆弧ββ上运动,杆5在位置F 'G近于停歇。这样,实现了从动杆作具有停歇的摆动。由于这种连杆机构的冲击和噪声较小,常代替凸轮机构以适应高速运转的要求。此机构用于织布机等机械中 |
|||||||||||
|
图25 利用连杆某点的曲线轨迹实现间歇运动 |
|||||||||||
|
图26,由主动件1、连杆2、摇杆3、移动从动件4和机架5组成的五杆机构。机构运动时,连杆2上的M点描绘出的运动轨迹为m-m,它是具有两段平行的近似直线段且相距为h的对称连杆曲线,其对称轴线与机架A、D连心线间的夹角为90°-x。在连杆2上的M点处安装一柱销,并在移动从动件4上开有多条互相平行的直线槽,槽中心线为m-m轨迹直线段方向,其槽距为h。如图所示,让柱销与直线槽啮合。当主动件1由图示位置按逆时针方向转动时,柱销顺着直线槽进入从动件4,随着主动件1转动,驱使从动件向上移动,主动件1转过180°,从动件向上移动距离h;主动件继续转过后180°时,柱销由直线槽中脱出,从动件处于停歇,主动件连续转动,从动件4作间歇单向步进移动
图26 连杆型间歇移动机构 |
|||||||||||


























