|
设计参数的计算 |
|
|
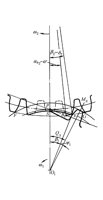
(1)K值与首、末齿齿顶高系数h*as、h*am的确定 从动轮的静止位置由二齿顶圆的交点F确定,当模数m、压力角α和布满齿后的假想齿数z'1、z'2确定后,可通过改变齿顶高来改变F点的位置。为了简化设计步骤,通常取K为整数,从动轮在静止位置时锁止弧对称于连心线O1O2,从动轮齿顶高系数为标准值h*a2=1,而仅改变主动轮首、末二齿的齿顶高系数h*as、h*am 为保证从动轮每次转位前都具有相同的静止位置,应使从动轮转过2(β2-δ2)的角度内,恰好包含K个周节(图1)。图中G'、F' 为h*as=h*am=h*a2=1时的两齿顶圆交点 即 K=2(β2-δ2)z'2/2π取整数 (式1) 式中,β2为从动轮具有标准齿顶高,主动轮为修正齿顶高has=ham时,二顶圆交点G、F所对从动轮中心角之半
图1 δ2为h*a2=1时从动轮齿顶圆齿槽所对中心角 δ2=(π/z'2)+2(invαa2-invα) (式3) αa2为从动轮的齿顶压力角,其中(invαa2-invα)值应化成度数后代入 αa2=arccos[z'2cosα/(z'2+2h*a2)] (式4) 将(式2)~(式4)代入(式1)后,仍有两个未知数K、h*am,不能直接解得。可先假定h*am=h'a2=1求出近似值β'2和K'(图1b)。这时K'可能不是整数 令K=K' ±小数=整数,并解出h*am。当K' + 小数=整数时,h*am>1;当K' - 小数=整数时,h*am<1。式中“±”应根据传动要求和考虑到加工的方便来确定 K值与假想齿数z'1、z'2,分度圆压力角α,齿顶高系数h*am、h*a2有关,而与模数无关。表从动轮锁止弧所跨越的整周节数K和不产生齿顶干涉时主动轮的末齿齿顶高系数h*am列出α=20°,h*a2=1时,不产生齿顶干涉的主动轮末齿的齿顶高系数h*am与z'1、z'2、K的数值 z'1、z'2处于中间值时,不能从表中用插值法求h*am,应按(式1)~(式3)计算,才能保证从动轮有确定的静止位置 在理论上,可使h*as=h*am,但实际上考虑加工精度的影响,为了保证进入啮合时不发生齿顶干涉,取
(2)连续传动性能 由于首齿齿顶高被修正,为避免产生二次冲击,须校核首齿与第二对齿之间的重合度εa
式中 αas1—— 主动轮首齿的齿顶压力角
(3)锁止弧设计
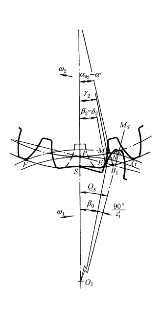
图2 1)从动轮锁止凹弧的设计(图2) 锁止弧占有K个齿,为了保证始啮点E不致因磨损而变动,建议锁止凹弧两侧留有0.5mm模数的齿顶厚,其所对的中心角λ2为 λ2=(z'2+2h*as)-1 当凹弧圆心在O1时,凹弧半径Ra为
2)主动轮锁止凸弧设计 主动轮首齿位于始啮点E时,主动轮上锁止凸弧的终点S应恰好落在连心线O1O2上(图3);当主动轮末齿到达F点啮合时,主动轮上锁止凸轮的起点T也应恰好落在连心线O1O2上(图2)。凸弧的半径Rd=Ra,凸弧的圆心在O1。O2T=a-Ra ① 锁止凸弧终点S的确定:即确定通过S点的向径O1S与首齿中线O1MS之间的夹角QS 第一种情况:始啮点E落在从动轮齿顶圆弧 QS=β1+Ψ1 式中 β1—— 主动轮过E点的向径O1E与O1S之间的夹角
Ψ1—— 向径O1E与首齿中线MS之间的夹角
αE1—— 主动轮过E点的压力角
|
|
|
图3 |
图4 |
|
第二种情况:始啮点E与B1点重合,或落在B1P段上(图4);即(β2-δ2)≤(αa2-α)时
当啮合点由E移到节点P,主、从动轮渐开线齿廓在分度圆上对应的二点M、N都移到节点P。因此从动轮转过角 ∴ QS=Kπ/z'1 ② 锁止凸弧起点T的确定:即确定通过T点的向径O1T与末齿中线O1Mm之间的夹角QT ,图2 QT =β-λ1 式中 β—— 在终啮点F啮合时,主动轮上向径O1T与O1F间的夹角
λ1—— 主动轮上顶圆齿厚所对中心角之半
αam1—— 主动轮末齿顶圆压力角
(4)运动时间td和静止时间tj 间歇运动机构从动轮的运动时间td和静止时间tj是设计的重要参数之一。当主动轮等速旋转时,从动轮在一次间歇运动中的运动时间td可以看成z1=1时传动所需的时间与(z1-1)对中间齿传动所需时间之和
式中 ω1—— 主动轮角速度,s-1
|
|





