|
常用丝网除沫器网块结构 |
|||||
|
型 式 |
说 明 |
型 式 |
说 明 |
||
|
盘 形 网 块 |
|
用丝网卷成所需直径的网块,网块的厚度等于丝网的宽度规格。这种网块不宜用手工卷制,应用机械卷制,各卷必须卷得疏密一致,不然易产生短路,影响除沫效果。适用于直径较小的丝网除沫器 |
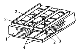
条 形 网 块 |
1—网层;2—定距杆 3—钩子;4—格栅 |
条形网块是目前使用最普遍的结构。它是用丝网一层层地平铺,再在网层上面与下面各放一格栅,用定距杆与钩连接使其成为一整块,即可放在设备上使用,条形网块的尺寸形状,随公称直径与分块数量而变化 |
|
注:除沫器详细规格及性能见标准HG/T 21618—1998(丝网除沫器) |
|||||


