|
常用优先配合特性及选用举例 |
||||||||||
|
配合方式 |
装配 方法 |
配合特性及 使用条件 |
应 用 举 例 |
|||||||
|
基孔 |
基轴 |
|||||||||
|
|
|
温 差 法 |
特 重 型 压 入 配 合 |
用于承受很大的转距或变载、冲击、振动负荷处,配合处不加紧固件,材料的许用应力要求很大 |
中小型交流电机轴壳上绝缘体和接触环,柴油机传动轴壳体和分电器衬套 |
图1 |
图2
|
|||
|
|
小轴肩和环 |
|||||||||
|
|
钢和轻合金或塑料等不同材料的配合,如柴油机销轴与壳体、气缸盖与进气门座等的配合 |
|||||||||
|
|
柴油机销轴与壳体,连杆孔和衬套外径等配合 |
|||||||||
|
|
|
压 力 机 或 温 差 |
重 型 压 入 配 合 |
用于传递较大转矩,配合处不加紧固件即可得到十分牢固的连接。材料的许用应力要求较大 |
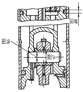
车轮轮箍与轮芯、联轴器与轴,轧钢设备中的辊子与心轴(图1),拖拉机活塞销和活塞壳,船舵尾轴和衬套等的配合 |
|||||
|
图3
图4
图5
图6
图7 |
||||||||||
|
|
||||||||||
|
|
蜗轮青铜轮缘与钢轮心,安全联轴器销轴与套,螺纹车床蜗杆轴衬和箱体孔等的配合 |
|||||||||
|
|
|
中 型 压 入 配 合 |
不加紧固件可传递较小的转矩,当材料强度不够时,可用来代替重型压入配合,但需加紧固件 |
齿轮孔和轴的配合 |
||||||
|
|
|
联轴器与轴,含油轴承和轴承座,农业机械中曲柄盘与销轴 |
||||||||
|
|
||||||||||
|
|
|
柴油机连杆衬套和轴瓦,主轴承孔和主轴瓦等的配合 |
||||||||
|
|
|
减速器中轴与蜗轮,空压机连杆头与衬套,辊道辊子和轴,大型减速器低速齿轮与轴的配合 |
||||||||
|
|
青铜轮缘与轮心(图2),轴衬与轴承座,空气钻外壳盖与套筒,安全联轴器销钉和套,压气机活塞销和汽缸(图3),拖拉机齿轮泵小齿轮和轴等配合 |
|||||||||
|
|
|
轻 型 压 入 配 合 |
用于不拆卸的轻型过盈连接,不依靠配合过盈量传递摩擦载荷,传递转矩时要增加紧固件,以及用于以高的定位精度达到部件的刚性及对中性要求 |
重载齿轮与轴,车床齿轮箱中齿轮与衬套,蜗轮青铜轮缘与轮心(图4),轴和联轴器,可换铰套与铰模板等的配合 |
||||||
|
|
|
冲击振动的重载荷齿轮和轴,压缩机十字销轴和连杆衬套,柴油机缸体上口和主轴瓦,凸轮孔和凸轮轴等配合 |
||||||||
|
|
|
压 力 机 压 入 |
过盈 概率 66.8% ~93.6% |
用于可承受很大转矩、振动及冲击(但需附加紧固件),不经常拆卸的地方。同轴度及配合紧密性较好 |
升降机用蜗轮或带轮的轮缘和轮心,链轮轮缘和轮心,高压循环泵缸和套等的配合 |
|||||
|
|
|
80% |
可换铰套与铰模板,增压器主轴和衬套等的配合 |
|||||||
|
|
|
77.7% ~ 82.4% |
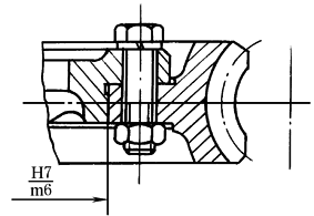
爪型联轴器与轴(图5),链轮轮缘与轮芯,蜗轮青铜轮缘与轮芯,破碎机等振动机械的齿轮和轴,柴油机泵座与泵缸、压缩机连杆衬套和曲轴衬套,圆柱销与销孔的配合 |
|||||||
|
|
|
58.3% ~ 67.6% |
安全联轴器销钉和套,高压泵缸和缸套,拖拉机活塞销和活塞毂等的配合 |
|||||||
|
|
|
铜 锤 打 入 |
50% ~ 62.1% |
用于配合紧密不经常拆卸的地方。当配合长度大于1.5倍直径时,用来代替H7/n6,同轴度好 |
压缩机连杆头与衬套,柴油机活塞孔和活塞销的配合 |
|||||
|
|
|
蜗轮青铜轮缘与铸铁轮心(图6),齿轮孔与轴,减速器的轴与圆链齿轮,定位销与孔的配合 |
||||||||
|
|
|
50%~56% |
升降机构中的轴与孔,压缩机十字销轴与座的配合 |
|||||||
|
|
|
手 捶 打 入 |
46.2%~49.1% |
用于受不大的冲击载荷处,同轴度仍好,用于常拆卸部位。为广泛采用的一种过渡配合 |
精密螺丝车床床头箱体孔和主轴前轴承外圈的配合 |
图8 |
图9 |
|||
|
|
|
41.7%~45% |
机床不滑动齿轮和轴,中型电机轴与联轴器或带轮,减速器蜗轮与轴,齿轮和轴的配合(图7) |
|||||||
|
|
|
41.7%~54.2% |
压缩机连杆孔与十字头销,循环泵活塞与活塞杆 |
|||||||
|
|
|
手 锤 或 木 锤 装 卸 |
19.2%~21.1% |
用于频繁拆卸、同轴度要求不高的地方,是最松的一种过渡配合,大部分都将得到间隙 |
木工机械中轴与轴承的配合 |
|||||
|
|
|
18.8%~20% |
机床变速箱中齿轮和轴,精密仪表中轴和轴承,增压器衬套间的配合 |
|||||||
|
|
|
17.4%~20.8% |
机床变速箱中齿轮和轴,轴端可卸下的带轮和手轮,电机机座与端盖等的配合 |
图10
图11
图12 |
||||||
|
|
|
加 油 后 用 手 旋 进 |
配合间隙较小,能较好的对准中心,一般多用于常拆卸或在调整时需移动或转动的连接处,或工作时滑移较慢并要求较好的导向精度的地方,和对同轴度有一定要求,通过紧固件传递转矩的固定连接处 |
剃齿机主轴与剃刀衬套,车床尾座体与套筒,高精度分度盘轴与孔,光学仪器中变焦距系统的孔轴配合 |
||||||
|
|
|
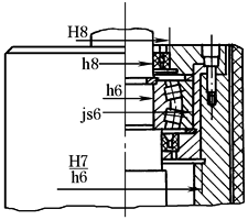
机床变速箱的滑移齿轮和轴,离合器与轴,滚动轴承座与箱体(图8),风动工具活塞与缸体,往复运动的精导向的压缩机连杆孔和十字头(图10),定心的凸缘与孔的配合(图9),橡胶滚筒密封轴上滚动轴承座与筒体的配合(图11) |
||||||||
|
|
|
间隙定位配合,适用于同轴度要求较低、工作时一般无相对运动的配合及负载不大、无振动、拆卸方便、加键可传递转矩的情况 |
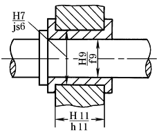
安全接手销钉和套,一般齿轮和轴,带轮和轴,螺旋搅拌器叶轮与轴(图13),离合器与轴,操纵件与轴,拨叉和导向轴,滑块和导向轴,减速器油尺与箱体孔,剖分式滑动轴承壳和轴瓦,电动机座上口和端差,连杆螺栓同连杆头(图12) |
|||||||
|
|
|
|||||||||
|
|
|
起重机链轮与轴(图14),对开轴瓦与轴承座两侧的配合(图15),连接端盖的定心凸缘,一般的铰接,粗糙机构中拉杆、杠杆等配合 |
||||||||
|
|
|
|||||||||
|
|
|
手 旋 进 |
具有很小间隙,适用于有一定相对运动、运动速度不高并且精密定位的配合,以及运动可能有冲击但又能保证零件同轴度或紧密性的配合 |
光学分度头主轴与轴承、刨床滑块与滑糟 |
||||||
|
|
|
精密机床主轴与轴承,机床传动齿轮与轴,中等精度分度头主轴与轴套,矩形花键定心直径,可换钻套与钻模板,柱塞燃油泵的轴承壳体与销轴,拖拉机连杆衬套与曲轴,钻套与衬套的配合(图16) |
图13 |
图14 |
||||||
|
|
|
柴油机气缸体与挺杆,手电钻中的配合等 |
||||||||
|
|
|
手 推 滑 进 |
具有中等间隙,广泛适用于普通机械中转速不大、用普通润滑油或润滑脂润滑的滑动轴承,以及要求在轴上自由转动或移动的配合场合 |
精密机床中变速箱、进给箱的转动件的配合,或其他重要滑动轴承、高精度齿轮轴套与轴承衬套及柴油机的凸轮轴与衬套孔等的配合 |
图15
图16
图17
图18 |
|||||
|
|
|
爪型离合器与轴,机床中一般轴与滑动轴承,机床夹具,钻模、镗模的导套孔,柴油机机体套孔与汽缸套,柱塞与缸体等的配合 |
||||||||
|
|
|
中等速度、中等载荷的滑动轴承,机床滑移齿轮与轴,蜗杆减速器的轴承端盖与孔,离合器活动爪与轴,齿轮轴套与套(图17) |
||||||||
|
|
|
配合间隙较大,能保证良好润滑,允许在工作中发热,故可用于高转速或大跨度或多支点的轴和轴承以及精度低,同心度要求不高的在轴上转动零件与轴的配合 |
滑块与导向槽,控制机构中的一般轴和孔,支承跨距较大或多支承的传动轴和轴承的配合 |
|||||||
|
|
|
安全联轴器轮毂与套,低精度含油轴承与轴,球体滑动轴承与轴承座及轴,链条张紧轮或皮带导轮与轴,柴油机活塞环与环槽宽等配合 |
||||||||
|
|
|
手 轻 推 进 |
配合间隙较大,适用于高转速、载荷不大、方向不变的轴与轴承的配合,或虽是中等转速,但轴跨度长或三个以上支点的轴与轴承的配合 |
汽轮发电机、大电动机的高速轴与滑动轴承,风扇电机的销轴与衬套 |
||||||
|
|
|
外圆磨床的主轴与轴承,汽轮发电机轴与轴承,柴油机的凸轮轴与轴承,船用链轮轴及中、小型电机轴与轴承,手表中的分轮、时轮轮片与轴套的配合 |
||||||||
|
|
|
用于精度不高且有较松间隙的转动配合 |
粗糙机构中衬套与轴承圈,含油轴承与座的配合 |
|||||||
|
|
|
配合间隙比较大,用于精度不高、高速及负载不高的配合或高温条件下的转动配合,以及由于装配精度不高而引起偏斜的连接 |
机车车辆轴承,缝纫机梭摆与梭床,空压机活塞环与环槽宽度的配合 |
|||||||
|
|
|
通用机械中的平键连接,柴油机活塞环与环槽宽,空压机活塞与压杆(图18)、印染机械中气缸活塞密封环,热工仪表中精度较低的轴与孔,滑动轴承及较松的带轮与轴的配合 |
图19 |
图20 |
||||||
|
|
|
间隙非常大,用于转动很慢、很松的配合;用于大公差与大间隙的外露组件;要求装配方便的很松的配合 |
起重机吊钩(图19)、带榫槽法兰与槽的外径配合(图20),农业机械中粗加工或不加工的轴与轴承等配合 |
|||||||
|
||||||||||




















