|
基准制的选择 |
|
选择时,应从结构,工艺和经济性等方面来分析确定。 ①在常用尺寸范围(500mm以内),一般应优先选用基孔制。这样可以减少刀具、量具的数量,比较经济合理。 ②基轴制通常用于的情况: 1)当所用配合的公差等级要求不高(一般为IT8或更低)、或直接用冷拉棒料(一般尺寸不太大)做轴,又不需加工。 2)如下图活塞销与活塞及连杆的连接所示的类似结构,活塞销和活塞销孔要求为过渡配合,而销与连杆小头衬套内孔为间隙配合。如采用基孔制,活塞销应加工成阶梯轴,这会给加工、装配带来困难,而且使强度降低;而采用基轴制,则无此弊,活塞销可加工成光轴,连杆衬套孔作大一点很方便。
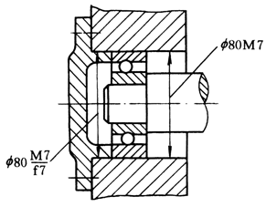
活塞销与活塞及连杆的连接 3)在同一基本尺寸的各个部分需要装上不同配合的零件。 ③与标准件配合时,基准制的选择通常依标准件而定。 例如与滚动轴承配合的轴应按基孔制,为滚动轴承外圈配合的孔应按基轴制 ④在某些情况下,为了满足配合的特殊需要,允许采用混合配合。即孔和轴都不是基准件,如M7/f7,K8/d8等,配合代号没有H或h。 混合配合一般用于同一孔(或轴)与几个轴(或孔)组成的配合,对每种配合性质的要求不同,而孔(或轴)又需按基轴制(或基孔制)的某种配合制造的情况。 如下图一孔与几轴的混合配合所示结构,与滚动轴承相配的轴承座孔必须采用基轴制,如孔用M7;而端盖与轴承座孔的配合,由于要求经常拆卸,配合要松一些,设计选用最小间隙为零的间隙配合,即采用f80M7/f7混合配合。若采用H7/h7,则轴承座孔要加工成微小阶梯,工艺上远不如加工光孔方便,经济。
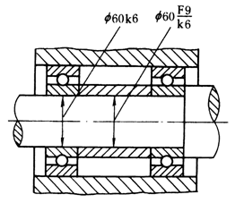
一孔与几轴的混合配合 又如下图一轴与几孔的混合配合与滚动轴承相配合的轴,必须采用基孔制,如轴用k6;而隔离套的作用只是隔开两个滚动轴承,为使装卸方便,需用间隙配合,且公差等级也可降低,因此采用混合配合f60F9/k6。
一轴与几孔的混合配合
|



