|
一般要求 |
||||||||||
|
要求 |
说 明 |
图 例 |
||||||||
|
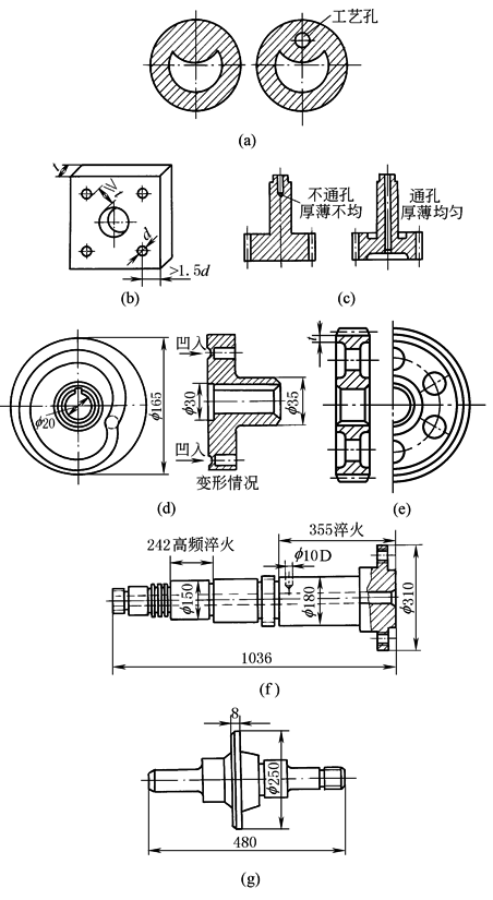
避 免 尖 角 、 棱 角 |
零件的尖角、棱角部分是淬火应力最为集中的地方,往往成为淬火裂纹的起点,因此设计应尽量避免,而设计成圆角或倒角,如右图所示。 渗氮处理的零件对轴肩或截面改变处,采用R≥0.5mm圆角,否则此处渗氮层易发生脆性崩裂。阶梯形轴淬火前粗加工时截面变化的R如表所示 /mm |
|
||||||||
|
D-d |
R |
D-d |
R |
D-d |
R |
|||||
|
11~15 |
2 |
26~50 |
10 |
126~300 |
20 |
|||||
|
16~25 |
5 |
51~125 |
15 |
301~500 |
30 |
|||||
|
避 免 厚 薄 悬 殊 的 截 面 |
厚薄悬殊的零件,是淬火冷却时,由于冷却不均匀而造成的变形、开裂倾向较大,设计时采取:开工艺孔,如图a;合理安排孔的位置,如图b;变不通孔为通孔(内孔要求淬硬时,也不应是不通孔),如图c;或加厚零件太薄的部分,如图d。图d为攻螺纹凸轮,原设计要求15钢渗碳淬火,桃形凹槽淬硬为59~62HRC,由于槽底太薄,淬火后,变形向里凹入,修改设计,加厚槽底。渗碳齿轮应加开工艺孔,增厚t,使截面均匀,以减小畸变,如图e 图f是一根主轴,轴肩法兰虽然用9Mn2V钢油淬,但在螺孔部分淬火时近螺纹口还是会淬裂。解决办法: ①减小螺纹孔的中心距,适当增加螺孔到边缘的距离; ②增加法兰厚度,并在淬火时在螺孔内旋一螺钉,淬火后拆去 图g也是一根截面悬殊的轴,即使采用合金钢也会产生裂纹,虽然可以采用“预冷”淬火法防止淬裂,但轴的硬度会受影响,因此设计时一定要尽量避免厚薄悬殊的零件,并采用淬火应力小的分级或等温淬火 |
|
||||||||
|
避 免 太 薄 边 缘 |
当零件要求必须是薄边时,应在热处理后成形,如图a'(加工去多余部分) |
|
||||||||
|
合 理 安 排 孔 的 位 置 |
改变图a冲模螺孔的数量和位置,如图a'减少淬裂倾向 |
|
||||||||
|
尽 量 采 用 封 闭 对 称 结 构 |
零件形状为开口或不对称结构时,淬火时应力分布不均匀,因此易引起变形。如因结构必须用开口,建议制造时先加工成封闭结构,淬火回火后成型。如图a为汽车上的拉条,设计要求T8A钢,淬火硬度58~62HRC,平行度公差为0.15mm。采用一次加工成形,淬火后沿开口处胀开较大。改用淬火回火后成形,便能达到设计要求。图b为镗杆截面,要求渗氮后变形极小。如设计在镗杆一侧开槽,弯曲变形就很大,如在另一侧也开槽,使零件形状呈对称结构,就大大减小了热处理的变形 |
|
||||||||
|
形状力求简单对称 |
右图是精密坐标镗床的刻线尺(标准尺),是决定机床精度的重要零件,长约1.2m,属于细长件,要求有极高的精度和精度保持性(尺寸稳定性)。首先,将形状由槽形改成对称的X形;其次,选用畸变极小、极稳定的低膨胀合金4J58(原来用2Cr13不锈钢);再次,在加工过程中每经一次加工都需一次消除应力退火,全过程共有27次之多,获得了良好的综合经济效益 |
|
||||||||
|
采 用 组 合 结 构 |
某些有淬裂倾向而各部分工作条件要求不同的零件或形状复杂的零件,在可能条件下可采用组合结构或镶拼结构,如图a为磨床顶尖,顶尖的工作条件繁重,要求高的热硬性。原设计整体采用W18Cr4V钢制造,在整体淬火后,出现了裂纹。改用右图所示组合结构,顶尖仍用W18Cr4V钢,尾部用45钢,分别热处理后,采用热套方式配合,既解决了开裂,又节省了W18Cr4V 图b所示零件两部分工作条件不相同,设计成组合结构,不同部位用不同材料,既提高工艺性,又节约高合金钢材料 |
|
||||||||
|
合 理 的 技 术 条 件 |
图a是带槽的轴,材料为T8A,原设计要求>55HRC,经整体水淬后,槽口开裂如图示:该零件实际只需槽部有高硬度,后改成只要求槽部硬度为>55HRC,经硝盐分级淬火冷却后,槽部为≥55HRC,其余部分为≥40HRC,达到了要求,也避免了槽部开裂现象 图b为定位槽口板,如全部淬硬,容易翘曲,用局部淬硬,便可以防止变形,满足要求 图c是球头销,原设计材料为20CrMnTi,渗碳深度0.8~1mm,淬火回火后硬度58~62HRC,仅尺寸“23”范围渗碳,不但质量不易保证,而且工艺也比较麻烦。如改用全部渗碳,直接淬硬,既可简化工艺,又可保证质量 图d是一根心轴,原设计用T10A,淬火回火后,全部硬度56~62HRC,发蓝,螺纹部分也淬到高硬度,不但没有必要,而且也影响了使用性能,应降低螺纹的硬度 |
|
||||||||
|
考 虑 淬 火 后 尺 寸 变 化 |
图a是用45钢制的闷头螺塞类零件,在全部淬火后,内外螺纹会变形,在装配时,拧不进去,应在槽口部分采用高频淬火42HRC 图b是压配精度的定位销一类的精密零件,虽然形状简单,如全部淬硬,端部会胀大,中间会收缩,必须在淬前放余量,淬火后再磨到尺寸,或局部淬硬 图c是大型剪刀板,原设计要求用65Mn,硬度55~60HRC,经水淬油冷后,长度伸长达6mm左右,因孔距公差显著超差而报废。改用CrWMn、Cr12Mo钢,淬火后伸长仅1~2mm,这样可预先控制孔距的加工尺寸,则刚好符合设计要求 |
|
||||||||
|
考 虑 淬 火 变 形 |
(1)采用适当的热处理方法 45钢制造的套环类零件如图a,在淬火后尺寸会胀大,而且有形成椭圆的倾向,因此,对于比较重要的精密紧固件,如锁紧螺母等,就要考虑采用适当的热处理方法。锁紧螺母原设计为45钢,槽口硬度35~40HRC,当槽口、内螺纹等全部加工,再整体淬火、回火,槽口硬度可达到技术条件,但内螺纹变形,不能保证精度,如热处理后再加工,又嫌硬度太高。如调整工艺如下: 下料→调质25~30HRC→加工槽→槽口高频淬火35~40HRC→加工内螺纹,即可达到要求,或用15钢槽口渗碳淬硬59HRC (2)合理设计零件结构形状 图b圆锥齿轮设计要求40Cr,齿部淬火后回火至45~50HRC。齿部淬火后,内孔变成扁圆,齿部啮合恶化,键槽失去精度,且因齿部已经淬硬,一般机械加工无法修整,只能报废。若按图示虚线修改结构,键槽待齿部淬火后再加工,减少了齿形变形,保证了精度要求 |
|
||||||||
|
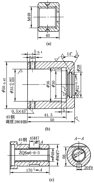
考 虑 淬 火 裂 纹 |
(1)合理选用材料和热处理方法 图a是铣床刀排用螺母,如采用45钢制造,在淬火时应力集中,在内壁易产生放射状裂纹,故此类零件应采用合金钢42MnVB或40Cr等,以便采用等温淬火或分级淬火来减少淬火应力,减少淬火变形和避免开裂 图b是类似的结构,一般并无相对摩擦,但要求提高综合力学性能,可采用45钢,毛坯调质后再加工 (2)合理设计零件结构形状 图c是镶铜钢套,设计要求用45钢,“45H7”槽两侧淬火后回火硬度45~50HRC,“20f9”槽中心线对“f 80f7”的同心允差0.03mm,对“45H7”槽垂直允差0.03mm。依此精度要求在淬火时“f45H7”内孔必须加工好,这就使“45H7”槽底极薄(钢厚2mm,铜厚1.5mm)。当淬“45H7”槽两侧时,即使槽底不淬透也会由于热应力作用而在铜套上出现裂纹。如加厚铜套厚度,可防止开裂 |
|
||||||||
|
适 当 提 高 表 面 光 洁 度 |
切削加工后零件的表面洁度不够,有时也可能成为淬火裂纹的起因,如某些轴承套圈,因切削刀痕过深,造成应力集中,在淬火时沿刀痕方向形成淬火裂纹(热处理零件最终热处理时表面应清洁和有较低表面粗糙度,一般淬火零件表面粗糙度Ra不大于3.2μm;渗氮零件要求≤0.80~0.10μm,一般是经磨削加工以后的表面粗糙度) |
|
||||||||
|
考 虑 其 他 热 处 理 工 艺 性 |
图a是一根在小尺寸范围内要求不同硬度的轴,材料为45钢,要求尺寸“35”处40~45HRC,尺寸“20”的两段27~40HRC,工艺性太差,无法回火 图b是镶钢的导轨,由于截面不均匀,淬火后弯曲变形是难免的,在设计时必须考虑到校直问题:①要避免形成两个方向的弯曲,在上下不可能对称的情况下,左右一定要对称;②要采用残余奥氏体较多的合金工具钢(如9Mn2V)或轴承钢(如GCr15),以便在淬火后及时进行“热校直”(用低碳钢渗碳亦可),同时一定要把毛坯锻造后球化退火的金相组织要求列入技术条件,孔口边缘必须倒角R≥0.5~1mm,以免校直时产生裂纹 图c是导轨板,应尽可能采用电接触加热的方法进行表面硬化处理,最好能把零件加工到尺寸后,安装在床身上再表面淬火,材料则仍可用碳钢如50钢,淬硬层愈浅则变形愈小 |
|
||||||||
|
考 虑 材 料 的 工 艺 性 |
图a、b是用45钢制造的轴,强度及其他力学性能是足够的,如在图示位置包扎良好,开裂也可避免,但淬火后,端面槽口尺寸是无法校正的,图a的会胀大,图b的会收缩。从淬火变形考虑就必须改用硬化性较好的合金结构钢如42MnVB等,以便采用等温淬火的方法减少变形,外圆的沟槽变形也可减少 图c为一滚轮,“12”槽部要求淬硬,槽附近有“f 8”的配钻孔,要在淬火后配钻。若选用45或40Cr钢,在淬火前加工出孔,则淬火后变形大,硬度高,配钻有困难;若淬火后加工孔,又加工不动,故选用中碳钢整体淬火不合适。若采用高频淬火,则零件较小,单独淬槽部有困难。如果改用20Cr钢,先加工槽,然后渗碳,渗碳后,将配钻孔处的渗碳层去掉,然后油淬,低温回火,“f 8”锥孔因含碳低而淬不硬,故可以配钻 图d为一内凸轮,原设计采用45钢制造,要求凹槽处淬硬。为防止开裂,曾采用水-油双液淬火,由于该件结构厚薄悬殊,水中停留时间不易掌握,结果造成沿薄截面处的淬火裂纹,如改用40Cr钢,采用油淬,既可达到技术要求又不致造成淬火开裂 图e为一滑阀,结构比较复杂,原设计要求45钢淬火后回火,硬度45~50HRC。由于45钢水淬开裂倾向大,淬火时“f 10”孔处极易开裂。如改用40Cr等合金结构钢制造,就可减少开裂倾向 图f圆锥齿轮原设计要求用40Cr,齿部高频淬火后回火至50~55HRC。按要求进行齿部高频淬火后两弧齿面硬度不一,特别是模数较大时硬度差更大,改用低合金渗碳钢渗碳后齿部淬火比较合适 |
|
||||||||
|
按变形规 律调整加工尺寸 |
如某汽车变速齿轮键宽要求 |
|
||||||||
|
结 合 工 艺 改 进 结 构 |
图a所示薄壁套筒,一端带凸缘,氮化后易变成喇叭口,如改为图a'所示结构,则变形可消失 |
|
||||||||
|
注意孔距的合理安排 对于受力较大的零件合理安排孔位置尤为重要。图a所示模板,其螺孔与落料孔距离太近,淬火时易变形、改为图a'所示l≥s较好 螺钉孔不应位于交叉刃口的延线上,尤其不应靠近小锐角,以免局部减弱模具强度,而出现裂纹,改成图b'所示结构较好 |
|
|||||||||
|
当键槽离轮齿较近时,其键槽不应置于齿根下面,以免太薄产生断裂,应改成图a'所示结构 |
|
|||||||||
|
臂较长而又单薄的铸件应设置加强肋,使其具有合理的刚度,以免热处理时发生畸变或断裂。改成图a'所示结构,加设了横梁,使铸件刚度和强度显著增加 |
|
|||||||||
|
b1和b2不宜相差太大 |
|
|||||||||
|
全部齿一次加热,高频淬火时,t要足够大,b不宜太大,一般t≥2.5h,b≤55mm |
|
|||||||||
|
t/D不宜太小,一般在0.1~0.2以上,l2不要太小,约为2l1,R要大 渗碳齿轮可在轮辐上加开工艺孔,增厚t,以减小变形 |
|
|||||||||
|
b1和b2要相当,相差愈大变形愈大 |
|
|||||||||
|
l/d比不要太大 |
|
|||||||||
|
附加余量是为了减少渗碳时变形,热处理后应切去 |
|
|||||||||
|
从小端到大端过渡处,不淬火带的宽度f由D-d 确定,参见下表: /mm |
|
|||||||||
|
D-d |
<15 |
10~20 |
>20 |
|||||||
|
f |
1.5~3 |
3~5 |
5~12 |
|||||||
|
|
||||||||||
|
细而长的零件如机床丝杠、细长轴等,长度与直径比不宜太大。为了避免或减少畸变,在热处理时应在井式炉内吊挂加热,其形状应便于吊具装夹。右图是常见的吊挂形式,从结构上看小件a较好,大件d最好,c是最差的、最不经济的,只有单件或极小批量生产时采用 |
|
|||||||||




























