|
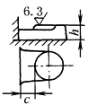
凸座 |
|||||||||
|
凸 座 尺 寸 |
|
c1=1.5 c h1=(0.75~1) c r1=0.25 c,r2= c1 α=30°~45° a、b随螺栓大小而定 |
|
凸座与壁距离很近时最好使其连接起来,c的最小尺寸如下表: |
|||||
|
h /mm |
<10 |
10 ~18 |
18 ~30 |
30 ~50 |
>50 |
||||
|
c最小 /mm |
20 |
25 |
30 |
40 |
50 |
||||


