|
导轨块的安装形式和方法 |
|
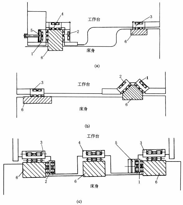
如图(1)的安装形式称开式安装,工作台上只有向下的载荷,没有倾覆力矩的场合。图a及图b为窄式,侧向预紧压力受温差影响较小,图c为宽式,其侧向压紧力受温差影响较大
图(1) 导轨块开放式安装形式 1、2、3、4—导轨块;5—弹簧垫(或调整垫);6—镶条导轨 |
|
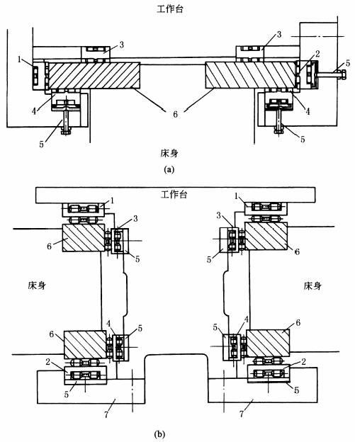
图(2)称闭式安装法,工作台与床身之间上、下和左、右均装有导轨块1~4。适合于水平导轨副有倾覆力矩的场合。图中5均为可调或弹簧垫片。图a用于一般工况,图b采用8列导轨块用于重载或宽型工作台
图(2) 导轨块闭式安装形式 1、2、3、4—导轨块;5—弹簧垫(或调整垫);6—镶条导轨;7—压板 |
|
图(3)为常用的导轨块安装方法。图a为图(2)中图a右侧局部安装方法。图d方法可不精加工安装表面,但调整费时且刚度较低。图e方法只能用于压紧导轨,如果工作台较长,承载侧导轨块或基准侧的导向块多于2个,则首尾两个必须与工作台刚性连接,中间的几个可以安装在弹簧垫上作为辅助支承分担部分载荷
图(3) 导轨块的安装方法 |




