|
气体动压组合型轴承 |
||
|
图a 封闭H型轴承 |
图b 螺旋槽半球型轴承 |
|
|
组合型轴承包括:封闭H型轴承(图a),球型轴承(图b) 这类轴承径向和轴向的承载能力相互关连。泵入式推力轴承的泵唧作用提高了径向轴承的初端压力,因而提高了轴承的承载能力。组合型轴承等同时承受两个方向的载荷,结构紧凑,易于实现等刚性 |
||
|
(1)封闭H型轴承 |
推力轴承部分槽的结构参数建议取β=73.5°、 当径向与推力轴承取相同的间隙(即c=h0),并要求轴承具有等刚性时,径向轴承宽径比B/D应由下式确定
这时,轴承的刚度
摩擦力矩
|
|
|
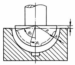
(2)球型轴承 |
球型轴承有半球型(图b)和整球型两种。一般在球面上开螺旋槽。半球型轴承最大承载时的槽结构参数建议按表球轴承槽的结构参数选取 当结构确定后,可以计算出压缩数
轴承的承载能力、刚度和摩擦力矩可以按式(4)~式(6)计算:
|
|





