|
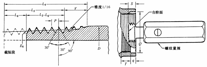
美制栏杆圆锥螺纹(NPTR)的基本尺寸 |
|||||||||||||||||
|
|
|||||||||||||||||
|
螺纹 尺寸 代号 |
管子 外径 D/in |
牙数 n |
牙高 h/in |
截短长度 L6 |
有效螺纹长度 L2-L6 |
外螺纹全长 max L4-L6 |
|||||||||||
|
in |
牙数 |
in |
牙数 |
in |
牙数 |
||||||||||||
|
1/2 |
0.840 |
14 |
0.057 1 |
0.214 |
3 |
0.320 |
4.47 |
0.499 |
6.98 |
||||||||
|
3/4 |
1.050 |
14 |
0.057 1 |
0.214 |
3 |
0.332 |
4.64 |
0.510 |
7.15 |
||||||||
|
|
|
|
|
|
|
|
|
|
|
||||||||
|
1 |
1.315 |
111/2 |
0.069 6 |
0.261 |
3 |
0.422 |
4.85 |
0.639 |
7.35 |
||||||||
|
11/4 |
1.660 |
111/2 |
0.069 6 |
0.261 |
3 |
0.446 |
5.13 |
0.707 |
8.13 |
||||||||
|
11/2 |
1.900 |
111/2 |
0.069 6 |
0.261 |
3 |
0.463 |
5.32 |
0.724 |
8.33 |
||||||||
|
2 |
2.375 |
111/2 |
0.069 6 |
0.261 |
3 |
0.496 |
5.70 |
0.757 |
8.70 |
||||||||
|
|
|
|
|
|
|
|
|
|
|
||||||||
|
21/2 |
2.875 |
8 |
0.100 0 |
0.500 |
4 |
0.638 |
5.10 |
1.013 |
8.10 |
||||||||
|
3 |
3.500 |
8 |
0.100 0 |
0.500 |
4 |
0.700 |
5.60 |
1.075 |
8.60 |
||||||||
|
31/2 |
4.000 |
8 |
0.100 0 |
0.500 |
4 |
0.750 |
6.00 |
1.125 |
9.00 |
||||||||
|
4 |
4.500 |
8 |
0.100 0 |
0.500 |
4 |
0.800 |
6.40 |
1.175 |
9.40 |
||||||||
|
螺纹 尺寸 代号 |
小端面外螺纹中径 E6/in |
收尾长度 max V |
沉孔 深度 q/in min |
沉孔 直径 Q/in min |
内螺纹 长度 T/in min |
量规台阶面至 大端面间的距离 S |
|||||||||||
|
in |
牙数 |
in |
牙数 |
||||||||||||||
|
1/2 |
0.771 8 |
0.179 |
21/2 |
0.18 |
0.86 |
0.25 |
0.286 |
4 |
|||||||||
|
3/4 |
0.981 1 |
0.179 |
21/2 |
0.18 |
1.07 |
0.25 |
0.286 |
4 |
|||||||||
|
|
|
|
|
|
|
|
|
|
|||||||||
|
1 |
1.229 9 |
0.217 |
21/2 |
0.22 |
1.34 |
0.30 |
0.348 |
4 |
|||||||||
|
11/4 |
1.573 4 |
0.261 |
3 |
0.26 |
1.68 |
0.39 |
0.348 |
4 |
|||||||||
|
11/2 |
1.812 4 |
0.261 |
3 |
0.26 |
1.92 |
0.43 |
0.348 |
4 |
|||||||||
|
2 |
2.285 3 |
0.261 |
3 |
0.26 |
2.40 |
0.43 |
0.348 |
4 |
|||||||||
|
|
|
|
|
|
|
|
|
|
|||||||||
|
21/2 |
2.750 8 |
0.375 |
3 |
0.38 |
2.90 |
0.63 |
0.625 |
5 |
|||||||||
|
3 |
3.371 9 |
0.375 |
3 |
0.38 |
3.53 |
0.63 |
0.625 |
5 |
|||||||||
|
31/2 |
3.868 8 |
0.375 |
3 |
0.38 |
4.04 |
0.63 |
0.625 |
5 |
|||||||||
|
4 |
4.365 6 |
0.375 |
3 |
0.38 |
4.54 |
0.63 |
0.625 |
5 |
|||||||||

