|
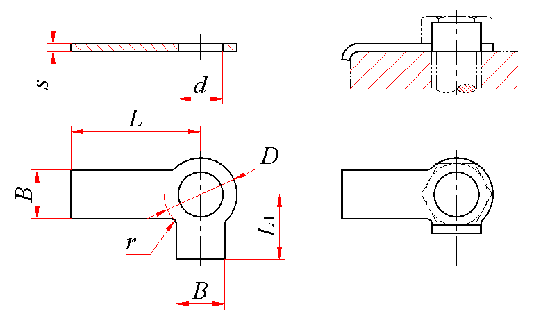
双耳止动垫圈(GB/T 855—1988) mm |
|||||||||||||
|
|
|||||||||||||
|
标记示例: 规格10mm、材料为Q215、经退火、表面氧化的双耳止动垫圈的标记: 垫圈 GB 855 10 |
|||||||||||||
|
规格 (螺纹大径) |
d |
D |
L |
L1 |
B |
S |
r |
||||||
|
max |
min |
max |
min |
公称 |
min |
max |
公称 |
min |
max |
||||
|
2.5 |
2.95 |
2.7 |
5 |
4.7 |
10 |
9.71 |
10.29 |
4 |
3.76 |
4.24 |
3 |
0.4 |
1 |
|
3 |
3.5 |
3.2 |
5 |
4.7 |
12 |
11.65 |
12.35 |
5 |
4.76 |
5.24 |
4 |
0.4 |
1 |
|
4 |
4.5 |
4.2 |
8 |
7.64 |
14 |
13.65 |
14.35 |
7 |
6.71 |
7.29 |
5 |
0.4 |
1 |
|
5 |
5.6 |
5.3 |
9 |
8.64 |
16 |
15.65 |
16.35 |
8 |
7.71 |
8.29 |
6 |
0.5 |
1 |
|
6 |
6.76 |
6.4 |
11 |
10.57 |
18 |
17.65 |
18.35 |
9 |
8.71 |
9.29 |
7 |
0.5 |
1 |
|
8 |
8.76 |
8.4 |
14 |
13.57 |
20 |
19.58 |
20.42 |
11 |
10.65 |
11.35 |
8 |
0.5 |
2 |
|
10 |
10.93 |
10.5 |
17 |
16.57 |
22 |
21.58 |
22.42 |
13 |
12.65 |
13.35 |
10 |
0.5 |
2 |
|
12 |
13.43 |
13 |
22 |
21.48 |
28 |
27.58 |
28.42 |
16 |
15.65 |
16.35 |
12 |
1 |
2 |
|
(14) |
15.43 |
15 |
22 |
21.48 |
28 |
27.58 |
28.42 |
16 |
15.65 |
16.35 |
12 |
1 |
2 |
|
16 |
17.43 |
17 |
27 |
26.48 |
32 |
31.5 |
32.5 |
20 |
19.58 |
20.42 |
15 |
1 |
2 |
|
(18) |
19.52 |
19 |
32 |
31.38 |
36 |
35.5 |
36.5 |
22 |
21.58 |
22.42 |
18 |
1 |
3 |
|
20 |
21.52 |
21 |
32 |
31.38 |
36 |
35.5 |
36.5 |
22 |
21.58 |
22.42 |
18 |
1 |
3 |
|
(22) |
23.52 |
23 |
36 |
35.38 |
42 |
41.5 |
42.5 |
25 |
24.58 |
25.42 |
20 |
1 |
3 |
|
24 |
25.52 |
25 |
36 |
35.38 |
42 |
41.5 |
42.5 |
25 |
24.58 |
25.42 |
20 |
1 |
3 |
|
(27) |
28.52 |
28 |
41 |
40.38 |
48 |
47.5 |
48.5 |
30 |
29.58 |
30.42 |
24 |
1.5 |
3 |
|
30 |
31.62 |
31 |
46 |
45.38 |
52 |
51.4 |
52.6 |
32 |
31.50 |
32.50 |
26 |
1.5 |
3 |
|
36 |
37.62 |
37 |
55 |
54.26 |
62 |
61.4 |
62.6 |
38 |
37.50 |
38.50 |
30 |
1.5 |
3 |
|
42 |
43.62 |
43 |
65 |
64.26 |
70 |
69.4 |
70.6 |
44 |
43.50 |
44.50 |
35 |
1.5 |
4 |
|
48 |
50.62 |
50 |
75 |
74.26 |
80 |
79.4 |
80.6 |
50 |
49.50 |
50.50 |
40 |
1.5 |
4 |
|
注:尽可能不采用括号内的规格。 |
|||||||||||||
|
质量 kg |
||||||||||
|
规 格/mm |
2.5 |
3 |
4 |
5 |
6 |
8 |
10 |
12 |
14 |
16 |
|
每1000件钢制品的质量 ≈ |
0.12 |
0.17 |
0.30 |
0.48 |
0.64 |
0.81 |
1.11 |
3.78 |
3.43 |
5.32 |
|
规 格/mm |
18 |
20 |
22 |
24 |
27 |
30 |
36 |
42 |
48 |
- |
|
每1000件钢制品的质量 ≈ |
7.27 |
6.78 |
9.01 |
8.43 |
17.54 |
20.95 |
29.39 |
39.81 |
51.84 |
- |
