|
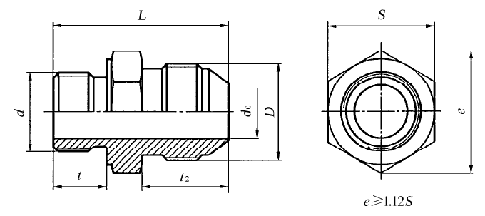
带F型柱端的扩口式端直通管接头和接头体尺寸(摘自GB/T 5625—2008) mm |
|||||||||
|
带F型柱端的扩口式端直通管接头
带F型柱端的扩口式端直通接头体 |
|||||||||
|
管子外径 D0 |
d0 |
d |
D |
L7≈ |
l |
l2 |
L |
S |
|
|
A型 |
B型 |
||||||||
|
4 |
3 |
M10×l |
M10×1 |
32 |
36.5 |
8.5 |
12.5 |
27 |
14 |
|
5 |
3.5 |
||||||||
|
6 |
4 |
M12×1.5 |
36 |
40.5 |
16 |
30.5 |
|||
|
8 |
6 |
M12×1.5 |
M14×1.5 |
43 |
51 |
11 |
18 |
36 |
17 |
|
10 |
8 |
M14×1.5 |
M16×1.5 |
44 |
53 |
19 |
37 |
19 |
|
|
12 |
10 |
M16×1.5 |
M18×1.5 |
45 |
56.5 |
11.5 |
38.5 |
22 |
|
|
14 |
12 |
M18×1.5 |
M22×1.5 |
46 |
61.5 |
12.5 |
19.5 |
40 |
24 |
|
16 |
14 |
M22×1.5 |
M24×1.5 |
48 |
64 |
13 |
20 |
42 |
30 |
|
18 |
15 |
M27×1.5 |
68 |
20.5 |
42.5 |
||||
|
20 |
17 |
M27×2 |
M30×2 |
58.5 |
— |
16 |
26 |
52 |
34 |
|
22 |
19 |
M33×2 |
59.5 |
— |
|||||
|
25 |
22 |
M33×2 |
M36×2 |
62 |
— |
16 |
54 |
41 |
|
|
28 |
24 |
M39×2 |
64.5 |
— |
27.5 |
56.5 |
|||
|
32 |
27 |
M42×2 |
M42×2 |
67 |
— |
16 |
28.5 |
58.5 |
50 |
|
34 |
30 |
M45×2 |
67.5 |
— |
|||||


