|
卡套式管接头用锥密封焊接接管尺寸(摘自GB/T 3758—2008) mm |
|||||||||||
|
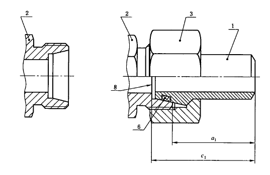
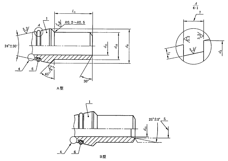
1—— 焊接锥头,与接头体和螺母一起使用; 5—— 连接管内径; 2—— 接头体; 6—— O形圈; 3—— 螺母; 7—— O形圈槽宽,由制造商决定; 4—— 锥端,由制造商决定; 8—— 管止肩。 标记示例 接头系列为L,与外径为10 mm的管子配套使用,表面氧化处理的钢制卡套式管接头用锥密封焊接接管标记为: 接管 GB/T 3758 L10·O |
|||||||||||
|
系列 |
最大工作压力 /MPa |
管子外径 D0 |
d10 ±0.1 |
d11a +0.20 -0.05 |
d9 |
d2 max |
L1 ±0.2 |
cl ±1 |
al ±1 |
t4 ±0.1 |
|
|
min |
max |
||||||||||
|
L |
25 |
6 |
6 |
3 |
9 |
10 |
7.8 |
19 |
32 |
25 |
1.1 |
|
8 |
8 |
5 |
11 |
12 |
9.8 |
19 |
32 |
25 |
1.1 |
||
|
10 |
10 |
7 |
13 |
14 |
12 |
20 |
33 |
26 |
1.1 |
||
|
12 |
12 |
8 |
15 |
16 |
14 |
20 |
33 |
26 |
1.1 |
||
|
(14) |
14 |
10 |
17 |
18 |
16 |
22 |
35 |
28 |
1.1 |
||
|
15 |
15 |
10 |
18 |
20 |
17 |
22 |
35 |
28 |
1.5 |
||
|
(16) |
16 |
11 |
19 |
22 |
18 |
23 |
36.5 |
29 |
1.5 |
||
|
16 |
18 |
18 |
13 |
21 |
24 |
20 |
23 |
37 |
29.5 |
1.5 |
|
|
22 |
22 |
17 |
25 |
27 |
24 |
24.5 |
39.5 |
32 |
1.5 |
||
|
10 |
28 |
28 |
23 |
31 |
33 |
30 |
27.5 |
42.5 |
35 |
1.5 |
|
|
35 |
35 |
29 |
40 |
42 |
37.7 |
30.5 |
49.5 |
39 |
1.9 |
||
|
42 |
42 |
36 |
47 |
49 |
44.7 |
30.5 |
50 |
39 |
1.9 |
||
|
S |
63 |
6 |
6 |
2.5 |
9 |
12 |
7.8 |
19 |
32 |
25 |
1.1 |
|
8 |
8 |
4 |
11 |
14 |
9.8 |
19 |
32 |
25 |
1.1 |
||
|
10 |
10 |
5 |
14 |
16 |
12 |
20 |
33.5 |
26 |
1.1 |
||
|
12 |
12 |
6 |
16 |
18 |
14 |
20 |
33.5 |
26 |
1.1 |
||
|
(14) |
14 |
7 |
18 |
20 |
16 |
22 |
35.5 |
28 |
1.1 |
||
|
40 |
16 |
16 |
10 |
20 |
22 |
18 |
26 |
40.5 |
32 |
1.5 |
|
|
20 |
20 |
12 |
24 |
27 |
22.6 |
28.5 |
47 |
36.5 |
1.8 |
||
|
25 |
25 |
16 |
29 |
33 |
27.6 |
33.5 |
53.5 |
41.5 |
1.8 |
||
|
25 |
30 |
30 |
22 |
35 |
39 |
32.7 |
35.5 |
57.5 |
44 |
1.8 |
|
|
38 |
38 |
28 |
43 |
49 |
40.7 |
39.5 |
64.5 |
48.5 |
1.8 |
||
|
注:尽可能不采用括号内的规格。 a A型焊接接管允许的最大内径。当内径大于d11+0.5 mm时,推荐使用B型焊接接管。 |
|||||||||||


