|
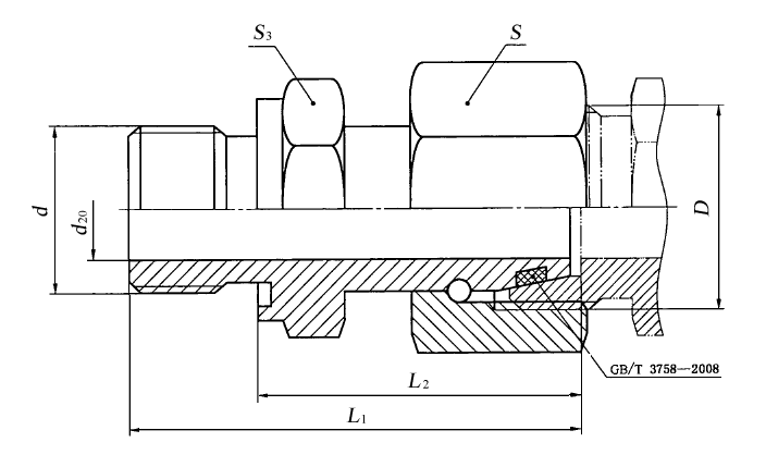
带E型柱端的卡套式锥密封组合直通管接头尺寸(摘自GB/T 3756—2008) mm |
|||||||||
|
|
|||||||||
|
系列 |
最大工作压力 /MPa |
管子外径 D0 |
D |
d |
d20 min |
L1 ±0.5 |
L2 参考 |
S |
S3 |
|
L |
25 |
6 |
M12×1.5 |
M10×1 |
2.5 |
32.5 |
24.5 |
14 |
14 |
|
8 |
M14×1.5 |
M12×1.5 |
4 |
38.5 |
26.5 |
17 |
17 |
||
|
10 |
M16×1.5 |
M14×1.5 |
6 |
39.5 |
27.5 |
19 |
19 |
||
|
12 |
M18×1.5 |
M16×1.5 |
8 |
42.5 |
30.5 |
22 |
22 |
||
|
(14) |
M20×1.5 |
M18×1.5 |
9 |
43 |
31 |
24 |
24 |
||
|
15 |
M22×1.5 |
M18×1.5 |
10 |
43.5 |
31.5 |
27 |
24 |
||
|
(16) |
M24×1.5 |
M20×1.5 |
11 |
43.5 |
31.5 |
30 |
27 |
||
|
16 |
18 |
M26×1.5 |
M22×1.5 |
13 |
45.5 |
31.5 |
32 |
27 |
|
|
22 |
M30×2 |
M26×1.5 |
17 |
48.5 |
32.5 |
36 |
32 |
||
|
10 |
28 |
M36×2 |
M33×2 |
22 |
53 |
35 |
41a |
41 |
|
|
35 |
M45×2 |
M42×2 |
28 |
62.5 |
42.5 |
50 |
50 |
||
|
42 |
M52×2 |
M48×2 |
34 |
68.5 |
46.5 |
60 |
55 |
||
|
S |
63 |
6 |
M14×1.5 |
M12×1.5 |
2.5 |
39 |
27 |
17 |
17 |
|
8 |
M16×1.5 |
M14×1.5 |
4 |
41.5 |
29.5 |
19 |
19 |
||
|
10 |
M18×1.5 |
M16×1.5 |
6 |
44 |
32 |
22 |
22 |
||
|
12 |
M20×1.5 |
M18×1.5 |
8 |
46 |
34 |
24 |
24 |
||
|
(14) |
M22×1.5 |
M20×1.5 |
9 |
50 |
36 |
27 |
27 |
||
|
40 |
16 |
M24×1.5 |
M22×1.5 |
11 |
51 |
37 |
30 |
27 |
|
|
20 |
M30×2 |
M27×2 |
14 |
59 |
43 |
36 |
32 |
||
|
25 |
M36×2 |
M33×2 |
18 |
66 |
48 |
46 |
41 |
||
|
25 |
30 |
M42×2 |
M42×2 |
23 |
71 |
51 |
50 |
50 |
|
|
38 |
M52×2 |
M48×2 |
30 |
82 |
60 |
60 |
55 |
||
|
注:尽可能不采用括号内的规格。 a可为46 mm。 |
|||||||||

