|
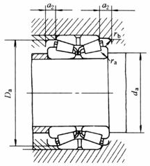
双列圆锥滚子轴承 (GB/T 299—2008) |
||
|
|
径向当量动载荷: 当Fa/Fr≤e,Pr=Fr+Y1Fa 当Fa/Fr>e,Pr=0.67Fr+Y2Fa 径向当量静载荷: P0r=Fr+Y0Fa 式中 Fr、Fa 均指作用于轴承上的总载荷 最小径向载荷Frmin=0.02Cr |
符号含义及应用 E—加强型,内部结构设计改进,增大承载能力 X2—宽度(高度)为非标准 外圈是一个整体,两内圈小端面相对,中间有隔圈,游隙是隔圈的厚度调整,能承受径向和轴向载荷 |
|
基本尺寸 /mm |
基本额定载荷 /kN |
极限转速 /r·min-1 |
重量 /kg |
轴承代号① |
其他尺寸 /mm |
安装尺寸/mm |
计算系数 |
||||||||||||||
|
d |
D |
B1 |
Cr |
C0r |
脂 |
油 |
W ≈ |
350000型 |
C1 |
b1 |
r min |
r1 min |
da min |
Da min |
a2 min |
ra max |
rb max |
e |
Y1 |
Y2 |
Y0 |
|
320 |
440 |
160 |
1410 |
3830 |
430 |
530 |
67 |
352964 X2 |
128 |
16 |
4 |
1 |
335 |
427 |
17.5 |
3 |
1 |
0.3 |
2.3 |
3.3 |
2.2 |
|
|
440 |
166 |
|
|
|
|
|
352964 |
128 |
|
4 |
1 |
|
|
|
|
|
|
|
|
|
|
|
480 |
210 |
1830 |
4390 |
400 |
500 |
122 |
352064 X2 |
160 |
16 |
5 |
1.1 |
340 |
468 |
26.5 |
4 |
1 |
0.42 |
1.6 |
2.4 |
1.6 |
|
|
480 |
220 |
|
|
|
|
|
352064 |
168 |
|
5 |
1.1 |
|
|
|
|
|
|
|
|
|
|
|
540 |
225 |
|
|
|
|
|
3521156 |
160 |
|
5 |
1.5 |
|
|
|
|
|
|
|
|
|
|
|
|
|
|
|
|
|
|
|
|
|
|
|
|
|
|
|
|
|
|
|
|
|
340 |
460 |
160 |
1450 |
4050 |
400 |
500 |
71 |
352968 X2 |
128 |
16 |
4 |
1 |
355 |
448 |
17.5 |
3 |
1 |
0.31 |
2.2 |
3.2 |
2.1 |
|
|
460 |
166 |
|
|
|
|
|
352968 |
128 |
|
4 |
1 |
|
|
|
|
|
|
|
|
|
|
|
520 |
180 |
1870 |
4070 |
380 |
480 |
128 |
351068 |
135 |
16 |
5 |
1.5 |
360 |
501 |
24 |
4 |
1.5 |
0.29 |
2.3 |
3.4 |
2.3 |
|
|
580 |
242 |
2870 |
5970 |
340 |
430 |
235 |
351168 |
170 |
30 |
5 |
1.5 |
365 |
555 |
37.5 |
4 |
1.5 |
0.42 |
1.6 |
2.4 |
1.6 |
|
|
|
|
|
|
|
|
|
|
|
|
|
|
|
|
|
|
|
|
|
|
|
|
360 |
480 |
160 |
1490 |
4270 |
380 |
480 |
74.3 |
352972 X2 |
128 |
16 |
4 |
1 |
376 |
468 |
17.5 |
3 |
1 |
0.33 |
2.1 |
3.1 |
2 |
|
|
480 |
166 |
|
|
|
|
|
352972 |
128 |
|
4 |
1 |
|
|
|
|
|
|
|
|
|
|
|
540 |
185 |
2120 |
4910 |
360 |
450 |
132 |
351072 |
140 |
21 |
5 |
1.5 |
380 |
522 |
24 |
4 |
1.5 |
0.3 |
2.3 |
3.3 |
2.2 |
|
|
600 |
242 |
2950 |
6270 |
320 |
400 |
235 |
351172 |
170 |
30 |
5 |
1.5 |
390 |
572 |
37.5 |
4 |
1.5 |
0.44 |
1.5 |
2.3 |
1.5 |
|
|
|
|
|
|
|
|
|
|
|
|
|
|
|
|
|
|
|
|
|
|
|
|
380 |
520 |
145 |
1210 |
3250 |
360 |
450 |
80.3 |
351976 |
105 |
15 |
4 |
1.1 |
402 |
505 |
21.5 |
3 |
1 |
0.43 |
1.6 |
2.3 |
1.6 |
|
|
560 |
190 |
2150 |
5090 |
340 |
430 |
146 |
351076 |
140 |
26 |
5 |
1.5 |
406 |
542 |
26.5 |
4 |
1.5 |
0.31 |
2.2 |
3.2 |
2.1 |
|
|
620 |
242 |
3310 |
7430 |
300 |
380 |
264 |
351176 |
170 |
30 |
5 |
1.5 |
406 |
598 |
37.5 |
4 |
1.5 |
0.46 |
1.5 |
3.2 |
1.4 |
|
|
|
|
|
|
|
|
|
|
|
|
|
|
|
|
|
|
|
|
|
|
|
|
400 |
540 |
150 |
1210 |
3110 |
320 |
400 |
86.9 |
351980 |
105 |
20 |
4 |
1.1 |
420 |
525 |
21.5 |
3 |
1 |
0.45 |
1.5 |
2.2 |
1.5 |
|
|
600 |
206 |
2620 |
6380 |
300 |
380 |
180 |
351080 |
150 |
26 |
5 |
1.5 |
420 |
580 |
29.5 |
4 |
1.5 |
0.4 |
1.7 |
2.5 |
1.7 |
|
|
650 |
255 |
|
|
|
|
|
351180 |
180 |
|
6 |
2.5 |
|
|
|
|
|
|
|
|
|
|
|
|
|
|
|
|
|
|
|
|
|
|
|
|
|
|
|
|
|
|
|
|
|
420 |
560 |
145 |
1450 |
3740 |
300 |
380 |
88.8 |
351984 |
105 |
15 |
4 |
1.1 |
440 |
546 |
21.5 |
3 |
1 |
0.31 |
2.2 |
3.2 |
2.1 |
|
|
620 |
206 |
2650 |
6600 |
280 |
360 |
196 |
351084 |
150 |
26 |
5 |
1.5 |
448 |
601 |
29.5 |
4 |
1.5 |
0.41 |
1.6 |
2.5 |
1.6 |
|
|
700 |
275 |
4270 |
8810 |
240 |
320 |
392 |
351184 |
200 |
31 |
6 |
2.5 |
460 |
670 |
39 |
5 |
2.5 |
0.32 |
2.1 |
3.2 |
2.1 |
|
|
|
|
|
|
|
|
|
|
|
|
|
|
|
|
|
|
|
|
|
|
|
|
440 |
600 |
170 |
1890 |
4860 |
280 |
360 |
114 |
351988 |
125 |
22 |
4 |
1.1 |
462 |
585 |
21.5 |
3 |
1 |
0.39 |
1.8 |
2.6 |
1.7 |
|
|
650 |
212 |
2750 |
7020 |
260 |
340 |
213 |
351088 |
152 |
24 |
6 |
2.5 |
469 |
629 |
31.5 |
5 |
2.1 |
0.43 |
1.6 |
2.3 |
1.5 |
|
|
720 |
275 |
|
|
|
|
|
351188 |
190 |
|
6 |
2.5 |
|
|
|
|
|
|
|
|
|
|
|
|
|
|
|
|
|
|
|
|
|
|
|
|
|
|
|
|
|
|
|
|
|
460 |
620 |
174 |
1910 |
4990 |
260 |
340 |
128 |
351992 |
130 |
26 |
4 |
1.1 |
480 |
605 |
23.5 |
3 |
1 |
0.4 |
1.7 |
2.5 |
1.7 |
|
|
680 |
230 |
3320 |
8160 |
220 |
300 |
253 |
351092 |
175 |
30 |
6 |
2.5 |
489 |
657 |
29 |
5 |
2.1 |
0.31 |
2.2 |
3.2 |
2.1 |
|
|
760 |
300 |
|
|
|
|
|
351192 |
210 |
|
7.5 |
3 |
|
|
|
|
|
|
|
|
|
|
|
|
|
|
|
|
|
|
|
|
|
|
|
|
|
|
|
|
|
|
|
|
|
480 |
650 |
180 |
1950 |
5270 |
240 |
320 |
133 |
351996 |
130 |
24 |
5 |
1.5 |
502 |
633 |
26.5 |
4 |
1.5 |
0.42 |
1.6 |
2 |
1.6 |
|
|
700 |
240 |
3330 |
8190 |
200 |
280 |
281 |
351096 |
180 |
40 |
6 |
2.5 |
511 |
677 |
31.5 |
5 |
2.1 |
0.32 |
2.1 |
3.1 |
2.1 |
|
|
790 |
310 |
5000 |
11990 |
180 |
240 |
561 |
351196 |
224 |
38 |
7.5 |
3 |
520 |
755 |
44.5 |
6 |
2.5 |
0.41 |
1.6 |
2.5 |
1.6 |
|
|
|
|
|
|
|
|
|
|
|
|
|
|
|
|
|
|
|
|
|
|
|
|
500 |
670 |
180 |
2150 |
6120 |
220 |
300 |
129 |
3519/500 |
130 |
24 |
5 |
1.5 |
524 |
650 |
26.5 |
4 |
1.6 |
0.44 |
1.5 |
2.3 |
1.5 |
|
|
720 |
236 |
3390 |
8450 |
190 |
260 |
289 |
3510/500 |
180 |
36 |
6 |
2.5 |
530 |
700 |
29.5 |
5 |
2.1 |
0.33 |
2 |
3 |
2 |
|
|
830 |
325 |
|
|
|
|
|
3511/500 |
230 |
|
7.5 |
3 |
|
|
|
|
|
|
|
|
|
|
|
|
|
|
|
|
|
|
|
|
|
|
|
|
|
|
|
|
|
|
|
|
|
530 |
710 |
190 |
2390 |
6800 |
190 |
260 |
192 |
3519/530 |
136 |
26 |
5 |
1.5 |
554 |
693 |
28.5 |
4 |
1.5 |
0.41 |
1.6 |
2.5 |
1.6 |
|
|
780 |
255 |
|
|
|
|
|
3510/530 |
180 |
|
6 |
2.5 |
|
|
|
|
|
|
|
|
|
|
|
870 |
340 |
|
|
|
|
|
3511/530 |
240 |
|
7.5 |
3 |
|
|
|
|
|
|
|
|
|
|
|
|
|
|
|
|
|
|
|
|
|
|
|
|
|
|
|
|
|
|
|
|
|
560 |
750 |
213 |
2550 |
7060 |
170 |
220 |
235 |
3519/560 |
156 |
43 |
5 |
1.5 |
586 |
731 |
30 |
4 |
1.5 |
0.44 |
1.5 |
2.3 |
1.5 |
|
|
820 |
260 |
4340 |
10800 |
160 |
200 |
410 |
3510/560 |
185 |
30 |
6 |
2.5 |
594 |
795 |
39 |
5 |
2.1 |
0.4 |
1.7 |
2.5 |
1.7 |
|
|
920 |
352 |
|
|
|
|
|
3511/560 |
250 |
|
|
|
|
|
|
|
|
|
|
|
|
|
|
|
|
|
|
|
|
|
|
|
|
|
|
|
|
|
|
|
|
|
|
|
|
600 |
800 |
205 |
3210 |
9460 |
150 |
190 |
265 |
3519/600 |
156 |
25 |
5 |
1.5 |
625 |
779 |
26 |
4 |
1.5 |
0.33 |
2.1 |
3.1 |
2 |
|
|
870 |
270 |
4880 |
12730 |
130 |
170 |
500 |
3510/600 |
198 |
34 |
6 |
2.5 |
630 |
845 |
37.5 |
5 |
2.1 |
0.41 |
1.6 |
2.5 |
1.6 |
|
|
980 |
370 |
|
|
|
|
|
3511/600 |
265 |
|
7.5 |
3 |
|
|
|
|
|
|
|
|
|
|
|
|
|
|
|
|
|
|
|
|
|
|
|
|
|
|
|
|
|
|
|
|
|
630 |
850 |
242 |
3730 |
10390 |
130 |
170 |
368 |
3519/630 |
182 |
42 |
6 |
2.5 |
657 |
829 |
31.5 |
5 |
2.1 |
0.4 |
1.7 |
2.5 |
1.7 |
|
|
920 |
295 |
|
|
|
|
|
3510/630 |
213 |
|
6 |
1.5 |
|
|
|
|
|
|
|
|
|
|
|
1030 |
390 |
|
|
|
|
|
3511/630 |
280 |
|
7.5 |
3 |
|
|
|
|
|
|
|
|
|
|
|
|
|
|
|
|
|
|
|
|
|
|
|
|
|
|
|
|
|
|
|
|
|
670 |
900 |
240 |
|
|
|
|
|
3519/670 |
180 |
|
6 |
2.5 |
|
|
|
|
|
|
|
|
|
|
|
980 |
310 |
|
|
|
|
|
3510/670 |
215 |
|
7.5 |
3 |
|
|
|
|
|
|
|
|
|
|
1090 |
410 |
9680 |
23200 |
90 |
120 |
1370 |
3511/670 |
295 |
40 |
7.5 |
3 |
719 |
1050 |
59 |
6 |
2.5 |
0.32 |
2.1 |
3.2 |
2.1 |
|
|
|
|
|
|
|
|
|
|
|
|
|
|
|
|
|
|
|
|
|
|
|
|
|
710 |
950 |
240 |
4070 |
12400 |
100 |
140 |
444 |
3519/710 |
175 |
28 |
6 |
2.5 |
743 |
925 |
34 |
5 |
2.1 |
0.49 |
1.5 |
2.2 |
1.4 |
|
|
1030 |
315 |
6560 |
17930 |
90 |
120 |
810 |
3510/710 |
220 |
35 |
7.5 |
3 |
752 |
1000 |
49 |
6 |
2.5 |
0.43 |
1.6 |
2.3 |
1.5 |
|
|
1150 |
430 |
|
|
|
|
|
3511/710 |
310 |
|
9.5 |
4 |
|
|
|
|
|
|
|
|
|
|
|
|
|
|
|
|
|
|
|
|
|
|
|
|
|
|
|
|
|
|
|
|
|
750 |
1000 |
264 |
5020 |
14480 |
90 |
120 |
499 |
3519/750 |
194 |
40 |
6 |
2.5 |
783 |
978 |
36.5 |
5 |
2.1 |
0.4 |
1.7 |
2.5 |
1.6 |
|
|
1090 |
365 |
|
|
|
|
|
3510/750 |
255 |
|
7.5 |
3 |
|
|
|
|
|
|
|
|
|
|
|
1220 |
452 |
|
|
|
|
|
3511/750 |
320 |
|
9.5 |
4 |
|
|
|
|
|
|
|
|
|
|
|
|
|
|
|
|
|
|
|
|
|
|
|
|
|
|
|
|
|
|
|
|
|
800 |
1060 |
270 |
5020 |
15000 |
80 |
100 |
604 |
3519/800 |
204 |
40 |
6 |
2.5 |
838 |
1031 |
34.5 |
5 |
2.1 |
0.35 |
1.9 |
2.9 |
1.9 |
|
|
1150 |
380 |
|
|
|
|
|
3510/800 |
265 |
|
7.5 |
3 |
|
|
|
|
|
|
|
|
|
|
|
|
|
|
|
|
|
|
|
|
|
|
|
|
|
|
|
|
|
|
|
|
|
850 |
1120 |
268 |
5460 |
16860 |
75 |
95 |
636 |
3519/850 |
188 |
32 |
6 |
2.5 |
886 |
1093 |
40.5 |
5 |
2.1 |
0.46 |
1.5 |
2.2 |
1.5 |
|
|
1220 |
400 |
|
|
|
|
|
3510/850 |
280 |
|
7.5 |
3 |
|
|
|
|
|
|
|
|
|
|
|
|
|
|
|
|
|
|
|
|
|
|
|
|
|
|
|
|
|
|
|
|
|
900 |
1180 |
275 |
5000 |
16200 |
70 |
90 |
730 |
3519/900 |
205 |
31 |
6 |
2.5 |
940 |
1146 |
36.5 |
5 |
2.1 |
0.39 |
1.7 |
2.6 |
1.7 |
|
|
1280 |
410 |
|
|
|
|
|
3510/900 |
300 |
|
7.5 |
3 |
|
|
|
|
|
|
|
|
|
|
|
|
|
|
|
|
|
|
|
|
|
|
|
|
|
|
|
|
|
|
|
|
|
950 |
1250 |
300 |
6790 |
21100 |
— |
— |
910 |
3519/950 |
220 |
36 |
7.5 |
3 |
994 |
1220 |
41.5 |
6 |
2.5 |
0.33 |
2 |
3 |
2 |
|
|
1360 |
440 |
|
|
|
|
|
3510/950 |
305 |
|
7.5 |
3 |
|
|
|
|
|
|
|
|
|
|
①按国标GB/T 299 规定,优化设计的轴承代号后不加“E”。为了与老结构区分,本样本中优化设计的双列圆锥滚子轴承代号后均加“E”。 |
|||||||||||||||||||||


