|
锚栓的安装 |
||||||||
|
安装型式 |
齐平式安装 |
预先钻孔,插入锚栓后再安装被安装件,并拧紧螺母。锚固基础的孔径大于被安装件的孔径 |
|
|||||
|
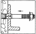
穿透式安装 |
锚栓通过被安装设备的地脚孔直接插入钻孔中并拧紧螺母。被安装件的孔径至少等于锚固基础上的钻孔直径 |
|
||||||
|
悬挑式安装 |
被安装物体与锚固基础表面相隔一段距离。此种安装方式多采用内螺纹锚栓及化学锚栓 |
|
||||||
|
安装尺寸说明 |
钻孔深度 |
由锚栓的类型及规格决定需要的钻孔深度h0,它一般大于锚固深度hef |
||||||
|
锚固深度 |
锚固深度hef是影响锚栓承载力的重要参数。不同型号的锚栓的锚固深度也不同 |
|||||||
|
锚固厚度 |
锚固厚度等于被安装件的厚度。如果锚固基础有覆盖层(如抹灰层、保温层和防火层等),锚栓的锚固厚度应包括覆盖层厚度及被安装件厚度 |
|||||||
|
边距、间距及基材厚度 |
锚栓的间距s是指相邻锚栓之间的距离。边距C是指锚栓轴线到构件自由边缘的距离。基础厚度h是指锚固基础的厚度。最小基础厚度hmin是指确保不发生混凝土劈裂失效的允许基础厚度最小值。最小边距Cmin(最小间距Smin)是指在拉力作用下,确保每根锚栓的最低受拉承载力值时的边距值(间距值)。特征边距ccr,N(特征间距scr,N)是指拉力作用下,混凝土理想化锥体失效的情况下,确保每根锚栓受拉承载力为标准值N0Rk,c 时的边距值(间距值) |
|||||||
|
安装程序图示及说明 |
FZA型后扩底柱锥式锚栓 |
将锚栓插入经过清除灰尘后的孔中,套管敲击至与被固定表面齐平或进入约1mm |
||||||
|
FZEA型后扩底浅埋型锚栓 |
把锚栓插入经过清除灰尘的孔中,然后用敲击安装工具使扩充套管充分张开,锚栓与孔壁实现凸型结合 |
|||||||
|
FH型扭矩控制型后继膨胀套管锚栓 |
钻孔 |
清孔 |
插入锚栓 |
拧紧螺母 |
安装完毕 |
清除钻孔中的灰尘后插入锚栓,并按规定的扭矩Tinst值拧紧,垫圈应紧贴被固定的构件 |
||
|
|
|
|
|
|
||||
|
FAZ型扭矩控制型后继膨胀螺杆锚栓 |
|
|
|
|
|
|||
|
FBN型扭矩控制型螺杆锚栓 |
|
|
|
|
|
|||
|
SLM-N型扭矩控制型重载锚栓 |
将锚栓插入经过清除灰尘后的孔中,套管要与基材的上缘齐平,并按规定的扭矩值Tinst拧紧 |
|||||||
|
R型高强化学黏结型普通螺杆锚栓 |
将胶管插入洁净的钻孔,接着用电动工具(冲击钻或手锤,钻速750r/min)将锚栓旋入就位。这时胶管破裂,树脂、固化剂和石英颗粒混合,并填充锚栓与孔壁间孔隙。锚栓也可插入湿孔,但水要排出钻孔,这时固化时间要加倍 树脂完全硬化前。需注意右图与环境温度有关的固化时间,并在固化过程中严禁扰动和安装被安装件 |
|||||||
|
FLSV360 S型高强树脂砂浆 |
按规定直径及深度成孔,彻底清除孔内灰尘后将胶体自孔底均匀注入约2/3容积,然后慢慢旋转插入螺杆。在潮湿环境中使用时,先排除孔内明水,同时固化时间加倍延长;另外使用新的混合管时,第一下打出的胶不使用 注意右图的安装时间和固化时间,并在固化过程中严禁扰动和安装被安装件 |
|||||||





















