|
概述 |
|
|
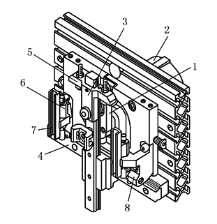
HSP是英文High-SpeedPick&Place的缩写,意思是高速运动的抓放装置。HSP是一个结构非常紧凑的抓取单元,适用于小型元件的装配、搬运、分拣、安装和拆卸。如电子行业、包装行业、汽车行业等,由于它结构紧凑,因此,即使在装配空间非常狭小的情况下,HSP也非常适用。此外,由于HSP是一个预先安装好的单元,这可大幅度减少在系统设计、装配和调试上所花费的时间和成本。Festo研制开发HSP高速抓取单元的结构图见图1,是目前市场上速度最快的抓放装置。HSP的抓放运行速度非常快,是一个由气动旋转摆动驱动器DSM来完成Y轴和Z轴方向运动的设备。它不同于常规完成两个轴向运动需两个气动驱动器来分别完成Y轴和Z轴方向上的运动(见图2),每个驱动器的终端都需要设置终端液压缓冲装置(两个驱动器需设置四个液压缓冲装置),由此造成整个抓放运动的时间较长。HSP的抓放单元仅在左右两个终点位置上分别设置一个液压缓冲器便可,最快它可在0.6s内完成一个循环周期。它能在1min内抓取100个零件,因此相对于目前市场上由双驱动器组成的抓取单元来说,工作效率提高了20%以上 |
|
|
图1 1—摆杆;2—气动驱动摆器;3—T形连杆;4—十字导轨; 5—可调挡块;6—缓冲器;7—传感器槽;8—挡块 |
图2 |
|
HSP能在一定范围内自由调节Y轴和Z轴的行程,并能轻松补偿高度上的差异,如旋转分度台和传输系统之间的高度差异。 |
|


