|
流量传感器 |
|||||||
|
流量是指流体在单位时间内流过设备的数量,体积流量qV=V/t,质量流量qm=m/t。工业的生产过程中许多情况需测量流体实际流量及变化状态。如:在监控冷却液和润滑剂回路中,用于连续监控水冷点焊枪,如果冷却液耗完,这将导致焊点含糊不清,更有甚者,还会损坏焊枪尖端。因此,使用压力传感器和流量传感器对冷却液的进给和返还流量进行监控。在监控和测量管道系统中的输出流量,如水分配系统(防止泵枯竭)、放电监控、泄漏检测、伐木工业中液压和真空单元。在空调和通风技术中,用于监控通风系统、空调、过滤技术和风箱。在过程工程与使用液体和气体的工业中,用于测量罐装数量并控制流量。流量传感器的种类(按测量方法分)、工作原理、主要技术参数及应用图例见下表 |
|||||||
|
测量方法 |
容
积
式 |
直接式 |
直接式容积流量计利用旋转测量空间方法和旋转活塞就可测得介质的容积(图a) |
|
1—壳体; 2—椭圆形齿轮(不锈钢或塑料); 3—接口 |
||
|
间接式 |
间接式容积流量计包括由流体运动设定的叶轮流量计。旋转数量近似于流量。旋转频率由磁场测得,再乘上输出室体积就可得到体积流量 |
|
1—涡轮; 2—永磁体; 3—线圈; 4—流量管 |
||||
|
压差式 |
压差式压力测量原理:采用流体在通过窄横截面时导致速度增加的物理变化特性。不同的孔径起着横截面收缩的作用。通过计算压力p1(孔前)和p2(孔后)之间的压差得出流量。该测量方法特别适用于液体和气体的大流量、高压、高温和腐蚀性介质中。然而,对于小流量而言,量热式测量方法更适合。60%的孔板系统适用于工业应用场合 |
1—标准孔板;2—流量管;3—文丘里喷嘴 |
|||||
|
磁感式 |
利用在磁场中可移动的电荷Q产生的力测量流量。磁体产生磁感应强度B,所需的电荷Q以离子的形式存在于液体中,其两个相反的电极产生了电压。被测物在绝缘管道内流动,测量传感器从大量干扰噪声信号中分离出所需信号,所需的电压信号与平均流速成比例。为了使测量误差最小,将3~5倍的流量管直径区域作为稳定区域,同样适用于主要横截面的变化处或弯曲处。稳定区域长度的参考值还应用于大多数流量传感器中,因为有用的可靠信号只可在稳定流体区域(层流)中测得 |
1—电磁线圈;2—绝缘管道;3—流动介质;4—电极 B—磁感强度;v—流量 |
|||||
|
基于Coriolis原理 |
当流体通过U形流量管时就会产生Coriolis力(科里奥利力)。电磁转换器会引起流量管的振动,即使流量管中没有流体经过,也会产生振动。当介质流动就会保持振动模式,在肘接处引起振动,产生Coriolis力。电磁转换器测量应用灵敏励磁转换器,测量角度与质量流量成比例。因此,无需将体积流量转换成质量流量,可直接获得质量流量,单位为kg/h。该方法也适用于中小型流量计测量流量,其测量精度大约为0.5%。以Coriolis力为基础的测量设备虽然很昂贵,但它可用于流量极小、短期测量、脉冲式流体、高温、低温、流量管未完全装满和高压等应用场合 |
1—转换器(校核扭矩);2—流量管;3—励磁转换器 |
|||||
|
使用超声波技术 |
原理 |
超声波能使您看清液体的内部,并可测得体积流量。这是由于声波能在流动的液体中传播,并随着传输介质的流速改变而改变。超声波流量计在流量管外部使用。为了将超声波技术用于既紧凑又便宜的流量计中,研发了超声波电容阵列膜,该膜由微系统技术进行生产。传感器和电子元件应集成于单个芯片上 对于传播时间法(传播原理)而言,液体必须是“洁净的”。两个探测器(相互呈45°角)来回交替发送超声波信号见图f。与流动方向相反的信号速度减慢,而与流动方向同向的信号速度加快。传播时间的差异(频率差异)不受物质和温度的影响,而与流速有关 |
|
||||
|
Doppler测量方法 |
对于Doppler测量方法而言,声音信号经由空气气泡或固体粒子反射获得。然而,对于反射物而言,这些粒子不能太小。反射体的相关运动(如高频)将声波压缩成短波。不同的频率变化直接成比例地反映在流速上。根据流量管的横截面和流速确定流量 |
1—发射器;2—接收器;3—流量管 |
|||||
|
漂移方法 |
对于漂移方法而言,定向声束的偏移是由流体引起的。因此,两个接收器存在输出振幅差异。当速度矢量在纵向和横向上叠加时,大量测量方法的运动模式可作图解说明 |
1—发射器;2—接收器 |
|||||
|
量热式 |
原理 |
对于热能型的流量测量方法,气体或液体的体积流量取决于温度,从中得到温度差和变量。因此,该测量方法是热交换的量化过程。图i中,流量监控器浸没在流体中。为了避免测量误差,应在弯曲处或横截面变化处留出一段距离L。量热式流量测量方法稳定区的最小长度为:测量点前L=10D,测量点后L=6D。该结果适用于测量装置中低湍流和主要层流中 |
L—稳定区 |
||||
|
电热丝技术 |
该方法以热交换为基础。电热金属丝(温度依靠电阻)被用于气流中,并被冷却。对于热量以及热金属丝提供的阻抗的电数据与流速及横截面的流量(流量管内完全充满流体)有关 |
||||||
|
使用热电检测量 |
NTC热变阻器用于流量测量,并采用电加热。通过流体冷却达到平衡状态。传感器的主要温度决定它的电阻抗性,测量信号从电阻抗性中获得 |
||||||
|
使用PTC热变阻器 |
采用PTC热变阻器使热源冷却下来。该变阻器与温度有关,并变得越来越耐高温了 |
||||||
|
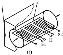
以加热技术为基础 |
对于质量流量的评估来自于热平衡方法。该装置使用了一个加热元件和两个温度传感器。原理如图j所示,测量结构由芯片上的薄膜电阻构成。温度传感器S1测量流体的初始温度,元件H进行加热,温度传感器S2测量加热流体的温度。当加热输出端温度恒定时,两个传感器所测得的温度的温差就是体积流量。当介质处于静止状态时,温差为零 |
1—流体通道;2—芯片;H—小型加热器;S1—温度传感器; S2—温度传感器,用于测量输出温度 |
|||||
|
使用热膜流速计 |
图k为用于气体(压缩空气)的量热式质量流量计。流量通道或旁路中的铂片电阻平行分布于流体中。加热电阻器处于流体流动中并被冷却。控制器可以确保恒定的温度。因此,如果流速增大,电流也就增大,从而得到质量流量值。电阻作为流体温度的参照对象,控制器可以保证电阻与流体间的温差为恒定值。FESTO的流量传感器就是以此为原理的 |
1—流体通道;2—薄膜电阻,用于测量流体温度; 3—薄膜加热电阻器;4—加热电流;5—控制器 |
|||||
|
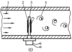
涡流流量法 |
流体挡板位于流道中,使流体流动产生涡流。漩涡的数量与流速成比例。图l说明了传感器的原理,带应力表的挡板位于流体中,并与层流方向成直角。空气流动时就会产生漩涡,并呈周期性(涡流频率)。该过程由局部压差交替产生,局部压差会引起柔性流体挡板发生振动。可由应力表进行检测。脉冲中断的频率与体积流量成比例 |
1—层流;2—应力表;3—柔性流体挡板;4—分离漩涡 |
|||||
|
主要技术参数 |
流量传感器主要技术参数是流量规格(不同流量的有不同的应用),从单向流量检测分为低流量(0.05~0.5L/min,0.1~1L/min,0.5~5L/min,1~10L/min,5~50L/min),中流量(10~200L/min),大流量(200~5000L/min)数种规格,还有从双向流量检测分,流量较小的规格有-0.05~+0.05L/min,-0.1~+0.1L/min,-0.5~+0.5L/min,-1~+1L/min,-5~+5L/min,-10~+10L/min。电输出有数字量输出(2×PNP、2×NPN)、模拟量输出(1~5V),在全范围内线性误差5%F.S,重复精度≤1%~2%F.S,响应时间<1s,工作压力-0.7~+7bar,介质温度0~50℃。工作介质:小流量为0.01μm、中流量及大流量为40μm,有数字显示或LED指示灯显示等。详细资料见各气动制造厂商样本 |
||||||
|
应用图例 |
小流量传感器 |
|
|||||
|
中流量传感器 |
|
||||||
|
大流量传感器 |
|
||||||















