|
光电传感器 |
||||||||||||||||||||||||||
|
光电传感器是一种感应其接收的光强度变化的电子器件。当被检测物体经过光电传感器发射出的光线时(根据检测模式的不同),物体吸收光线或将光线反射到光电传感器的收光器,使收光器收到光线(有/无、或强度产生变化),并将其被检测到变化转换为开关信号输出(或模拟量信号)。所有光电开关都使用调制光以排除周围光源可能的影响。光电传感器的工作原理、分类及应用见下表 |
||||||||||||||||||||||||||
|
结 构 及 原 理 |
光电传感器的发射器和接受器在同一体上或不在同一体上,发射器发出调制的红外线或红光,由可见光谱的接受器接受,接受器的光电二极管接受光强度变化产生电流输出。除了发射器本身发出的光之外,还有外界的杂光,为了避免外界的杂光干扰其正常控制动作,故光电传感器会加上光学镜头。好的光学镜头有滤光、聚焦的作用,滤去外界不相干的杂光(由不同的光谱起作用),聚焦是指将发射光源变成光束,增加发射距离且不受外界光影响,见图a 光源的颜色必须根据被检测物体的颜色来选择,红色的物体与红色的标记宜用绿光(互补色)进行检测。光电传感器通常采用的光源见图b。可见红光650nm,可见绿光510nm,红外光800~940nm,不同的光源在具体应用中各有长处,在不考虑被测物体颜色的情况下,红外光有较宽的敏感范围 光电传感器的开关模式:光电传感器的输出(光强增强型或光强减弱型)的开关状态决定“亮态”操作或“暗态”操作两种模式。“亮态”操作是接收到光强增强时,光电传感器有输出;“暗态”操作是接收到光强减弱时,光电传感器有输出
|
|||||||||||||||||||||||||
|
类
型 |
直接反射式传感器 |
直接反射式光电传感器也被称为漫射式传感器,直接反射式光电开关集发光器和收光器于一体,当被检测物体经过时,将足够量的发光器发射的光线发射回收光器,于是光电开关产生检测信号。直接反射式“亮态”操作是物体出现,收光器收到光线。“暗态”操作是物体消失,光线被阻断 直接反射式光电开关的检测范围与被检测物体表面反射率有直接关系。当被检测物体表面光亮或透明时,直接反射式、聚焦式或定区域式光电开关是首选的检测模式 一些直接反射式光电开关没有透镜,检测距离很小,一般只有130mm,但当用于检测表面光亮或透明的物体时非常可靠(毛糙表面不反射光或反射能力差故收光器收不到光)。最长达1.8~2m(长距离),最小的有0.08m 高反射率:二氧化钛99%,柯达白色相纸90%,白纸70% 低反射率:碳0.8%,黑纸Ca5%,柏油5%~15% |
||||||||||||||||||||||||
|
变
型 |
聚焦式光电传感器 |
聚焦式光电传感器(图c)是直接反射式光电传感器的一种变型,只是发光器和收光器的透镜聚焦于特定距离的某点处。当被检测物体经过该点时,收光器将收到足够强的反射光线,光电传感器检测到并产生开关信号。聚焦式光电传感器“亮态”操作是物体出现,收光器收到光线;“暗态”操作是物体消失,光线被阻断 对透明物质的纠偏和定位来说,应首选聚焦式光电传感器,只要将被检测物质置于其检测深度范围即可。检测深度是指焦点两侧物质能被检测到的最大距离,且与物体反射率成正比关系 聚焦式光电传感器能检测低反射率物体,尤其还适于检测曲面物体的数量,如对在传送带上传送且相互间紧贴的瓶子计数 |
|
|||||||||||||||||||||||
|
定区域式光电传感器 |
定区域式光电传感器(图d)是直接反射式光电传感器的另一种变型。这种光电传感器具有一个检测区域 定区域式光电传感器集一个发光器和两个收光器于一体,当被检测物体距该传感器距离增大时,1号收光器接收到的光线强度将减小,而2号收光器接收到的光线强度将增大。只有当1号收光器收到的光线强度大于2号收光器收到的光线强度时,传感器才能检测到并产生开关信号。当1号收光器接收到的光线强度与2号收光器收到的光线强度相等时,被检测物与光电传感器的距离即为检测断面所在之处,所以在检测断面之外的物体将不引发检测开关信号。定区域式光电传感器“亮态”操作是物体出现,收光器收到光线;“暗态”操作是物体出现,光线被阻断 |
|
||||||||||||||||||||||||
|
应
用
图
例 |
服装厂内将一些漫射式传感器组合在一起,控制服装的流向。漫射式传感器探测从生产部门送到的服装,每个储存支架上都安装了一些传感器探测装载的程度。如果某一支架上装满了衣服,下一个空着的支架就会移上去了 |
甜品放在盒内,分成4排,在传送带上移动。向发出同步信号的对射式传感器通电,S1~S4这4个漫射式传感器检查每排甜品。这个步骤会重复3遍。如果并不是每排都装满了甜品,就会向过程控制发出警报 |
||||||||||||||||||||||||
|
巧克力研磨设备的防干燥由漫射式传感器完成。如果研磨滚轮上的巧克力浆裂开,未涂巧克力浆的金属板就会相互摩擦。为了避免“干燥运转”带来的损坏,要用漫射式传感器监控该过程。深色巧克力浆吸收红外线光。如果巧克力浆裂开,未涂巧克力浆的滚轮表面就会反射光,传感器响应 |
漫射式传感器可以区别网纹表面与非网纹表面在金属钉脚上折射情况,这使得安全通过肉眼进行控制变得可能 |
|||||||||||||||||||||||||
|
带与不带螺纹的圆形螺母在折射方面是不一样的。在螺钉生产中通过巧妙的排列传感器就能利用这一点。调节传感器,使它能注意到差别,并在探测到不带螺纹的螺母时发出一个信号 |
带方向识别功能的传感器根据盒子的运动方向区分哪些盒子装载了松散物。传感器只在盒子从左到右通过它的时候才会发出信号(盒子装载了物体)。已经清空且从右到左通过传感器(空载的盒子)不会被探测到 |
|||||||||||||||||||||||||
|
传感器垂直安装在传送带上,调节开关时间间隔,这样即使光束落在瓶口,瓶底也不会反射光束。瓶盖反射光束,传感器有所响应 |
传感器可探测出沿固定长度裁开胶卷地方的记号。漫射式传感器探测胶卷上的记号,响应时间为3ms。传感器信号激活裁剪机 |
|||||||||||||||||||||||||
|
金属板材上有标记切割长度的标志。漫射式传感器探测到这些标志,发出启动切割的信号 |
锡纸在送入滚筒传送带时,漫射式传感器监测是否有材料。如果锡纸断开,接收器不会接到任何信号,传感器无响应。在这个应用中,还可对透明、有颜色的材料以及抖动的锡纸进行探测 |
|||||||||||||||||||||||||
|
调节反射式传感器的位置,使其在纸筒即将变空的时候能发出一个信号,这可防止生产停止时间太长 |
反射式传感器控制工件的位置 |
|||||||||||||||||||||||||
|
待卷绕的电线需进行断开控制。调节漫射式传感器或对射式传感器(视电线的厚度和之间的距离而定),使得电线没断的时候传感器能接受到发射器的信号。如果探测不到电线,传感器会指出电线断了。同样还可用于棉线、羊毛或乙烯线的状态检测 |
涡轮引擎的推进器会反射漫射式传感器的光束 |
|||||||||||||||||||||||||
|
反射板式传感器 |
结构及原理 |
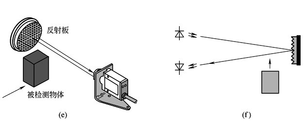
反射板式光电传感器集发光器和收光器于一体(图e)。发光器发出光线经过反射板反射返回收光器,当被检测物体经过且完全阻断光线时,光电传感器检测到并产生开关信号,如图f所示。反射板式光电开关最适用于检测大物体,如箱子、盒子等。反射板式传感器“亮态”操作是物体消失,收光器收到光线;“暗态”操作是物体消失,光线被阻断
带偏光滤器:当反射板式光电传感器用于易导致错误信号的物体时(表面反射率较高的),必须使用带有偏光滤器的光电传感器,这种方式的光电传感器能够区分所接受的光线(也称偏振滤波器)是物体反射光,还是经过90°偏转后从反射板反射回的光线 |
||||||||||||||||||||||||
|
检测距离、范围及工作裕量 |
图g是部分不同尺寸、规格的反射板的检测距离的影响及其工作裕量曲线
|
|||||||||||||||||||||||||
|
工作裕量:是指光电接收器接收超过正常所需的辐射能量值,如图h所示。由于灰尘的影响,物体的反射率改变或发射二极管的老化,工作裕量会随着时间的推移而逐渐减小,甚至不能正常工作。某些传感器配备了第二个LED(绿色)显示,在传感器有效工作范围的80%得到利用时,该LED亮起。而另一些传感器配有一个黄色LED显示,用以指示工作裕量不足时报警。这些都可以用来防止误操作的发生 |
|
|||||||||||||||||||||||||
|
应用图例 |
反射式传感器监测事先处理过的物体。这些物体挂在传送带上。在被送入上漆设备前需保持停止。如果湿的零件停止时间太长,会向预处理设备发出信号,命令后面应停止处理 |
检查凸版卷筒材料边缘处是否有撕开或断裂的情况。如果光束穿过凸版卷筒上的撕口或裂口,反射式传感器立即发出一个信号 |
||||||||||||||||||||||||
|
三个反射式传感器上下排列,单根光束的断开表明张力情况。传感器的输出信号传到驱动器控制,确保生产过程中张力保持恒定 |
用反射传感器探测直径为1m的轮胎抵达传送带,信号的用途是计算生产量 |
|||||||||||||||||||||||||
|
对射式传感器 |
工作原理 |
对射式光电开关(图i)包含相互分离且相对放置的发光器和收光器,发光器发出光线直至收光器。当被检测物体经过发光器和收光器之间且阻断光线时,光电开关产生检测开关信号。当被检测物不透明时,对射式是最可靠的检测模式。对射式传感器“亮态”操作是物体消失,收光器收到光线;“暗态”操作是物体出现,光线被阻断 |
|
|||||||||||||||||||||||
|
应用图例 |
冲压后的工件在安装之前,对射式传感器会检查冲压后的凹块是否已经取走 |
控制加工中心钻机的停顿。每个加工周期开始之前,钻机会移至测试位置,如果安装了钻头,会隔断光束,给出OK信号,继续操作 |
||||||||||||||||||||||||
|
瓶子在装入纸箱之前,要对是否粘贴了标签进行检查。反射式传感器探测到达的瓶子,发出一个信号驱动对射式传感器。调节传感器使光束穿过瓶子,如果没有贴标签,就发出一个错误信号 |
对射式传感器调节至网边。如果网在传感器感测范围内,光束被隔断,传感器发出信号,网边的运转得到纠正。该应用有助于防止网边倾斜或翘起 |
|||||||||||||||||||||||||
|
对射式传感器自动控制邮局信件的分拣 |
为了避免事故的发生,旋转仓库的触及区域安装了对射式传感器。一个传感器安装在区域上方,另一个安装在下方。如果有人在旋转期内接近仓库,对射式传感器会停止旋转。为了防止干扰,最好将发射器与接收器间隔排放。在这类应用中,通常使用常闭型传感器 |
|||||||||||||||||||||||||
|
|
控制杯内液体的水平,当杯内无液体时,接受器直接接受发射器的红外光,而有液体时则折射一角度被接受 |
|||||||||||||||||||||||||
|
光纤传感器 |
结构及原理 |
光纤电缆由一束玻璃纤维或由一条或几条合成纤维组成。光纤能将光从一处传导到另一处,甚至绕过拐角处。其工作原理是通过内部反射介质传递光线。光线通过具有高折射率的光纤材料和低折射率护套内表面,由此形成的光线在光纤内的反射式传递。光纤由芯部(高折射率)和护套(低折射率)组成。在光纤内,光被不断来回反射,产生全内反射,因而光能通过曲线路径,见图j。光纤传感器的应用示意见图k
|
||||||||||||||||||||||||
|
用塑料或玻璃光纤将检测光束导致被检测区域进行检测,单根光纤一般用于对射式检测,双股光纤一般用于直接反射式或反射板式检测 与光纤配套使用的光电传感器可以适用于多种应用,如: ①检测小的物体 ⑤振动机器 ②有限的空间 ⑥有腐蚀性的大气 ③较高的环境温度 ⑦固有的安全区域 ④强电子场 玻璃光纤: ①玻璃光纤可适应多种恶劣的检测环境,包括高温、高湿和腐蚀性环境 |
|
|||||||||||||||||||||||||
|
②使用玻璃光纤可抗激烈的振动和冲击,同时具有抗电磁干扰的特性 ③整体结构是由玻璃光纤、不锈钢、PVC、铜、硅胶和特氟隆材料组成 ④可分对射式和漫射式两种光纤传感器产品 ⑤外层:不锈钢软性导管 弯曲半径<25mm,温度-140~480℃ PVC表皮 弯曲半径<12mm,温度-40~105℃ 镀铬黄铜 弯曲半径<25mm,温度-20~250℃ 塑料光纤: ①在环境允许的条件下是玻璃光纤的廉价代用品 ②是检测小物体以及适应往复弯折运动检测环境 ③可分对射式和漫射式两种光纤传感器产品 ④外层:弯曲半径25mm,温度-40~70℃(该数据仅作参考,更多规格的参数,请查阅各制造厂商的样本) |
||||||||||||||||||||||||||
|
光纤感应器 |
应用图例 |
砖块生产后要检查是否全都剪切成型。这是由对射式传感器S1(探测送到的砖块)以及另外两个检测剪切的对射式传感器S2和S3完成的。如果砖块到了S1的位置,传感器S2和S3必须发出7次信号以说明砖块通过检测 |
要对在150℃左右环境温度下从搪瓷炉中刚送出的高温物体进行状态检测。环境温度很高,决定了非常有必要使用带金属罩的光纤电缆。在这种条件下,聚合光纤会融化 |
|||||||||||||||||||||||
|
检查电容引线的侧面及盒内的提升是否调节正确。由漫射式传感器和光纤光缆完成。两个传感器检查引线的长度,第三个检查电容器之间的距离。连接控制器测评信号 |
与光纤光缆相连的两个对射式传感器检查通过工件上是否有2个钻孔及其之间的距离。只有当两个传感器同时发出一个信号,才会在合适的位置钻孔 |
|||||||||||||||||||||||||
|
工件设为旋转时的定位。光传感器探测表面的反射,如果沟槽出现在感测区域,漫射式传感器探测不到光的反射,也不会有响应。旋转停止,零件完成定位 |
在对电池盒进行最后检测时,会对盒子边缘进行裂缝检测,以查找泄漏。这是由对射式传感器(带光纤光缆)完成的。调节传感器,就能检测到边缘处的裂缝 |
|||||||||||||||||||||||||
|
集成芯片在包装之前需对位置正确与否进行检查。带光纤光缆的漫射式传感器每分钟能检测2000个集成芯片外壳。位置不对的集成芯片被推了出去 |
送料装置上安装了对射式传感器,能确切计算通过的螺钉的数目 |
|||||||||||||||||||||||||
|
|
每分钟生产线上生产10000个电阻。为了实现对小型元件产量的准确计算,对射式传感器与光纤光缆相连,对齐放置,指向电阻 |
|||||||||||||||||||||||||
|
颜色传感器 |
工作原理 |
颜色传感器是漫射式传感器中的一种形式。颜色传感器的发光源有两种形式,一种是同时发出红(R)、绿(G)、蓝(B)光,见图l,另一种是单一的白光,见图m 单一白光源颜色传感器的工作原理:它是建立在使用一个光源的基础上,LED发射可见白光,该传感器可远距离检测物体,与物体的尺寸大小无关。所检测的颜色被简单设置在示教程序内,为操作做准备。它会扫描该物体并与所记录的参考颜色进行比较,如匹配,则设定三个可用开关输出点的其中一个。由于颜色传感器具有五种可调公差值,所以它能最接近扫描到的颜色和最少偏离该颜色。该传感器也支持整个颜色范围的感测,这是一种非常灵活的方法,为印刷和绘画中不规则色彩结构的处理提供了很多方便
|
||||||||||||||||||||||||
|
主要技术参数 |
以Festo公司的颜色传感器SOEC-RT-Q50-PS-S-7L为例,输出信号为4~20mA的模拟量信号,与测量距离成比例关系,检测范围为80~300mm,采用激光可以进行精确的位置测量,距离的测量与被测物表面的颜色无关,分辨率差值为0.1%,其他技术参数见下表 |
|||||||||||||||||||||||||
|
技术参数 |
规格 |
50mm×50mm×17mm |
||||||||||||||||||||||||
|
工作范围/mm |
12~32 |
|||||||||||||||||||||||||
|
光线形式 |
白光 |
|||||||||||||||||||||||||
|
设置选项 |
示教功能 通过电接口设置示教功能 |
|||||||||||||||||||||||||
|
电参数 |
电接口 |
插头M12×1,8针 |
||||||||||||||||||||||||
|
工作电压范围/VDC |
10~30 |
|||||||||||||||||||||||||
|
最大输出电流/mA |
100 |
|||||||||||||||||||||||||
|
最大开关频率/Hz |
500 |
|||||||||||||||||||||||||
|
短路保护 |
脉冲式 |
|||||||||||||||||||||||||
|
极性容错保护 |
适用于所有电接口 |
|||||||||||||||||||||||||
|
防护等级 |
IP67 |
|||||||||||||||||||||||||
|
材料 |
壳体 |
丙烯酸丁二烯苯乙烯 |
||||||||||||||||||||||||
|
工作和环 境条件 |
环境温度/℃ |
-10~+55 |
||||||||||||||||||||||||
|
CE标志(参见合格声明) |
符合EUEMC规定 符合EU低电压规定 |
|||||||||||||||||||||||||
|
认证 |
c UL us-Listed(OL) C-Tick |
|||||||||||||||||||||||||
|
应用图例 |
|
由于颜色与表面反差在折射方面的差异,甚至可能在一定程度上用标准照片传感器读取印刷记号。颜色或表面的巨大反差可用来探测纸张或塑料网上的黏合点 |
||||||||||||||||||||||||
|
过量增益 |
过量增益是指光电传感器接收到的光强度超过启动光电传感器内放大器所需光能量强度的量度。过量增益系数见下表。系数为1代表启动光电传感器内放大器所需的最小能量;系数为50代表现时光电传感器收光器接受的光能量是启动放大器所需能量的50倍。对于反射率越低的物体,选择的过量增益的系数会较大,在一个特别干净的环境中,由于光电传感器的瞄准程度逐渐降低和LED因长时间工作而老化等原因,1.5的过量增益系数将会是一个允许的安全系数 |
|||||||||||||||||||||||||
|
反射率及过量增益系数表 |
||||||||||||||||||||||||||
|
材料 |
反射率/% |
过量增益系数 |
材料 |
反射率/% |
过量增益系数 |
|||||||||||||||||||||
|
柯达片 白纸 报纸 餐巾纸 硬纸板 洁净松木 干净粗木板 啤酒沫 透明塑料瓶 半透明塑料瓶 不透明白塑料 |
90 80 55 47 70 75 20 70 40 60 87 |
1 1.1 1.6 1.9 1.3 1.2 4.5 1.3 2.3 1.5 1.0 |
不透明黑塑料 黑色橡胶 黑色泡沫地毯背面 黑橡胶壁 未抛光铝面 天然铝面 未抛光黑色阳极氧化铝 直线型黑色阳极氧化铝 不锈钢 木塞 |
14 4 2 1.5 140 105 15 50 400 35 |
6.4 22.5 45 60 0.6 0.9 0.81 1.8 0.2 2.9 |
|||||||||||||||||||||
|
可靠性检测的要素 |
光差 |
光差是光电传感器在亮态和暗态下接收到光强度的差异量度,是实现可靠检测的最重要的指标 |
||||||||||||||||||||||||
|
的不透明性 被检测物体 |
对于对射式和反射板式检测,若检测透明的物体时,易产生误动作或失效,因光线穿透物体而被收光器接收,致使该检测过程因光差太小而失败。在此种情况下,应改用其他检测模式 |
|||||||||||||||||||||||||
|
的表面反射率 被检测物体 |
对于直接反射式、定区域式和聚焦式检测,光电传感器发出的光线需要被检测物表面将足够的光线反射回收光器,所以检测距离和被检测物表面反射率将决定收光器接收的光线强度,粗糙表面的反射率(如干净的粗木板)小于光滑表面反射率(如不锈钢),而且,被检测物表面必须垂直于光电传感器发射光线 |
|||||||||||||||||||||||||
|
环 境 因 素 |
光电传感器应用的环境将影响其长期工作的可靠性。光电传感器工作于最大检测距离状态时,因为光学透镜会被污染等原因,光电传感器将不可能长期可靠地工作,所以应根据产品自己的过量增益来确定最佳工作距离。如:在光学透镜易被污染或有烟、尘雾的环境中,光电传感器在应用中应保证更高的过量增益。每一个光电传感器都有一个相应的过量增益曲线,把这些曲线和一个简单的公式配合使用,就能估计出在不同条件下,每个光电开关的最大的可靠检测距离,下面将以轻度污染环境,举例说明对于直接反射式光电开关,最大的可靠检测距离取决于被检测物体的表面反射率表和使用环境修正表 使用环境修正表
|
|||||||||||||||||||||||||
|
以德国TURCK(图尔克)公司的MB14-LU1-NP6X传感器为例,当它检测印刷硬纸板,周围的环境为轻度污染时,从物体的表面反射率表和使用环境修正表中得出反射率70%(过量增益系数1.3)及相应的环境修正系数5。两个系数相乘得出污染环境的过量增益系数:1.3×5=6.5 从图n过量增益与检测举例的曲线图得出,当污染环境的过量增益系数为6.5时,检测距离为85mm |
|
|||||||||||||||||||||||||














































