|
真空压力开关 |
|||||||||||||||||
|
分 类 |
真空压力开关分为机械式与电子式(压敏电阻式开关型)。机械式真空压力开关的压力等级可分为-1~+1.6bar,-0.8~-0.2bar;电子式真空压力开关的压力等级可分为-1~+4bar,0~1bar,-1~1bar等。电子式真空压力开关有带指示灯自教模式的压力开关及带显示屏的数字式压力开关 |
||||||||||||||||
|
机 械 式 真 空 压 力 开 关 |
工 作 原 理 |
|
可调式机械真空压力开关是将压力开关信号转换成电信号。当真空口的压力增加时,导杆往上移动,带动微动开关向上位移。切换点的压力可通过调整真空开关上端的螺钉来达到调节弹簧力,以获得所需的真空切换点的压力 |
||||||||||||||
|
主 要 技 术 参 数 |
型 号 |
VPEV-1/8 |
VPEV-1/8-M12 |
||||||||||||||
|
机械部分 |
|||||||||||||||||
|
气接口 |
G1/8 |
||||||||||||||||
|
测量方式 |
气/电压力转换器 |
||||||||||||||||
|
测量的变量 |
相对压力 |
||||||||||||||||
|
压力测量范围/bar |
-1~+1.6 |
||||||||||||||||
|
阈值设定范围/bar |
-0.95~-0.2 |
||||||||||||||||
|
转换后的阈值设定范围/bar |
0.16~1.6 |
||||||||||||||||
|
电连接 |
插头、方块形结构符合EN43650标准、A型 |
插头、圆形结构符合EN60947-5-2标准、M12×1、4针 |
|||||||||||||||
|
安装方式 |
通过通孔 |
||||||||||||||||
|
安装位置 |
任意 |
||||||||||||||||
|
质量/g |
240 |
— |
|||||||||||||||
|
电部分 |
|||||||||||||||||
|
额定工作电压 |
250V AC |
48V AC |
|||||||||||||||
|
125V DC |
48V DC |
||||||||||||||||
|
开关元件功能 |
转换开关 |
||||||||||||||||
|
开关状态显示 |
黄色LED |
— |
|||||||||||||||
|
防护等级,符合EN60529标准 |
IP65 |
||||||||||||||||
|
CE标志 |
73/23/EEC(低电压) |
||||||||||||||||
|
工作及环境条件 |
型 号 |
VPEV-1/8 |
VPEV-1/8-M12 |
||||||||||||||
|
工作介质 |
过滤压缩空气,润滑或未润滑 |
过滤压缩空气,润滑或未润滑,过滤等级40μm |
|||||||||||||||
|
真空,润滑或未润滑 |
真空,润滑或未润滑 |
||||||||||||||||
|
工作压力/bar |
-1~+1.6 |
||||||||||||||||
|
环境温度/℃ |
-20~+80 |
||||||||||||||||
|
介质温度/℃ |
-20~+80 |
||||||||||||||||
|
迟 滞 特 性 曲 线 |
|
p1—接通压力; p2—切断压力; 1—上限切换点; 2—将迟滞设定为最小时的下限切换点; 3—将迟滞设定为最大时的下限切换点 |
|||||||||||||||
|
电子式真空压力开关(带指示灯自教模式) |
工
作
原
理 |
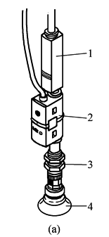
电子式真空压力开关是利用压敏电阻方式在不同的压力变化时可测得不同的电阻值,并转化为电流的变化。它的工作方式为LED闪熠显示。连接方式如图a所示,气接口一端或两端带快插接头,分别接真空发生器及真空吸盘。电子式真空压力开关尺寸小(紧凑),容易安装,调试非常方便。当压力达到所需值时,用小棒按一下按钮2(见图b),黄色LED指示灯1便开始闪熠显示,当确认该压力是所需压力值后,可再用小棒按一下按钮2,黄色LED指示灯1便停止闪熠,该点压力值设定(编辑)便完成 |
|||||||||||||||
|
|
1—真空发生器; 2—压力开关; 3—吸盘支座; 4—吸盘 |
|
1—黄色LED,四周可见; 2—编程按钮; 3—气接口; 4—嵌入式燕尾槽支架,用于墙面安装; 5—气接口或堵头; 6—插头M8×1; 7—带电缆插座; 8—开放式电缆末端 |
||||||||||||||
|
开 关 功 能 工 作 模 式 |
根据用户实际工况需求,配置四种不同的开关功能工作模式:0、1、2、3模式(用户订货时需说明何种工作模式)。以常开触点方式为例说明四种不同的开关功能工作模式 |
||||||||||||||||
|
模 式 |
说 明 |
||||||||||||||||
|
模式0:阈值比较器,具有固定迟滞,1个示范压力 |
作阈值(临界值)比较器。可有一个示范压力(所设定压力)显示,也就是TP1示范压力到达时,二进制信号A处于1(有)状态,包括大于TP1示范压力A处都呈1(有)状态,该点也可称为切换点SP,TP1=SP,当压力返回时有一个迟滞Hy,该迟滞Hy呈一个固定值,当压力越过迟滞Hy,二进制信号A处于0(否)状态,黄色LED指示灯1便停止闪熠。该迟滞Hy呈固定值 图中,A为二进制信号;p为压力;SP为切换点;TP为示范压力;Hy为迟滞 |
||||||||||||||||
|
模式1:阈值比较器,具有固定迟滞,2个示范压力 |
作阈值(临界值)比较器。可有两个示范压力TP1、TP2(所设定压力),但要求的压力切换点SP处于设定(编辑)示范压力的中间值,即SP=1/2(TP1+TP2)。该迟滞Hy呈固定值 例如:有两个示范压力,示范压力1表明部件被抓住,示范压力2表明部件未被抓住。电子式真空压力开关在工作模式1时会计算所存储示范压力的中间值,如果测得的真空度低于中间值,则认为工件被抓住,电子式真空压力开关将其判断为接受工件。若测得的真空度高于中间值,则认为工件不能被完全抓住,电子式真空压力开关将其判断为不可接受工件并将其排出 |
||||||||||||||||
|
模式2:阈值比较器,具有可变迟滞,2个示范压力 |
作阈值(临界值)比较器。可有两个示范压力TP1、TP2(所设定压力),它的迟滞Hy可调,当压力上升到TP2示范压力时,二进制信号A处于1(有)状态,包括大于TP2示范压力A处都呈1(有)状态,该点也可称为切换点SP,即SP=TP2,当TP2压力返回到TP1时,二进制信号A仍处于1(有)状态,只有当压力小于TP1时,二进制信号A才处于0(否)状态,换而言之,该模式的特性是迟滞Hy调正点恰好在TP1点上。该模式的工作压力从切换点SP计算,不限制TP2的上限压力,并允许工作压力下降在TP1前仍然有效 |
||||||||||||||||
|
模式3:区域设定值比较器,具有固定迟滞,2个示范压力 |
作阈值(临界值)比较器。可有两个示范压力TP1、TP2(所设定压力),它的迟滞Hy为固定值,它的工作模式被称Windows窗口式(区域设定),即工作压力在示范压力TP2与TP1区域之间,超过TP2或低于TP1时,二进制信号A都处于0(否)状态。该模式的TP1和TP2都有固定迟滞Hy |
||||||||||||||||
|
主 要 技 术 参 数 |
电子式真空压力开关主要技术参数:电压为15~30VDC,工作压力为-1~+10bar(有些公司工作压力为-1~+30bar),工作温度为0~50℃,工作压力为测量精确度为15%,切换点重复精度为±0.3 |
||||||||||||||||
|
派生型 |
V1 |
D2 |
D10 |
||||||||||||||
|
压力测量范围/bar |
-1~0 |
0~2 |
0~10 |
||||||||||||||
|
机械部分 |
电部分 |
||||||||||||||||
|
气接口 |
一端或两端带快插接头QS-3、QS-4或QS-6 |
工作电压/VDC |
15~30 |
||||||||||||||
|
测量方式 |
压阻式压力开关 |
最大闲置电流/mA |
20 |
||||||||||||||
|
测量的变量 |
相对压力 |
最大输出电流/mA |
100 |
||||||||||||||
|
精确度① |
测量范围终值的±1.5% |
短路保护 |
脉冲型 |
||||||||||||||
|
切换点重复精度 |
测量范围终值的±0.3% |
极性容错 |
用于工作电压 |
||||||||||||||
|
迟滞FS |
2% |
过载保护 |
是 |
||||||||||||||
|
温度系数 |
±0.5%/10K |
开关输出 |
PNP |
||||||||||||||
|
响应时间/ms |
4 |
开关元件功能 |
常开或常闭触点 |
||||||||||||||
|
电连接 |
M8×1插头、3针或2.5m电缆 |
显示方式 |
黄色LED、四周可见 |
||||||||||||||
|
安装方式 |
通过附件 |
CE标志 |
89/336/EEC(EMC) |
||||||||||||||
|
安装位置 |
任意② |
|
|
||||||||||||||
|
① 示范压力和切换压力之间的差 ② 应防止冷凝水在传感器内聚集 |
|||||||||||||||||
|
工 作 和 环 境 条 件 |
派生型 |
V1 |
D2 |
D10 |
|||||||||||||
|
工作介质 |
过滤压缩空气,润滑或未润滑 |
||||||||||||||||
|
压力测量范围/bar |
-1~0 |
0~2 |
0~10 |
||||||||||||||
|
阈值设定范围 |
0~100% |
||||||||||||||||
|
过载压力/bar |
5 |
6 |
15 |
||||||||||||||
|
环境温度/℃ |
0~50 |
0~50 |
0~50 |
||||||||||||||
|
介质温度/℃ |
0~50 |
0~50 |
0~50 |
||||||||||||||
|
耐腐蚀等级CRC |
2 |
2 |
2 |
||||||||||||||
|
防护等级,符合EN60529标准 |
IP40 |
IP40 |
IP40 |
||||||||||||||
|
电子式真空压力开关(带显示屏的数字压力开关) |
工 作 原 理 |
带显示屏的数字式压力开关是利用压敏电阻方式在不同的压力变化时可测得不同的电阻值,并转化为电流的变化,它有PNP或NPN输出(如:1个开x关输出PNP型或NPN型,2个开关输出PNP型或NPN型,1个开关输出PNP型或NPN型和模似量0~10V的输出,2个开关输出PNP型或NPN型和模似量4~20mA的输出)。可有LCD显示(便于操作)及发光LCD显示(便于读取)。有两个压力测量范围:-1~0bar;0~10bar。可进行相对压力和压差的测量。它的配置工作模式与电子式真空压力开关(带指示灯自教模式)相同,工作压力设定调整如图所示,由增加键或减少键调整所需压力 |
|
||||||||||||||
|
主 要 技 术 参 数 |
压力测量范围/bar |
-1~0 |
0~10 |
||||||||||||||
|
机械部分 |
|||||||||||||||||
|
测量方式 |
压阻式压力传感器,带显示 |
||||||||||||||||
|
气接口 |
R1/8,R¼,G1/8或QS-4 |
||||||||||||||||
|
测量的变量 |
相对压力或差压 |
||||||||||||||||
|
精确度 |
测量范围终值的±2% |
||||||||||||||||
|
切换点重复精度 |
0.3% |
||||||||||||||||
|
电连接 |
插头M8×1或M12×1,圆形结构符合EN60947-5-2标准 |
||||||||||||||||
|
安装方式 |
安装在气源处理单元,H型导轨和连接板上 |
||||||||||||||||
|
安装位置 |
任意① |
||||||||||||||||
|
① 应防止冷凝水在传感器内聚集 |
|||||||||||||||||
|
电部分 |
|||||||||||||||||
|
工作电压范围/VDC |
15~30 |
||||||||||||||||
|
最大输出电流/mA |
150 |
||||||||||||||||
|
短路保护 |
脉冲方式 |
||||||||||||||||
|
极性容错 |
所有电连接 |
||||||||||||||||
|
开关输出 |
PNP或NPN |
||||||||||||||||
|
CE标志 |
89/336/EEC(EMC) |
||||||||||||||||
|
工 作 和 环 境 条 件 |
压力测量范围/bar |
-1~0 |
0~10 |
||||||||||||||
|
工作介质 |
过滤压缩空气,润滑或未润滑 |
||||||||||||||||
|
压力测量范围/bar |
-1~0 |
0~10 |
|||||||||||||||
|
阈值设定范围/bar |
-0.998~0.02 |
0.2~9.98 |
|||||||||||||||
|
迟滞设定范围/bar |
-0.9~0 |
0~9 |
|||||||||||||||
|
过载压力/bar |
5 |
20 |
|||||||||||||||
|
环境温度/℃ |
0~50 |
||||||||||||||||
|
介质温度/℃ |
0~50 |
||||||||||||||||
|
耐腐蚀等级CRC |
2 |
||||||||||||||||
|
防护等级,符合EN60529标准 |
IP65 |
||||||||||||||||









