|
比例方向流量阀特性 |
||||
|
(1)比例方向流量阀的基本类型(见下表) |
||||
|
方向流量阀类型 |
(传统)压力补偿型 |
流量检测反馈型 |
||
|
补偿器类型 |
定差减压型进口压力补偿器 |
定差溢流型进口压力补偿器 |
其他 |
流量-压力反馈 流量-力反馈 流量-电反馈 |
|
补偿器名称 |
二通型压力补偿器定差减压阀 |
三通型压力补偿器定差溢流阀 |
||
|
方向流量阀的构成 |
方向节流阀+定差减压阀 |
方向节流阀+定差溢流阀 |
如位移流量压力反馈 |
|
|
特点 |
①耗能;②受液动力、弹簧力影响,补偿偏差较大;③进口压力补偿器不能用于超越负载 |
①泵的出口压力与负载适应,为负载敏感节能型;②受液动力、弹簧力影响,补偿偏差较大;③只能配置于泵的出口;④不能用于超越负载 |
|
①形成阀内部或外部检测闭环;②稳态的动态控制精度都较高 |
|
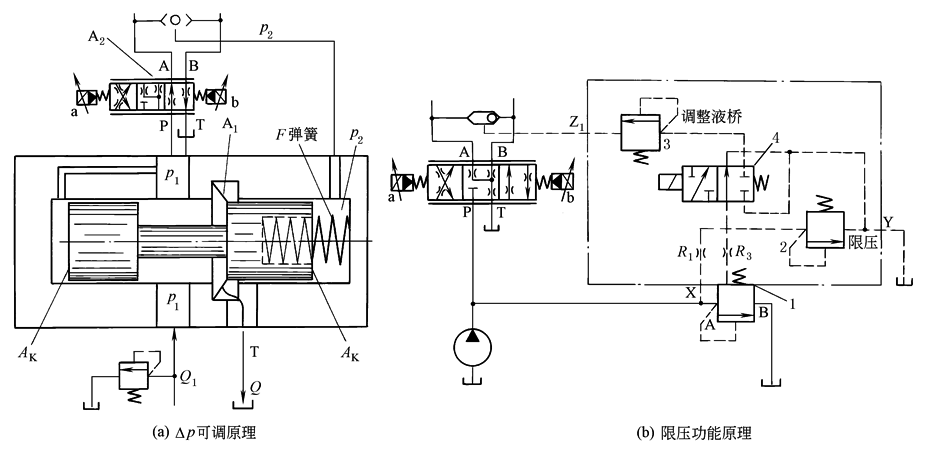
(2)配定差减压型补偿器的方向流量阀特点 图1原理图有3个特点:1)由于是比例方向阀(图a),所以需要用一个梭阀来获取所沟通的油路(P→A或P→B)的压力;2)加入液阻R1、R3(动态阻尼液阻)和RY并从定差减压阀阀口前引入控制油,从而形成B型半桥。这样,调节RY,就可在一定范围内改变定差减压阀的压差,即可在功率域范围内扩大流量范围;3)与图a相似,图b是从节流阀之后引入了固定液阻R1在前、可变液阻RY在后的B型半桥。当系统压力达到RY时,B桥起作用,限定了系统压力
图1 压差可调的定差减压型进口压力补偿器 与单向调速阀一样,配定差减压型补偿器的比例方向流量阀,也是一个定压系统,只有负载压力补偿的作用,没有负载适应的性能 配这种定差减压型进口压力补偿器的方向流量阀,不加附加元件不能用于存在超越负载的系统 (3)配定差溢流型补偿器(三通补偿器)的方向流量阀特点 图2原理图有3个附加功能:节流阀口压差Δp可调,限制系统最高压力,实现电动卸荷。其中电磁阀4实现电动卸荷的功能比较明显。其余两个功能中,应注意区分压力阀2与3的功能,即液阻R1是与阀2还是与阀3构成调节阀口压差的B型半桥。按基本原理,应该是阀3。而当系统压力达到阀2的调定压力时,阀2与主阀1形成系统的限压安全阀 与在单向调速阀中一样,配定差溢流型补偿器的方向流量阀,既起到负载补偿的作用,实际上又具有负载适应的功能 配这种定差溢流型进口压力补偿器的方向流量阀,不加附加元件不能用于存在超越负载的系统
图2 定差溢流型压力补偿器及其附加功能 (4)超越负载的压力补偿 1)配置在进口(相对于比例方向阀而言)P→A或P→B的压力补偿器。这种配置有明显的缺点:在减速制动过程中,特别是当减速制动压力高于由弹簧设定的定差压力时,它不能正常工作(图3a)。作为补偿措施,如图b和c那样,设置制动阀、压力阀等支承装置,以保证进口压力补偿器功能正常,使传动装置平稳制动。当没有这类支承装置时,进口压力补偿器只能限制在负载仅作用在一个方向上的系统使用
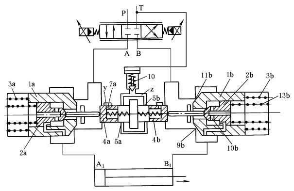
图3 用于超越负载时进口压力补偿器油路的改造 2)出口压力补偿器(图4) 对于有超越负载的系统,采用出口压力补偿器,它配置在比例方向阀与负载之间,保持比例方向节流阀的A(或B)→T阀口的压差为常数。图示为出口单向截止型压力补偿器的油路原理图,现以P→A进油B→T阀口进行补偿为例,加以说明 基本原则:既然不能控制进油(P→A),则设法控制出油(B→T) ① P→A进油后,4a右移,由固定液阻7a与可变液阻5a(移动的活塞4a后端面与孔道5a配合)组成的B型半桥,从而构成流量稳定器,使流经压力阀10的流量不受A腔压力变化影响而保持不变 ② 由于流经限压阀10的流量不变,不论阀10的压力流量特性如何,都能保持pZ为常数
图4 出口压力补偿器 ③ 当主液压缸向右运动时,开始主阀口11b未打开,因为B1腔的高压油作用使1b、2b都压向左边相应阀口 ④ 4b在pZ作用下向右移动,先顶开2b的小阀口。这样,在切断高压油进入1b右腔通路的同时,又使该腔卸压 ⑤ 4b进一步右移,将主阀口(压力补偿口11b)打开 ⑥ 压力补偿口11b的开度明显受到制约:只能使pB=pZ=常数,否则主阀口将重新关闭 ⑦ 既然pB=pZ=常数,则B→T口压差为常数,达到控制出口压差(B→T)的目的 |
||||




