|
电液比例流量控制阀的典型结构及工作原理 |
||||||
|
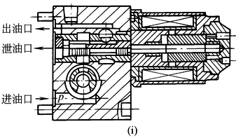
1.普通直动式比例节流阀 |
这种小通径(6或10)比例节流阀,与输入信号成比例的是阀芯的轴向位移,即阀口过流面积中的轴向开度;由于没有压力或其他型式的检测补偿,通过流量受阀进出口压差变化的影响 其基本特点是:(1)采用方向阀阀体的结构型式;(2)配1个比例电磁铁;(3)区分常开与常闭两种模式(图c);(4)常采用倍流量工况(图b) |
|||||
|
2.带阀芯位移电反馈的直动式比例节流阀 |
这种小通径比例节流阀,与前者的主要差别在于配置了阀芯位移电反馈,使阀芯的轴向位移更精确地与输入信号成比例。带集成放大器的比例节流阀(e),将使结构更紧凑,运行可靠性进一步提高。这两种型式的其他特点同前例 |
|||||
|
3.直接作用式电液比例流量阀(二通与三通流量阀) |
这种比例流量阀,仍然采用方向阀式结构,在方向阀式阀体内配置了2根阀芯:一侧是由比例电磁铁直接推动的节流阀阀芯,另一侧为由弹簧支持的压力补偿器阀芯。在结构与性能上具有如下特色:(1)在输入方式上,可以是电液比例的,也可以是手动调节的;(2)原理上可以带阀芯位移电反馈,也可以不带阀芯位移电反馈;(3)在特性上,可以构成电液比例压力补偿型二通流量阀,也可以构成电液比例负载适应型三通流量阀 |
|||||
|
4.先导式力反馈电液比例节流阀 |
这是一种先导式节流阀,其基本特点是:(1)采用主阀芯位移力反馈和级间(主级与先导级之间)动压反馈原理(通过液阻R3);(2)先导控制油路应用B型液压半桥原理(固定液阻R1与可变液阻先导阀口);(3)采用插装式结构;(4)主阀采用非全周阀口形式,以保证主阀芯位移力反馈的实现。原理上,通过主阀芯开口的特殊设计,使主阀芯的轴向位移与输入电信号成比例。由于未进行压力或其他型式的检测补偿反馈,仍属于节流阀层次,所通过的流量还与进出口压差相关 |
|
||||
|
5.直接作用式压力补偿型电液比例二通流量阀 |
由普通定值控制调速阀和比例电磁铁组成,后者取代前者的手动调节部分。比例电磁铁的可动衔铁与推杆连接并控制节流阀芯,由于节流阀芯处于静压平衡,因而操纵力较小。要求节流阀口压力损失小、节流阀芯位移量较大而流量调节范围大,一般采用行程控制型比例电磁铁 当给定某一设定值时,通过比例放大器输入相应的控制电流信号给比例电磁铁,比例电磁铁输出电磁力作用在节流阀芯上,此时节流阀口将保持与输入电流信号成比例的稳定开度。当输入电流信号变化时,节流阀口的开度将随之成比例地变化,由于压差补偿使节流阀口前后的压差维持定值,阀的输出流量与阀口开度成比例,与输入比例电磁铁的控制电流成比例。因此,只要控制输入电流,就可与之成比例地、连续地、远程地控制比例调速阀的输出流量 |
|
||||
|
这种传统压力补偿型比例调速阀,由于液动力等的干扰,存在以下缺点:(1)很大的启动流量超调;(2)为使补偿特性好,体积较大;(3)动态响应不理想等 |
||||||
|
6.电反馈直接作用式压力补偿型电液比例二通流量阀 |
|
1—阀体;2—比例电磁铁;3—节流阀芯; 4—作为压力补偿器的定差减压阀; 5—单向阀;6—电感式位移传感器 |
||||
|
图示为带节流阀芯位置电反馈的比例调速阀。当液流是从B油口流向A油口时,单向阀开启,不起比例流量控制作用。这种比例调速阀与不带位置电反馈的比例调速阀相比,稳态、动态特性都得到明显的改善。但这种阀根据的还是直接作用式的原理,因而对于高压、大流量液流的控制,宜采用先导控制式比例流量阀,即利用先导阀的输出放大作用控制节流主阀,可以实现大流量的稳定控制 |
||||||
|
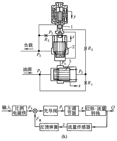
7.带流量位移力反馈的先导式二通型比例流量阀 |
在图k流量阀中,1为先导阀,2为流量传感器,3为主调节器,R1、R2、R3为液阻。其基本工作原理为:流量-位移-力反馈和级间(主级与先导级之间)动压反馈。流量-位移-力反馈的原理如下。当给比例电磁铁输入一定的控制电流时,电磁铁则输出与之近似成比例的电磁力;此电磁力克服先导阀端面上的弹簧力,使先导阀口开启,进而使主调节器控制腔压力从原来等于其进口压力而降低。在此压差作用下,主调节器节流阀口开启,流过该阀口的流量经流量传感器检测后通向负载。流量传感器将所检测的主流量转换为与之成比例的阀芯轴向位移(经设计,流量传感器阀芯的抬起高度,即阀芯的轴向位移,与通过流量传感器的主流量成比例),并通过作用在先导阀端面的反馈弹簧转换为反馈力;当此反馈力与比例电磁铁输出的电磁力相平衡时,则先导阀、主调节器、流量传感器均处于其稳定的阀口开度,比例流量阀输出稳定的流量 这种阀依赖与流量-位移-力反馈闭环配合的级间动压反馈,提高了抗干扰能力和静动态特性。其原理是:为使比例电磁铁能正常运行,必须将流量传感器上腔的油液,引导到先导阀芯与比例电磁铁相接触的容腔,使比例电磁铁动铁和先导阀芯的轴向液压力自动平衡。在先导阀芯两端相连接的油路上,设置液阻R3,就可构成级间动压反馈。当流量传感器处于稳定 |
|
||||
|
状态时,先导阀两端油压相等。当有干扰出现,例如,当负载压力p3增大,破坏了流量传感器原本稳定平衡状态,使流量传感器有关小阀口的运动趋势时,其上腔压力随流量减小而相应地降低,引起先导阀芯两端压力失衡。这时,先导阀芯出现一个附加的向下作用力,使先导阀口开大,进而降低主调节器上腔压力,使先导阀阀口向开大的方向适应,从而使通过的主流量增大,直至主流量以及反映流量值的流量传感器阀口开度恢复到与输入电信号相一致的稳定值。级间动压反馈具有以下特点:(1)反馈力的大小,与受干扰影响的传感器阀芯运动速度成比例;(2)反馈一定是负反馈;(3)反馈力直接作用在先导阀芯上,相当于一个附加的输入。这些特点,使得级间动压反馈的作用与干扰强度相适应且直接而强烈。可见,由于这种阀形成了流量-位移-力反馈自动控制闭环,并将主调节器等都包容在反馈环路中,作用在闭环各环节上的外干扰(如负载变化、液动力等的影响)可得到有效的补偿和抑制,加上级间动压反馈,这种阀的稳态特性和动态特性都较好。如果将流量传感器和调节器并联配置,可得流量-位移-力反馈三通比例流量阀,这种阀用于调速系统可获得高的系统效率 |
||||||
|
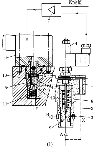
8.带主阀芯位移电反馈先导式二通插装型电液比例节流阀 |
图l为带位移电反馈先导控制式二通插装型比例节流阀。这种节流阀是一种按标准配置插孔尺寸的插装组件,在控制盖板1上装有带主阀芯3和位移传感器4的阀套2,以及与比例电磁铁6在一起的先导控制阀。主阀为可调单控制边节流阀,先导控制阀为两控制边滑阀。液流方向从A到B,先导控制油可按需要采用内供或外供。前者是将先导控制油口X与主油路油口A相连,先导控制油的回油口Y应尽可能无背压地与油箱相连 在设定值为零,即比例电磁铁6不输入控制电流时,由油口A处引来的压力油经控制油路X和先导控制阀10,进入主阀芯上弹簧腔8,主阀3在液压力和弹簧力作用下关闭节流阀口9 当给定一个设定值后,在比例放大器7中将设定值和位移传感器实测反馈的实际值相比较,按其差值相应的电流信号控制比例电磁铁6。电磁铁输出电磁力克服弹簧11的作用力,推动先导控制阀芯10移动。通过其控制节流口12、13的共同作用,使主阀芯弹簧腔8的压力得到调节,进而使主阀芯3的位置被调节。主阀芯3的调节行程或位移,与输入设定值或比例电磁铁输入控制电流近似成正比,而其输出流量,在节流阀前后压力差恒定时,只取决于阀口9的几何形状和开度。当比例电磁铁6失电或电缆线断开时,则阀自动关闭 这种阀既可作为大流量比例节流阀,也可与压力补偿器组合成比例调速阀使用。既可使用矿物油基液压油,也可使用乳化液、水乙二醇。这种阀适用于冶金机械、金属压力加工机械及塑料加工机械等液压系统的大流量控制 |
|
||||












